编者的话
为满足广大读者的要求,本刊决定从本期起开辟“电路集锦”栏目。其宗旨是介绍各种新颖的有实用价值的电路,如各种基本电路以及开关、控制、保护和报警电路等。希望广大读者喜欢、支持这个栏目并踊跃投稿。本栏文章力争简短,绘图要清楚,每篇文章三、五百字(连图)为宜,可以是自行设计经实践证明效果良好的电路,也可编译图外有关部分的精品。请多提宝贵意见。
晶体时基振荡器
这一设计在数字设备及微机系统中很有用,只需74HCU04的1/6和几个元件。需要注意的是不能换用74HC04和74HCT04,因为它们均加有输出缓冲级,不宜作线性应用。当晶体频率大于4MHz时,应将R\(_{2}\)换成一个33pF的电容。

单按钮双稳态开关
这个单按钮控制的双稳态开关电路用途很广,用它可将任何开关改成轻触式的。每个开关只使用六施密特反相器40106的1/3。开始N\(_{1}\)输出低电平,N2输出高电平,C\(_{1}\)放电。按下AN后,N1输入为低电平,双稳翻转,同时,C\(_{1}\)经R1充电。下次再按AN时,C\(_{1}\)令N1输入为高电平,双稳再次翻转。

延长电池使用时间的开关稳压电源
许多便携式仪器、设备,由于使用数字集成电路,除12V电源外,还需5V电源。传统的做法是用三端固定线性稳压块7805等降压获得,但从12V或更高电压的电池上得到大电流的5V低压,效率很低,极不经济,缩短了电池的使用时间。专用的开关稳压电源效率虽高,但价格昂贵。附图所示的开关稳压电源高效(80%)、价廉、无线圈和变压器,可向负载提供1A的电流。

六施密特反相器中的U\(_{1}\)与R1、C\(_{1}\)组成6.5kHz的振荡器,经U2~U\(_{5}\)缓冲后驱动Q1~Q\(_{4}\)。当U2~U\(_{5}\)为低电平时,Q1、Q\(_{4}\)导通,Q2、Q\(_{3}\)截止,C2、C\(_{3}\)串联并各充电至一半的电池电压。当Q1、Q\(_{4}\)截止,Q2、Q\(_{3}\) 导通时,C2、C\(_{3}\)并联,其结果是电压降了一半,电流增大了一倍。U0控制Q\(_{5}\)的开关,当电池电压低于11.8V时切断电流。串用D1是为了抵消Q\(_{5}\)的eb间的压降,U6、 Q\(_{5}\)、D1、R\(_{2}\)等也可不用。Q1~Q\(_{5}\)最好选用高β,低饱合压降的2N6714或2N6726等管子。
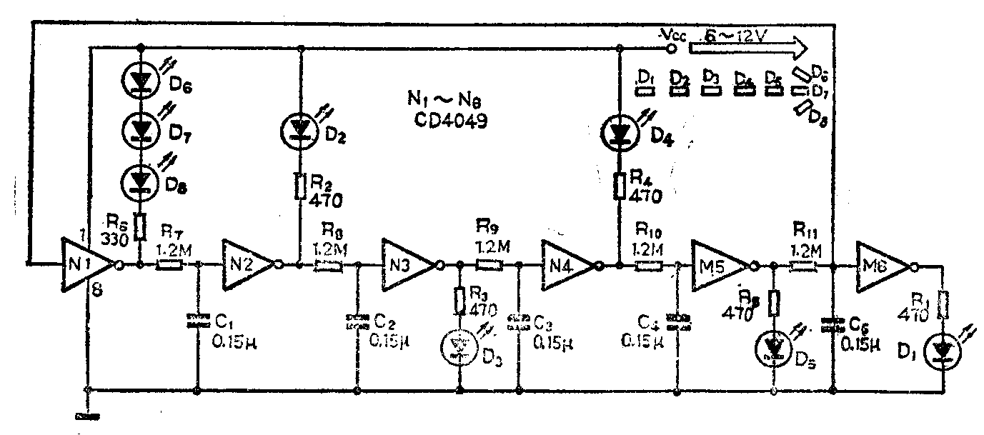
指路灯电路
在很多公共场合,为使人们走到目的地而不至迷路,指路灯是很必要的,其中最佳的选择是一个由顺序闪动的LED组成的箭头。该电路以CMOS六反相器4049(高输出型)为核心,每个反向器的输出信号均经一个RC网络延时后去触发下一个反相器,构成一个移相式环形振荡器。电路总耗电约50mA。(以上均为谛恩编译)
