本文介绍的EPROM编程卡,以PC-81微机为主机,可将RAM中的信息固化于EPROM中,也可用于复制EPROM。
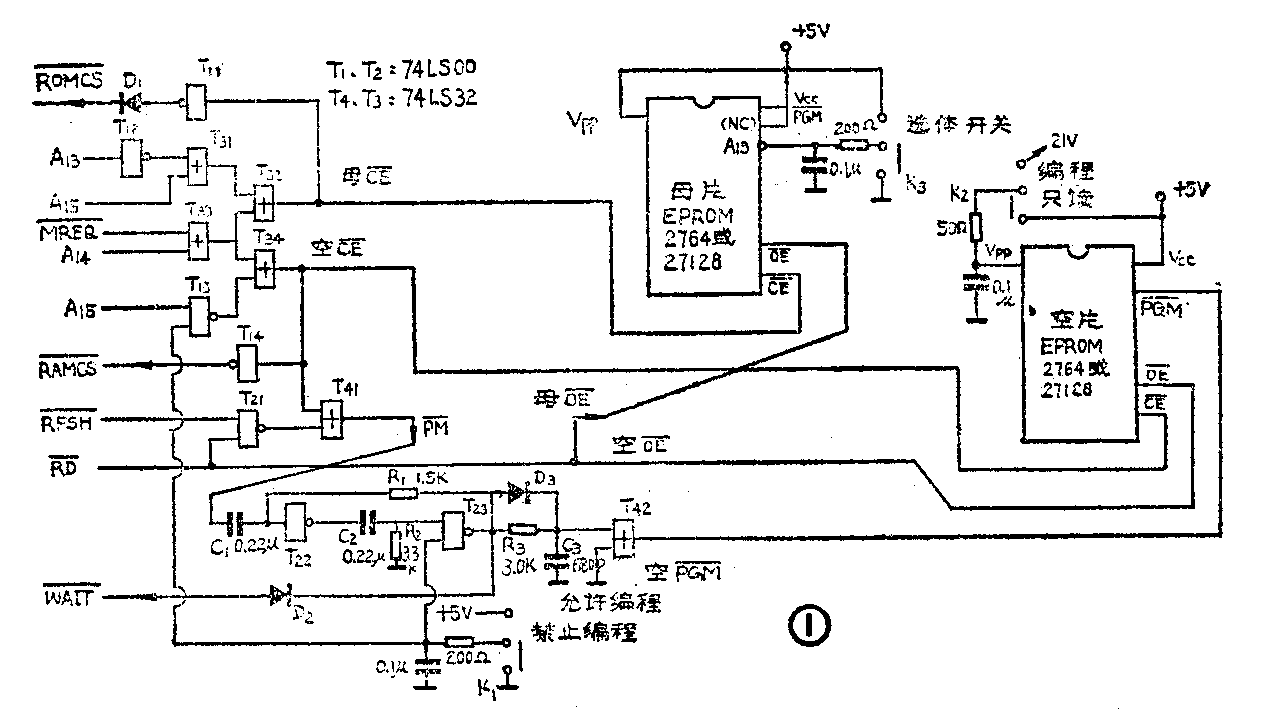
EPROM 2764、27128有3个重要的控制端:CE-、OE-及PGM-。进行EPROM读出操作时,CE-=0、OE-=0、PGM-=1,并给出地址就可读出该地址的数据;写入(编程)时, CE-=0、OE-=1、PGM-=0,并需要在V\(_{pp}\)端加上21V或12.5V(注意器件标注!)编程电位。EPROM写入时,只能由1写0,因此写入前须经紫外线擦除。
图1是本编程卡电路原理图。图中与非门T\(_{22}\)、T23和R\(_{1}\)、C1、R\(_{2}\)、C2构成单稳态触发器,它产生1ms定宽的WAIT-信号。R\(_{3}\)、C3及D\(_{3}\)构成负沿延迟电路,T42用作缓冲整形,用来产生延迟于WAIT-负沿1.2μs的PGM-信号送到空白EPROM的PGM-端。单稳态触发器受PM 信号控制,当且仅当CPU写8000H~BFFFH空白EPROM空间时,才产生PM-=0信号以触发单稳态触发器产生1ms定宽WAIT-信号。EPROM经45次1ms写入比1次45ms写入来得安全。

图2是内存分配图。附表是编程软件源程序,它是改进的EPROM编程软件,不是机械地将母片数据写入空片,而是根据二者的现行状态,将母片数据经过交换后写入EPROM,以防止“过写入”,延长EPROM寿命。

附表源程序中的LD(有空格\(_{8}\)(DE),A语句在8000H≤DE≤BFFFH时,由硬件产生WAIT-信号,使执行时间长到1ms。其后的4条语句的作用是:①每次产生WAIT-信号后补足64个取指周期,以维持DRAM的刷新(如用了DRAM);②产生约0.2ms的延迟时间,使单稳态触发器有足够的恢复时间。

对于没有加装汇编语言的PC-81机,只需将附表中的机器码用POkE语句放入内存即可。调用该程序前一定要处理好“区间长度”、“空白开头”及“母片开头”的高(低)字节,切勿弄错,然后加上V\(_{pp}\)电压。编程完毕后先取下Vpp电压, 再用PEEk语句检查。对于加装了汇编语言的PC-81机,只需将编程源程序汇编程序存入,汇编正确后,返回监控或BASIC状态,即可进行调用。
请注意,在开机启动PC-81前,应将开关K\(_{1}\)置于“禁止编程”、K2置于“只读”位置,以防写入不需要的信息。
本编程卡电路简单,只需2片74LS00、 2片74LS32及一些外围元器件,编程速度快,写满27128只需34秒(V\(_{pp}\)=23V时,Vpp降低时耗时增加);写片正确率高达100%,且芯片完好率高。 (张曹勇)