MZ-731型个人计算机的BASIC解释程序未固化在机内,从磁带机(录音机)调入内存需要3分多钟,给使用者带来了不便。下面介绍的方法在开机后打入“T”(附加)命令即可进入BASIC状态。
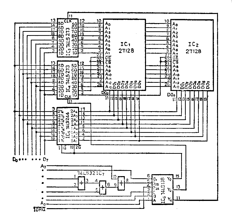
附加电路的原理图见附图。27kB的BASIC解释程序固化在两片27128 EPROM(或一片27256 EPROM)中,74LS32(IC\(_{7}\),4二输入端或门)和74LS138(IC6,3线—8线译码器)构成外设口地址译码器,用来选通高、低位地址开关IC\(_{3}\) (74LS273,8D触发器)、IC4 和数据缓冲器IC\(_{5}\)(74LS244,8反相缓冲器),它们的口地址分别为42H、44H和40H。

工作时,主机把IC\(_{1}\)、IC2 EPROM作为外设处理,先通过发42H、44H口地址信息选通地址开关IC\(_{3}\)和IC4,然后输出地址信息;地址信息出现在IC\(_{3}\)、IC4的输出端并保持,这样两片EPROM就有了地址信息;主机发40H口地址信息选通数据缓冲器IC\(_{5}\),然后读入EPROM的数据。故每读1个数据要进行两次口输出(地址)和1次口读入(数据)。因为计算机执行速度很快,故打入T命令后1、2秒即可进入BA-SIC状态。整个电路装在一块双面印制电路板上,再与总线连接。
为增加T命令,需在原机监控命令识别部分加入T命令识别,增加如附表的T命令执行程序。 (侯雪英)
