PC-81微电脑只有2k(RAM),这使该机在微电子游戏和解决实际计算问题方面受到很大的限制。为此,本文介绍一种用8×8kB静态随机存贮器(RAM)6264,给PC-81微电脑增加RAM容量的方法。该方法利用了主机线路板上的空位,将8kRAM直接装在主机壳内。这样不仅使用方便,而且可将主机扩展口留给I/O,PC-81具备应用机器码,只要配制适当的1/O接口就可提供各种控制信号。该方法也可直接用于PC-8300型微电脑。
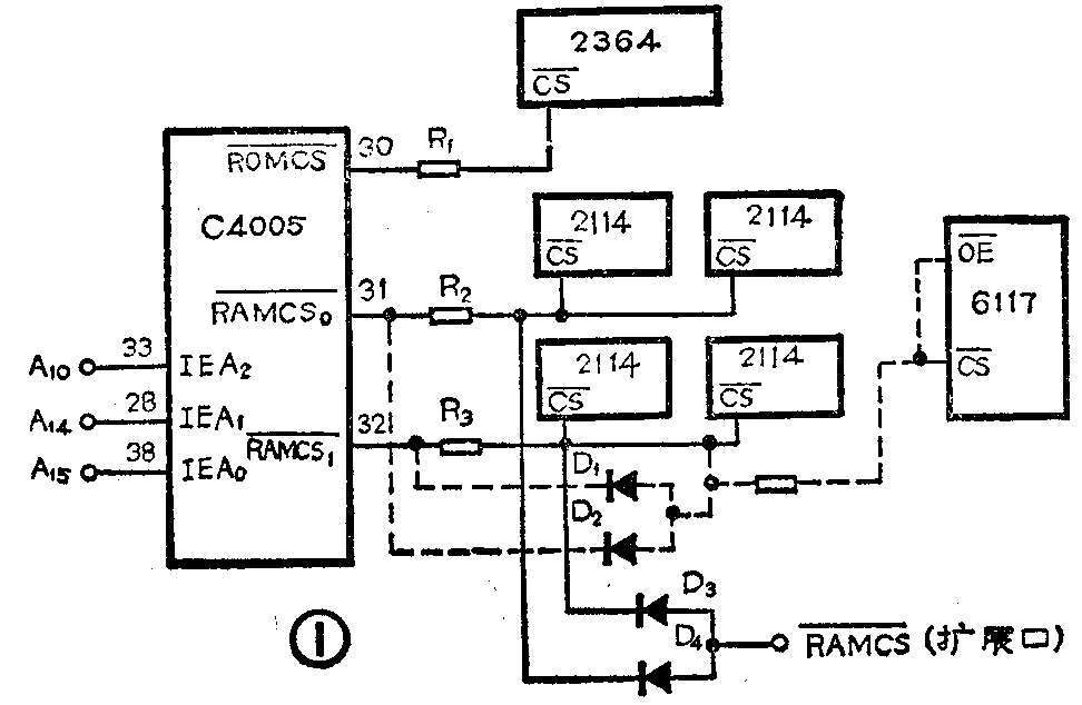
PC-81的地址分配是通过接口芯片C4005实现的,见图1。它有三个地址输入端IEA\(_{0}\)、IEA1和IEA\(_{2}\)(38、28、33脚)。它们分别接在地址线A10\(_{14}\)15上。它还有三个对外选片端ROMCS-(30脚)、RAMCS′\(_{0}\)-(31脚)和RAMCS1-(32脚)。它们分别接在2364的片选端和两对2114的片选端上。其中2364为只读存储器(ROM),它里面装有8kBASIC解释程序。两对2114各组成1k随机存储器(RAM)。

当C4005的地址输入端IEA\(_{0}\)、IEA1输入低电平时(即A\(_{15}\)14为0),它的ROMCS-端有效,2364被选中。这时无论IEA2输入低或是高电平均不会对选片产生影响。从这里可以看出,2364的地址是从0000 0000 0000 0000到0001 11111 1111 1111 换算成十进制则为0到8191。当地址输入端IEA\(_{1}\)输入高电平时,ROMCS-选片端立即无效。这时是RAMCS0-还是RAMCS\(_{1}\)-有效则取决于IEA2的输入状态。如果IEA\(_{2}\)为低,则RAMCS0-有效;为高,则RAMCS\(_{1}\)-有效。这两个选片端各选中由一对2114组成的8×1kRAM。所以,2kRAM的地址是从0100, 0000,0000,0000到0100,0111,1111,11ll换算成十进制则为16384到18431。以上是PC-81存储地址的分配情况。必须注意的是,要使C4005的地址片选有效,还必须给它提供MR-EQ-信号。
从电路上的分析可知,PC-81是采取的部分地址译码,也就是说它总会使某一部分的地址重叠。这样,存储器的扩展只能成倍进行,即4k、8k、16k。
在PC-81的主机线路板上,有一个24脚存储芯片6117(或6116)的空位。6117为8×2k静态RAM存储器。PC-81上的6117空位并不是为扩展RAM容量留下的,它是生产厂家为在RAM存储芯片的选用上留有余地而设置的。它的选片地址和由4片2114组成的2k存储器的选片地址完全一致,见图1虚线部分。由二极管D\(_{1}\)、D2组成的二输入端与门的输出与6117的选片端相连,两个输入端则接在RAMCS\(_{0}\)-和RAMCS1-上。这样,在RAMCS\(_{0}\)-或RAMCS1-中任意一个为低电平时,6117都被选通。这样,用一片6117就可取代4片2114。我正好可以利用这部分电路,给PC-81装上8kRAM存储器。
图2为8k存储芯片6264和6117的引脚图。从图中可以看出,它们的脚位在右半部分是完全一致的。因此,要只在一块很小的线路板上调整一下,就可在6117的空位上装上一片6264。图3是6264与主机电路的连接图,它的选片方式和6117的选片方式一样,只是它比6117多接了两根地址线A\(_{11}\)12,只要它被选中,它就有8k存储供主机选用。图4为扩充板的印刷电路图(1:1)。



扩充板的安装方法如下:
先将6264和10k电阻及电容在扩充板上焊好,电容只是起抗干扰作用。用适当长度的细软线将A\(_{11}\)12和CS-引出。将扩充板与主机板6117空位对应的位置上用镀银线焊出引脚,然后将引脚插主机板上6117空位焊好,其安装方位见图5。将从扩充板上引出的细软线A\(_{11}\)12和CS-与主机板对应的位置接好。这时4片2114均应处于无效状态,如果方便应将其全部取下。如果不便取下,则应将扩展口的RAMCS-端(即二极管D\(_{3}\)、D4的正极)接高电平,同时取下电阻R\(_{2}\)、R3,见图1、图5。一般情况下,主机板上D\(_{1}\)、D2的位置都是空的,所以这时应该补上,用普通开关二极管即可,扩充板的选片线CS-应接到D\(_{1}\)、D2的正极。
焊好后,可接通计算机,打入: PRINT PEEK16388+256*PEEK16389按下ENTER键后,显示屏上显示出24576则表明8kRAM都正常。

如果想扩充16kRAM,只需要另加一片6264,并将主机电路作一点小改动即可。 (周东进)