本人设计了一种停电自锁插座,可以避免停电后忘记关断电源,以致又恢复供电时损坏电器设备。
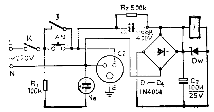
电路工作原理如下:见附图,闭合电源开关K,此时氖泡作为电源指示器用。尽管电网有电,但插座CZ中却是无电的,按下按钮开关AN,电流通过C\(_{1}\)、D1~D\(_{4}\)、C2、D\(_{W}\),使得继电器J吸合,J触点吸合后自保,此时尽管AN已经松开,CZ中仍有电流通过,用电器插在CZ中便可工作。一旦电网停电,继电器J失电而释放。如果再次复电,尽管电源开关K是闭合的,氖泡Ne也是点亮的,CZ中也无电流通过,故能保证用电设备的安全,也起到了节电作用。 (陈国华)
