简单工作原理
输入端②在电路内部电源控制下稳压于6.5伏左右,这时共模输入端在传感元件Rx的变化范围内,当端对地的电压高于4~4.5伏时,触发电路将按电源频率输出脉冲,开通可控硅元件BCR;而当端对地电压变化到小于4~4.5伏时,触发电路闭锁,达到控制目的。控制端的灵敏度可达6毫伏。
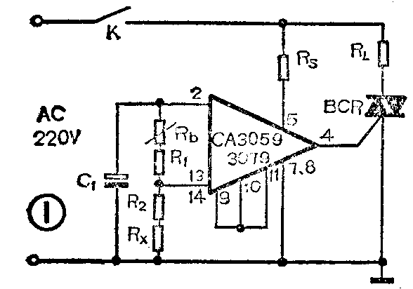
外围元件选择
电源降压电阻Rs选择功率为2W、10kΩ的两只串联。R\(_{b}\)为调整电阻。Rx为光敏电阻、负温度系数热敏电阻或其他传感器电阻,阻值变化在2k~100kΩ之间。Rb与Rx的阻值之比应为0.3~3.0,可以通过并联或串联R\(_{1}\)、R2等方法获得最佳配合与线性要求。C\(_{1}\)为内部电源滤波电容,采用10V100μF的,但其使用工作温度应为105℃或85℃等级的。双向可控硅使用400V/6A以下,如加散热片实际控制功率可超过800瓦。

CA3059和CA3079为双列直插式14脚塑料封装;CA3079H为薄片结构。
这两种电路由于直接使用于220代交流电源,省去了电源变压器,整流滤波等元件,使成本下降,体积缩小,因而特别适合于多点控制温度的自动生产线设备。控温范围在100~250℃,控温精度约±15%。
IC极限参数(在T\(_{A}\)=25℃时最大绝对值)见附表。

从电路结构(图3)和极限参数表可见:CA3059比CA3079增加了保护电路和外部触发、禁止电路,适用范围和工作电压的动态范围均有所增加。(陈训源)


