彩色电视机所用的彩色显象管,在它的电子枪和荧光屏之间装有特殊钢材制成的栅网。这个栅网能使电子束正好各自击中荧光屏上对应的荧光点。彩电在使用过程中容易受到地磁或其它磁场的影响,使显象管的栅网着磁。这就影响电子束的正常入射轨迹,使电子束的强弱不能随着视频信号而正常变化,造成图象色彩的失真,严重时无法再现彩色图象。为了防止上述现象的发生,彩色电视机内都设置自动消磁电路,这种电路通常使用具有正温度特性(PTC)和负温度特性(NTC)的热敏电阻作控制元件,利用其温度与电阻的变化特性,控制消磁电路中的电流而完成消磁。以下对自动消磁电路有关问题作一介绍。
1.热敏电阻:这是一种电阻值随温度变化而变化的敏感元件。电阻值随温度升高而增大的称正温度特性热敏电阻;电阻值随温度上升而减小的称负温度特性热敏电阻。构成热敏电阻的基本材料是钛酸钡半导体陶瓷。目前国内常见的彩电消磁用的型号为MZ72。这个型号共有三个品种,其外型尺寸如图1所示。

近年来,我国引进百余条彩电生产线,生产出许多型号的彩色电视机。为了爱好者或修理人员的方便,现把国外一些机型和国产机使用的热敏电阻对照如表所示,供大家参考。

2.消磁电路实例:
一般的彩电消磁电路多采用单支钛酸钡陶瓷半导体元件作成的热敏电阻与消磁线圈串联接在交流电源回路里。其电路如图2所示。

在静态常温条件下PTC阻抗低,约为10~40Ω,当电源接通的瞬间10~20安培大电流迅速流过回路,使消磁线圈L产生强磁场。由于PTC是个温度敏感元件,大电流流过时其温度上升,同时自身电阻也增大,这又促使回路电流减小。当PTC达到自身的热平衡温度以后,回路电流也从极大值变为极小值,并使回路电流维持在极小值(10mA左右)。整个过程是在电流激增与激减的瞬间完成,这个电流在消磁线圈中产生一个相当强而瞬间衰减的交变磁场,使显象管中被磁化的部件(如栅网)很快退磁,即达到自动消磁的目的。
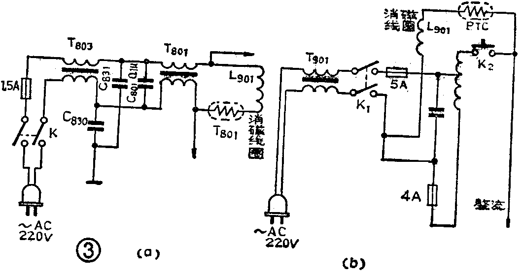
以上介绍的彩色电视机消磁电路,元件少、电路简单可靠,目前许多彩电都采用这种电路,如:北京牌、长城牌和部分国外产品如日立牌等彩色电视机都采用此种电路,参看图3所示。图3(a)是北京牌和长城牌彩电应用PTC元件的自动消磁电路;图3(b)为日立牌彩电自动消磁电路。

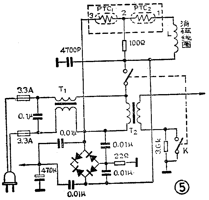
采用单只PTC元件组成的彩电自动消磁电路,存在着消磁周期长和剩余电流稍大的缺点。为了克服这个缺点而采用两只PTC元件串联的消磁电路,其中并联线性电阻分流,如图4所示。这种电路选用两种不同居里温度的正温度特性PTC材料同装在一个外壳内,为的是获得良好的热结合,中间接入线性电阻来调节二个PTC材料最佳热配合温度。

上面电路工作过程是,电源接通时电流流过PTC\(_{1}\) 和PTC2,由于电阻R的分流作用使得流过PTC\(_{2}\)的电流稍滞后于PTC1,这样PTC\(_{1}\)首先升温而也给PTC2提供了预热温度,这样使得PTC\(_{2}\)的温升更快,因此大大缩短了温升时间亦即大大缩短了消磁时间。实际电路如图5所示,该电路为东芝牌某型号彩电用消磁电路。 (张嘉森)
