目前录象机、摄象机、激光电视唱机以及家用电子计算机等电器产品已逐渐进入家庭。这些电器产品都需要一个显示终端,但不可能每种产品各配备一个终端,这样既不经济又很占地方。而多功能彩色电视机具备了一机多用的功能,它不仅可作电视接收机,而且能作录象机、摄象机、激光电视唱机的监视器,以及电子计算机的显示器。
多功能彩色电视机的信号通道和扫描通道等,电路与普通彩色电视机基本一样,这里不再赘述。现以德律风根22英寸6016型多功能彩色电视机为例,对它的多功能控制电路进行分析。
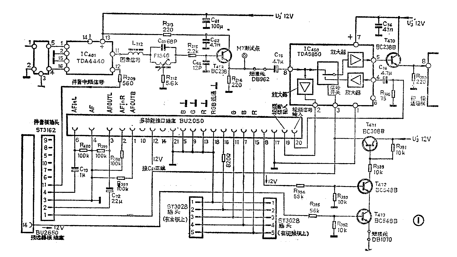
德律风根6016型彩色电视机的多功能控制电路如图1所示。它是在普通机的图象信号输出级T\(_{452}\)与视频通道之间增加的一部分电路。首先把控制电路的主要组成部分的作用作一简介。

①集成块IC\(_{45}\)0(TDA5850)。从图1看出它是加在图象信号进入视频通道之前,起转换开关作用。改变它各脚的直流工作电压来选择开关的工作状态,决定整机是作电视接收机或监视器,还是作显示器。
②晶体管T\(_{471}\)、T472和T\(_{473}\)。控制这3个管子的工作状态,实现集成块IC450信号开关位置的变化。
③ 21芯多功能电视接口插件。分插头和插座BU2050两部分,插座装在电视机主机芯板上,插头(机外附件)通过电缆与外部设备(如录象机、计算机等)的输出或输入端连接。外部的三基色R、G、B信号、图象信号、伴音信号以及12伏电源都从这里加入。
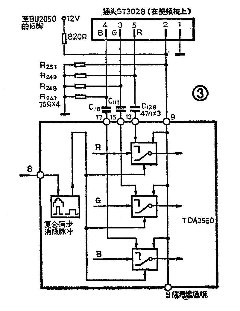
④插头ST3028。通过它把三基色R、G、B信号加到解码块TDA3560的信号选通级。该插头在主机芯板和视频板上各装一个。
下面对该机作电视接收机、监视器和显示器时,控制电路的工作情况进行分析。
1.作电视接收机:作电视接收机用时,21芯多功能接口插头不插入插座,这样插座BU2050的8脚不加对地电压。从图1看出,T\(_{472}\)因基极电位为0而截止,同时使三极管T471也截止,它的集电极电位等于0,所以IC\(_{45}\)0的3脚电位也为0。这样IC450内部的信号开关维持原始状态,即放大器与8脚接通而与3脚断开。这样从中放集成电路IC\(_{4}\)01的11脚输出的图象信号,经中频滤波线圈L712和由F1846、C\(_{63}\)、R212组成的伴音陷波电路,加到T\(_{452}\)管的基极。由它的发射极输出的图象信号经C75从IC\(_{45}\)0的8脚输入,经内部信号开关加到放大器,经放大后的图象信号从5脚输出,经隔离管T470后从视频板的8脚加到视频通道。
伴音中频信号从中放集成块IC\(_{4}\)01的12脚输出,经伴音板插头ST3162和插座BU2162的11脚,加到伴音电路的陶瓷滤波器F1847(请看图2)。滤波器的带宽约为180kHz,滤除图象信号和6.5MHz的谐波分量。通过滤波器的伴音中频信号由伴音集成块IC411的14脚输入,加到伴音中放集成电路的放大器。

如果录象机用这种电视机录制电视节目,可将录象机的视频输入端与21芯多功能插座BU2050的19脚和17脚(接地)相接,再将录象机的音频输入端与BU2050的3脚和4脚(接地)相接。从图1看出从IC\(_{45}\)0的2脚输出的图象信号,经插座BU2050的19脚加到录象机的视频输入端。从图1和图2看出伴音集成块IC411的调频解调器输出的音频信号,从12脚输出经插座BU2162的2脚和插头ST3162的2脚及电容器C\(_{72}\)和21芯插座BU2050的3脚,加到录象机的音频输入端。同样从3脚可取出音频信号作音响设备的外接声源。
2.作监视器:该机作监视器时,要切断图象中放通道和视放通道及伴音通道的连接,使录象机、激光电视唱机等视频设备来的视、音频信号直接加到视放通道和伴音通道。从图1看出当IC\(_{45}\)0中的信号开关动作,切断它内部放大器与8脚的连接而与3脚接通时,就可达到上述目的。由上介绍知改变三极管T471、T\(_{472}\)和T473的工作状态来控制IC\(_{45}\)0中信号开关位置。3个管子的工作状态由两路电压控制,一路是通过插上21芯插头后得到。因插头的8脚和12脚短接,而插座BU2050的12脚接主板上12V电源,所以12V电压通BU2050的8脚和R394加到T\(_{472}\)管的基极,使它的基极电位约为0.6V另一路是按下预选器的第8个按键,12V电压从预选器插座BU2650的14脚给出,再经R395加到T\(_{473}\)管的基极,使它的基极电位由0V上升到0.6V而导通。与此同时T472管因发射极电位由1.5V下降到0.06V而导通,则集电极电位从12V下降到0.1V左右。此时T\(_{471}\)管因基极电位由12V下降到11.4V而饱和导通,则它的集电极电位由0V上升到12V。与T471管集电极相接的IC\(_{45}\)0的3脚电位也由0V上升为12V,使IC450内部信号开关动作,则放大器与3脚相接而断开与8脚的连接,显然断开了图象中放通道与视放通道的连接。
由于IC\(_{45}\)0的3脚与伴音板插头ST3162和插座BU2162的1三脚相连,则IC450的3脚电压通过ST3162和BU2162加到伴音电路中三极管T\(_{451}\)的基极,T451管因基极电位上升而饱和,则它的集电极电位下降到0.65V左右。由于T\(_{451}\)的集电极和伴音中放集成块IC411的2脚及二极管D\(_{5}\)01正极相连,二极管D501导通使IC\(_{411}\)处于消噪状态而使伴音中放电路停止工作。显然图象通道被切断的同时伴音通道也被切断了。
外接视频信号从21芯插座的20脚和17脚(接地)加入,经C\(_{76}\)从IC450的4脚输入经内部信号开关和两级放大后从5脚输出,再经隔离管T\(_{47}\)0后加到视频通道。外接音频信号从21芯插座的6脚和4脚(接地)加入,经C73加到插头ST3162的4脚,从图2看出音频信号经插座BU2162的4脚及R\(_{218}\)和C78从伴音集成块IC\(_{411}\)的3脚输入,加到音量控制放大器,放大后的音频信号从8脚输出送到伴音低放电路中去。
3.作显示器:同作监视器一样,插上21芯多功能插头并按下预选器第8个按键后,就切断了图象中放通道与视频和伴音通道的连接,其控制过程一样,不再讲述。只是在作显示器时还要把21芯插座上16脚和12脚短接。从图1和图3看出12V电压经820Ω电阻,从解码块TDA3560的9脚输入到信号选通级的控制端。当9脚的电位高于0.9V时,选通级就切断了机内R、G、B三基色信号通路,而转换成外接R、G、B三基色信号状态。一般R、G、B信号中不带同步信号,必须外加复合同步信号(计算机一般都有同步信号输出,从插座BU2050的20脚加入),电视机才能正常工作。
从图1看出视频设备输出的R、 G、 B三基色信号,从21芯插座BU2050的11、7和15脚输入,分别通过插头ST3028的3、4和5脚及C\(_{117}\)、C118和C\(_{128}\)(请看图3)后,从解码块TDA3560的15、17和13脚输入,分别加到信号选通级的另3个输入端。音频信号输入方式与上述作监视器使用时相同。 (储美英)
