数字装置中常常需要能把数码寄存起来或对数码行计数的部件,它们就是数码寄存器和数码计数器。这两种部件都是用触发器和门电路组合成的。
寄存器
能够把二进制数码和运算结果存储起来的部件叫数码寄存器,简称寄存器。我们知道,每一个触发器可以存储1位二进制数码。因此,如果需要存储4位二进制数码时,只要把4个触发器并联起来就可以组成1个4位二进制数码寄存器,它能接收和存储4位二进制数码。图1是用4个D触发器组成的寄存器。4个触发器的CP端并接在一起成为它的控制端,需要存储的数码加到触发器的D输入端。我们已经知道D触发器的性能是:(1)CP=0时,触发器保持原态不变:Q\(_{n+1}\)=Qn;(2)CP=1时,触发器的状态就是输入D的状态:Q\(_{n+1}\)=Dn。可见D触发器只有在CP=1时才能接收和存储数码,所以CP被称为“接收命令”脉冲。另外,4个触发器的R-\(_{D}\)端并接成1个端子,如果在这个端子上加上负脉冲,可以把所有的触发器都置成0态。这个过程我们称为“清零”,这个端子也就被称为“清0”端或“置0”端。

现在让我们来看看它是怎样把数码存储起来的。假定现在要存储的二进制数是1101,它们被分别加到触发器的D输入端,如图1。当接收命令脉冲CP到来后,由于D触发器的性能是在CP=1时,Q\(_{n+1}\)=Dn,所以在CP脉冲的上升沿之后,4个触发器的状态从高位到低位被分别置成1101。只要不出现清0脉冲或新的接收命令脉冲和数码,寄存器将一直保持这个状态。也就是说,输入的二进制数码1101被存储到这个寄存器里了。如果想从寄存器中取出这个数码,从寄存器的各个Q端就可以得到它。
移位寄存器
数字电路中常常要进行加减乘除运算。加法和减法运算通常是用加法器和减法器完成的,而乘除运算则是用移位以后再加减的方法完成的。另外,数字信号在传送时,有时是将数码一位一位按顺序传送的,这种传送方式叫串行传送;有时是将几位数码同时传送,即并行传送的方式。因此,对于寄存器,除了要求它能接收、存储和传送数码之外,有时还要求它把数码进行移位。这种寄存器我们称为移位寄存器。
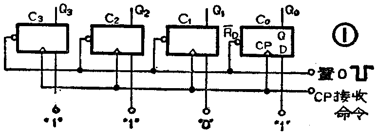
图2(a)是一个能把数码逐位左移的寄存器。它能在CP脉冲控制下,每米1个CP脉冲,使寄存器中存储的数码向左移动1位。它是由4个D触发器组成的,需要移位的信号加在最低位触发器的D输入端。然后按次序把低位触发器的Q端接到相邻的高位触发器的D输入端上。它和一般的寄存器一样,也有1个置0端,但为了使电路更简明清晰,我们通常是省略不画的。

现在我们来看看它是怎样把数码逐位移动的。假定先从置0端输入1个负脉冲,把寄存器清0,使它成为0000的状态。假定要输入和移位的数码是1101,见波形图图2(b)。从波形图看到:(1)第1个CP来到前,4个触发器的输入端分别是:D\(_{0}\)=1,D1=Q\(_{0}\)=0,D2=Q\(_{1}\)=0,D3=Q\(_{2}\)=0。第1个CP来到后,在CP上升沿之后,触发器C0翻转成1态,即Q\(_{0}\)=1,而触发器C1、C\(_{2}\)、C3则保持0态不变,即Q\(_{1}\)=Q2=Q\(_{3}\)=0,整个寄存器的状态是0001。(2)第2个CP来到前,D0=1,D\(_{1}\)=Q0=1,D\(_{2}\)=Q1=0,D\(_{3}\)=Q2=0。第2个CP到来后,触发器C\(_{0}\)和D1被置成1,C\(_{2}\)和C3则保持0态,整个寄存器成为0011状态。以此类推,当第4个CP来到后,整个寄存器的状态将成为1101。可见通过CP的控制,在4个CP之后,输入信号1101经过4次移位后被移到这个寄存器中。或者说1个串行输入信号经4次移位后被移到这个寄存器中。如果这时从这个寄存器的O端取信号,得到的是1个并行的4位二进制数码。可见,原来串行输入的二进制数码已被转换成并行的输出信号。
除了左移的寄存器,还有能向右移动的寄存器,它的工作原理和左移的寄存器大同小异。此外,还有既能左移又能右移的双向移位寄存器,它的工作原理也基本相同,只是输入端增加了一些控制门以及连接和控制方法更为复杂罢了。
寄存器和移位寄存器都有现成的集成化产品可供选用。例如T451是中规模集成4D触发器,可作4位寄存器使用。T453是串、并4位双向移位寄存器。
二进制计数器
数字电路中能对脉冲进行计数的部件称为计数器。如果每个脉冲是和生产工序中的一个产品相对应的话,这种计数器实际上就成为对产品进行计数的部件了。
图3(a)是由4个J-K触发器组成的二进制计数器,它能对CP脉冲进行计数,最大计数值是二进制数1111,相当于十进制数15。需要计数的脉冲被加到最低位触发器的CP端,所有的J、K端都接到高电平上,然后按次序把低位触发器的Q端接到相邻的高位触发器的CP端上。我们知道,J-K触发器的性能是:(1)CP=0时,不管J和K是什么状态,触发器都保持原态不变;Q\(_{n}\)+1=Qn;(2)CP=1和J=K=1时,触发器翻转一次:Q\(_{n+1}\)=Q-n,而且它是在CP脉冲后沿建立新的状态的。

现在让我们来看看它是怎样进行计数的。假定在开始计数前,已经从计数器的清零端(图中省略未画)送入负脉冲,使整个计数器成为0000的状态。好象用算盘计数之前要把所有的算珠都拨到零位上一样。从图3(b)波形图看到:(1)在第1个CP脉冲后沿,因为J\(_{0}\)=K0=1和CP=1,所以第1个触发器C\(_{0}\)翻转成1态;Q0=1;其余3个触发器则保持0态:Q\(_{1}\)=Q2=Q\(_{3}\)=0。整个计数器的状态是0001。(2)在第2个CP后沿,触发器D0又翻转1次成0态;Q\(_{0}\)=0;触发器C1翻转成1态:Q\(_{1}\)=1;触发器C2和C\(_{3}\)则保持0态:Q2=Q\(_{3}\)=0。整个计数器状态成为0010。(3)第3个CP后沿,计数器状态为0011。……(15)第15个CP后沿,计数器状态为1111。(16)第16个CP后沿,计数器再加1后又回到原始状态0000。如果还有第5个触发器,计数器就会向高位再进1位。从这个工作过程可以看到,这个计数器确实能对CP脉冲进行计数,而且它的计数过程是符合二进制数的计数规律的。因为它只有4个触发器,4位二进制数的最大值是1111,相当于十进制数15,所以它的计数值最大是15。如果要计更大的数,只要增加触发器的个数就行了。
对上述计数器的工作过程进行分析可以看到,高1位触发器的翻转总是在低1位触发器翻转之后进行的。仍以图3来说明,在第7个CP后沿,计数器状态是0111。在第8个CP后沿,计数器状态成1000。从0111变到1000的过程是:先在CP后沿使触发器C\(_{0}\)从1翻成0,再由Q0产生的下降沿使C\(_{1}\)从翻成0,再由Q1产生的下降沿使C\(_{2}\)从1翻成0,最后由Q2产生的下降沿使C\(_{3}\)从0翻成1。这种从低到高逐位翻转的情况已在波形图上用箭头表示出来。同样,计数器从1111变到0000时,也有这样的4次翻转过程。这种从低到高按次序逐位翻转的计数器被称为异步计数器。因为触发器翻转总有一定的延迟时间,二进制数越大,计数器所需触发器的个数越多,总的延迟时间就越大,在计数时就必须等所有触发器都稳定下来后,才能送入新的计数脉冲,所以异步计数器的工作速度是不高的。另外,如果在所有触发器还没有稳定下来的时候去判断计数器所计的数,还会发生错误。
为了提高工作速度和工作质量,应该减少等待时间,方法是在同1个CP脉冲作用下使所有的触发器同时翻转。这种计数器叫做同步计数器。图4就是1个4位二进制数同步计数器。它是把计数脉冲同时接到4个触发器的CP端上,并利用J-K触发器有多个输入端以及输入端之间有“与”逻辑关系的特点,使J、K输入端也参加同步控制。按4位二进制数的计数规律要求把触发器的各个端子连接起来。(1)对最低位触发器C\(_{0}\)是要求每1个CP翻转1次,因此J0和K\(_{0}\)应该都接在高电平上。即J0=K\(_{0}\)=1。(2)对触发器C1是要求每2个CP翻转1次,把J\(_{1}\)和K1都接到Q\(_{0}\)上就可满足要求。因为J1=K\(_{1}\)=Q0,当Q\(_{0}\)=0时,C1维持原态不变;当Q\(_{0}\)=1时,C1才翻转。(3)对触发器C\(_{2}\)是要求每4个CP翻转一次,按这个要求应该把J0和K\(_{2}\)接到Q1和Q\(_{0}\)上。因为按逻辑式:J2=K\(_{2}\)=Q·Q1,只有在Q\(_{0}\)=1和Q1=1时,才使J\(_{2}\)=K2=1。也就是说,当触发器C\(_{1}\)、C0是00、01、10这3种状态时,触发器C\(_{2}\)不变;而当C1、C\(_{0}\)是11状态时,C2翻转。(4)对触发器C\(_{3}\)是要求每8个CP翻转1次,按这个要求应该把J3和K\(_{3}\)分别接到Q2、Q\(_{1}\)和Q0上,即J\(_{3}\)=K3=Q\(_{O}\)·Q1·Q\(_{2}\)。按这个逻辑式,只有在QO、Q\(_{1}\)和Q2都是1时,J\(_{3}\)=K3=1。也就是说,只有当触发器C\(_{2}\)、C1、C\(_{0}\)是111这种状态下C3才翻转。对于同步计数器来讲,计数脉冲是同时加到各个触发器的CP端上的,所以实现了触发器同时翻转,使延迟时间大大减少,提高了工作速度和工作质量。(未完待续)(俞鹤飞)
