本文介绍的简易报警器,利用一只电阻作为检测头,当连接电阻的引线短路或断路时均可报警,而且当电阻阻值变化超过一定范围也会引起报警。
电路工作原理
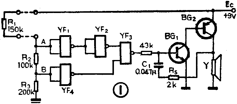
图1是报警器电原理图。BG\(_{1}\)、BG2组成一个集一基耦合多谐振荡器,R\(_{5}\)、C1提供正反馈通道。此振荡器作为警声发生器,其振荡与否受与非门YF\(_{3}\)输出控制。当YF3输出高电平时,电路产生振荡;当YF\(_{3}\)输出低电平时,BG1截止,电路停振。而YF\(_{3}\)的输出状态又受检测头R1的控制。静止状态下A点电位U\(_{A}\)=[(R2+R\(_{3}\))/(R1+R\(_{2}\)+R3)]·Ec=6V。高于YF\(_{1}\)的翻转电平,故YF1输出低电平,YF\(_{2}\)输出高电平。CMOS门电路的翻转电平大约在1/2Ec,即4.5V左右。B点电位U\(_{B}\)=[R3/(R\(_{1}\)+R2+R\(_{3}\))]·Ec=4V,低于YF\(_{4}\)的翻转电平,故YF4输出高电平。YF\(_{3}\)的两个输入端均为高电平,按照与非逻辑关系,YF3输出低电平,故振荡器停振,报警器处于守候警戒状态,静态电流仅有数十微安。注意:由于CMOS门电路输入阻抗极高,在计算中略去了门电路输入端的分流作用。

电阻R\(_{1}\)是报警检测头。当R1短路时,U\(_{B}\)=[R3/(R\(_{2}\)+R3)]·E\(_{c}\)=6V,故YF4输出低电平,相应的YF\(_{3}\)输出高电平,振荡器起振,发声报警;当R1开路时,A点相当于经1个300kΩ电阻接地,故YF\(_{1}\)输出高电平,YF2输出低电平,相应的YF\(_{3}\)也输出高电平,电路亦发声报警。因此,电路可起到双向检测作用。
安装与使用方法
YF\(_{1}\)-YF4采用一片CMOS4-2输入与非门C036。BG\(_{1}\)采用3DG型管子,BG2采用3AX型,要求β>40。扬声器Y可选用8Ω、0.1—0.5W的小型扬声器,电阻全部采用1/8W的。电源采用一节9V电池供电。
整个装置可安装在一只小型肥皂盒内,用两根多股细导线将R\(_{1}\)引出,或通过小型耳机插头座将R1引出就更方便了。R\(_{1}\)用细塑料管套严。用作电视机防盗时,可将连接R1的导线从电视机后盖板的两个散热孔内穿过。用作门窗防盗报警时,可将导线换成细导电丝,当有人破门而入或越窗而过时,便会造成断线报警。用于其它固定物品报警时,只要将R\(_{1}\)固定在物品上即可。实际上小偷行窃时,一般都是造成断路报警。设置短路报警的目的是对付一些比较“高明”的小偷,以免他行窃时将导线短路了,报警器就不起作用。
图2给出C036的引脚功能。图3是电路印板图。CMOS片焊在印板的铜箔面,其它元件焊在另一面。应注意的是要先焊其它元件,最后焊接CMOS片。焊接完毕后,要仔细检查片子引脚间有无连焊或虚焊现象。如果焊接正确,接线无误,无需任何调试,即可成功。改变R\(_{5}\)或C1的数值即可改变报警声调,可随个人喜好选择。(李洪明)

