近年来,许多生产厂家和无线电爱好者装制了各种各样的50Hz逆变电源,但大多数逆变电源无调压装置,或只装有改变输出变压器抽头的波段开关,以达到步进调压的目的。这样的逆变电源尚存在几个问题:首先,无调压装置的逆变电源要求必须在额定负载,当负载不足时,输出电压过高,容易损坏用电器。其次,用波段开关改变变压器抽头位置的步进调压方式,在带负载调压的过程中,电源会产生较大的电压和电流过冲。这样也会危及用电器及电源本身的安全运行,容易损坏用电器和电源本身。
为了解决逆变电源的调压问题,笔者采用了脉宽连续调压电路,使逆变电源输出电压可以从0V~220V连续可调,这不仅提高了逆变电源的性能,而且使逆变电源成为调光、调温等多种用途的设备。具体电路如下图1所示。

该电路可应用于以方波作为控制的各种开关逆变电源电路。图中的元件数据适合50Hz频率的用电器,适当改变电路中的参数后,该电路也可用于400Hz及更高频率开关电源的调压。若再稍作改进,还能实现逆变电源的自动稳压。
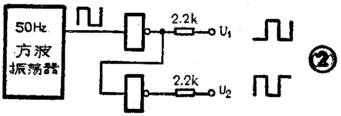
调压电路的工作原理是:首先由一50Hz方波振荡器产生一占空比为50%的连续方波信号,经两个与非门组成的非门电路倒相,成为两个幅度相等、相位相差180°的方波信号U\(_{1}\)、U2见图2。波形图见图3。


U\(_{1}\)、U2分别送入调压电路中由BG\(_{1}\)~BG4、WD\(_{1}\)、R1~R\(_{3}\)、C1、C\(_{2}\)组成的积分电路。BG1、BG\(_{4}\)分别为C1、C\(_{2}\)提供恒流充电电流,以改善所形成锯齿波的线性,从C1、C\(_{2}\)电容两端得到两个相位仍然相差180°的锯齿波电压又送到两个集成电路的比较器的同相输入端。由W1和R\(_{7}\)组成分压器,从W1中心头可以得到一个可变的直流比较电平U\(_{k}\),送入两个比较器的反相端。当锯齿波电压高于比较电平Uk时,比较器输出为高电平,当锯齿波电压低于比较电平U\(_{k}\)时,比较器输出为低电平。所以改变Uk电压的高低就能在两个比较器的输出端得到二个相位仍然相差180°、频率为50Hz、宽度随U\(_{k}\)电平改变的方波信号。将这样的方波信号去控制逆变器的大功率开关管的导通与截止,即能达到调压的目的。其工作波形见图3c、3d。波形图中只给出其中一路,另一路工作原理、波形完全一样,仅相位相差180°。
从工作波形图可以看出:当控制电压U\(_{k}\)的电平愈低时,输出的开关方波宽度愈宽,这时逆变电源的大功率开关管导通时间愈长,因而输出电压愈高。反之,Uk电压逐渐升高时,输出的开关方波宽度逐渐变窄,因而输出电压逐渐降低,直到U\(_{k}\)电平与锯齿波电压的最高幅度相等、或超过锯齿波幅度时,两比较器同时输出为低电平,这时逆变电源的大功率开关管均处于截止状态,因而逆变电源输出电压为零。若末级逆变开关管采用的是V-MOS大功率晶体管,接成推挽电路,可由比较器LM339直接推动,若用普通大功率晶体管,则应再加一级推动。
调试中,应注意“死区”时间的调整,所谓“死区”时间就是逆变电源在推挽工作时,大功率开关管交替工作的间隔时间。由于大功率开关管进入导通和退出导通需要一定时间,如果两管都工作在50%的占空比,则很容易造成两管同时导通从而损坏大功率管。因而,两个开关方波控制信号的宽度应略小于50%占空比。对50Hz而言,采用V-MOS大功率晶体管作开关管,方波宽度调至950μs左右就能可靠地工作。在这个调压电路中,R\(_{7}\)决定“死区”时间,在未接入大功率开关管之前用双踪示波器监测两比较器输出的方波信号,当W1的中心头调到接近地端的极端位置时,选择R\(_{7}\)的阻值,使方波宽度为950μs左右即可。为了保持Uk起始电平的恒定,防止电池电压下降时U\(_{k}\)起始电平也下降,并有可能低于锯齿波的起始电平,造成两比较器会同时输出一直流高电平,使大功率开关管同时导通,损坏大功率管,所以将W1和R\(_{7}\)接在WD2稳压管的两端。
电路中W\(_{1}\)最好采用多圈电位器,这样调压相当精细,为了使逆变电源输出电压为0时W1处于起始位置,可在W\(_{1}\)的上端接一电阻,选择其阻值使W1在左旋到底时电源电压输出为0,右旋到底时电源输出电压最高,但方波宽度又不大于950μs的最佳阻值即可。(韩恩)