8049单片机属于48单片机系列,其内部带有掩膜ROM。在出厂前就已将时间程序固化进去的8049单片机称为SKC-4801时间控程专用单片机。该专用单片机既可作电子钟主控制芯片,又可以用电灵活地开发出多种具有时间控制功能的产品,例如广播站自动控制器、电视差转台自动关机控制器、值班瞌睡报警器等等。
SKC-4801专用单片机的掩膜ROM中固化了约2kB的时间控制程序,晶振频率为4.0MHz,每天24小时可定时30次,定时精度到分,每次定时时间在1~99分钟之间,有D\(_{0}\)'~D4'5路控制信号输出。另外,如果该单片机第7脚EA端接高电平,则该单片机全部从外部存储器读取数据,此时该单片机就是不带内部存储器的48系列单片机。
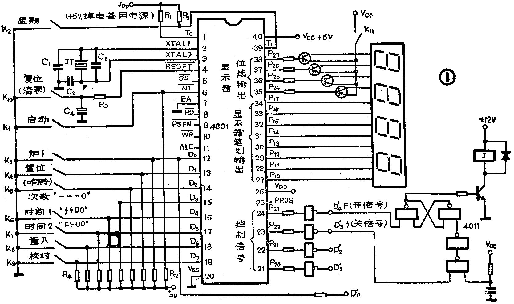
图1是以SKC-4801专用单片机为主芯片构成的电子钟电路图。图1中,D\(_{0}\)'~D4'间的相互关系是:D\(_{3}\)'、D4'信号端之一有输出,D\(_{2}\)'端就有输出;D1'、D\(_{3}\)'、D4'端在同一时刻只能有一个端有输出;D\(_{2}\)'端有输出信号,则D0'端一定有输出,且D\(_{0}\)'信号比D2'信号输出早两分钟。这种时序关系很有用,例如把D\(_{0}\)'信号作为电子管扩音机的预热信号,D2'信号作为电子管扩音机的开机(高压)启动信号,D\(_{3}\)'、D4'信号作为收音机录音机的启动信号(见图2),从而可以构成一个实用广播自动控制系统。


SKC-4801专用单片机还可用来开发出多种时间控制电路。
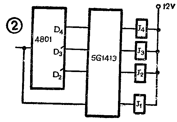
图3是双路输出定时开关,适用于两种设备轮换工作的场合。

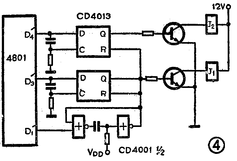
图4是在图3基础上改进的双路输出定时开关,其定时时间得到延长如需停止工作,可在D\(_{1}\)端输出高电平,清除D触发器CD4013中数据,然后关掉外设。

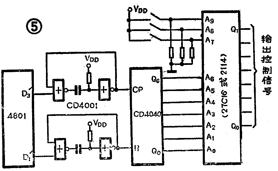
图5是多路输出定时开关电路图。在每个动作程序的开始,D\(_{3}\)'(或D4')输出一信号使计数器CD4040加1,这样共可设置29个时间控制点(清零占去了一个控制点)。计数器CD4040用作寻址,使存储器(2716或2114)输出8路控制信号。由于29个时间控制点只占用了存储器的很少部分,因此可以把存储器高位地址线分别接高电平,在不同地址区间写入几套控制程序,实现多路多种控制方式的定时开关功能。(许世祥)
