作为一种理想燃料,各种可燃气体已越来越广泛地被应用于人们的生产和生活中。由于可燃气体的易燃、易爆和有毒等特性,为了及时地发现和排除在可燃气体使用过程中潜藏的爆炸、火灾、中毒和污染等隐患,人们设计和制造了各种类型的可燃气体监漏、检测报警器等装置。
在目前设计制作的家用煤气报警器中,大都采用半导体气敏元件作探头。半导体气敏元件虽然灵敏度高,但稳定性、可靠性欠佳。本文向读者介绍一种采用载体催化型气敏元件作探头的可燃气体监漏报警器。它使用220V交流电源供电,线路简单,报警灵敏度可从0.2%起连续可调,即当空气中可燃气体浓度达千分之二时,报警器就发出引人注意的声、光报警信号,工作稳定可靠,读者不妨一试。
一、载体催化型气敏元件
载体催化型气敏元件与半导体气敏元件相比,具有灵敏度适中,稳定可靠,其输出值与可燃气体浓度呈线性等特点。因催化元件制作工艺十分精细复杂,价格较贵,市场上很少有另售元件供应。故采用催化元件作探头装制报警器,一直限于专业厂家,而广大业余电子爱好者难于问津。本文采用的探头为LXK-1小功耗连续型快速催化元件。它适用于液化石油气、煤矿瓦斯气、天然气、焦炉煤气、发生炉气、重油裂解气、氢气和一氧化碳等各种可燃气体。工作电压为2~3±0.1V;工作电流为120~150mA;输出信号不劣于25mV/1% CH\(_{4}\);响应时间短,可在5秒以内使输出值迅速达到平衡;线性和稳定性均优于煤炭部颁定标准。
二、电路工作原理
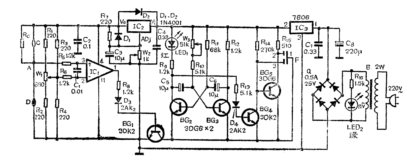
C-1型报警器电路原理如附图所示。D为检测元件,外观呈黑褐色,又称黑元件。C为补偿元件,外观呈白色,又称白元件。R\(_{c}\)为补偿电阻。C、D一般成对地使用,常称为黑白元件。黑白元件工作时装在防爆气室中,通过隔爆罩与大气接触。图一中Rc、C、DR\(_{3}\)、R4等组成惠斯登电桥。运放器IC\(_{1}\)、R5、R\(_{6}\)、C1等组成电压比较电路。晶体管BG\(_{2}\)、BG3、BG\(_{4}\)、BG5,发光二极管LED\(_{1}\)和发声器F等组成声光报警电路。BG1、D\(_{3}\)、R8组成控制开关电路。B\(_{1}\)、Q、IC3、IC\(_{2}\)等组成两级稳压电路,为桥路和比较器提供精密电源。当没有可燃气体泄漏时,A点电位低于B点电位,电桥相对平衡,IC1输出低电平,BG\(_{1}\)截止,LED1不发光,发声器无声。当有可燃气体泄漏时,在D表面发生化学反应,使D电阻值增加,A点电位上升至高于B点电位时,使IC\(_{1}\)翻转输出高电平,BG1导通,打开报警电路,使发声器F和发光二极管LED\(_{1}\)同步地发出间断声光报警信号,从而起到监漏报警的作用。

三、元件选择与调试使用
C、D选用LXK-1型催化元件。R\(_{c}\)阻值在元件出厂时已注明。IC1选用低功耗3V运算放大器。IC\(_{2}\)选用三端可调稳压器。IC3选三端固定稳压器。F选用φ35mm蜂鸣器。其余元件如图所示。调试电路时先不焊C、D,测IC\(_{3}\)输出电压应为6V,初调W2使IC\(_{2}\)输出电压为3V,再焊上C、D,复调W2使C、D工作电压在3±0.1V。然后调报警点,在专业条件下,使用一定流量的标准气样进行调整。这里介绍一种在业余条件下的简便调整方法。在A、B两端接上毫伏表,调整W\(_{1}\)使A点电位比B点电位低5~10mV,这时对于灵敏度不低于25mV/1%CH4的LXK-1型气敏元件,其报警起限不大于0.2~0.4%CH\(_{4}\)。调整W3可以改变报警声节奏。
调试完毕就可安置使用了。对于液化石油气罐的监漏报警,可将报警器挂置在靠近气罐的墙壁上。且不宜距地面太高。(东方)