TMOS系列是国外近期推出的新一代厚膜功放集成电路,由于它内部采用了具有电子管特性的场效应管作为末级输出,因此,它与普通厚膜功放电路相比,具有频带宽、线性好,失真度低等优点,加上外引脚少,外围电路十分简单,利用TMOS系列厚膜功放块能方便地组装出优质的大功率放大器。
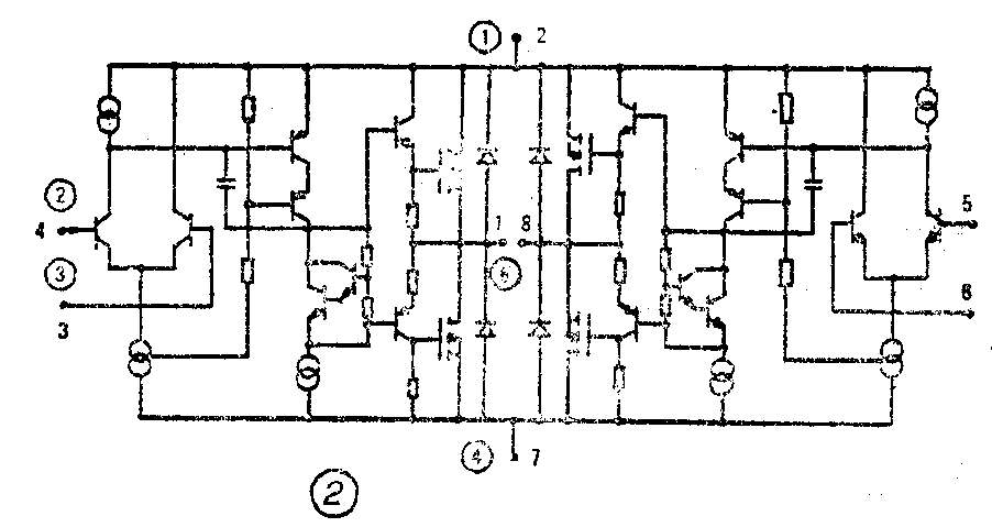
本文介绍的TMOS075单声道75W及TMOS150双声道75W+75W是TMOS系列中的两个型号,它们的外形尺寸见图(1)。内电路如图(2)(TMOS075为电路中的一个声道,引脚由圈内示出)。其主要电气参数如附表所示,从表中可以看出,它们的性能指标,如:频响、失真度等,均优于普通厚膜电路。



由于TMOS系列电路频率响应很宽,实际制作中要注意防止电路的高频自激。
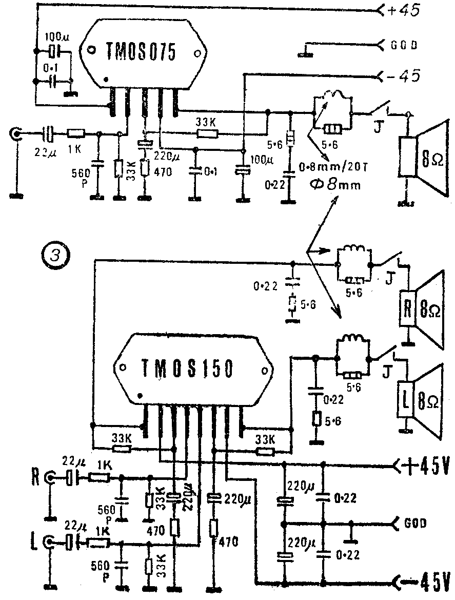
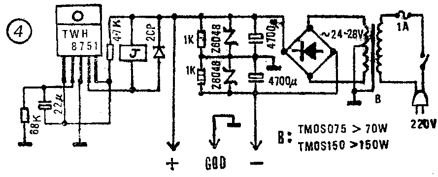
图(3)为TMOS075及TMOS150典型OCL应用电路,供制作时参考。图(4)为推荐电源供给电路,其中Z6048是一种专门用于扩音机电源的超压保护新器件,它的中文名称为双向压敏管,它的最大导通电流为6A,电压48伏(峰值),可接在变压器次级或直流输出端。它在电路中的作用是将外来干扰脉冲切除并监示电源电压,当超过48V时,Z6048击穿,大电流流过压敏管使保险丝迅速熔断,对电路起了保护作用。而电子开关电路TWH8751及继电器则构成开机延时电路,此电路设计延时时间为2.5秒,可保证扬声器免受开机瞬间的浪涌电流冲击。


TMOS系列的散热板已与内电路隔离,安装时无需另加绝缘片,但必须保证它与散热器大面积接触并在散热片间涂上一层硅脂,以利导热。若电路经常处于满载工作时,散热器面积还应大于表中的尺寸,通常以散热片表面工作温度不超过70℃为好,有条件的可采用风冷式散热,以达到最佳散热效果。
必须指出的是:以上介绍的仅为一种后级放大器,只有良好的功放电路而不重视喇叭系统及前置放大器将失去TMOS电路的意义,而虽有优质音箱及功放电路,若配以劣质前级,不仅达不到预期目的,反而会将信号的高频噪声、交流声等充分暴露出来。如利用现成收录机作为信号源,应从前级放大之后拾取信号,并注意屏蔽及阻抗匹配,不要直接从喇叭输出端引出信号。
另外值得一提的是:本电路是一种大功率高保真扩音机线路,与本机配套使用的电源部分必须精心制做。否则不可能达到预想的效果。如果用本文介绍的TMOS150制做75W×2的立体声扩音机,电源变压器应使用功率大于200W的优质变压器。如果读者自制变压器,那么电源变压器的初、次级线圈应在硅钢片窗口允许的条件下,优先选用粗线径漆包线。同时,整流管应选用管压降较低的二极管。
笔者曾采用两只TMOS075厚膜电路作双声道扩音机,用自制的3分频音箱和7段均衡电路以及前置放大器,在90平方米的舞厅作实际播放使用,效果极为满意。(蔡凡弟 董云鸿)