在“激光唱盘”还未能普及的今天,传统唱片仍是最受宠爱的“理想”声源,以致其相应之辅助放唱设备——RIAA均衡放大器,也就有精益求精的必要。
对于RIAA均衡放大器而言,诸如:大动态、高保真、低噪声等指标固然重要。然而,均衡电路的准确性如何,能否输出一条与RIAA重播标准相符合的放音曲线却更为重要。不然,信号畸变在先,哪怕系统其它环节多么优秀,也是白费。本文介绍的均衡放大器以国际电工委员会(IEC)重新修改过的RIAA放音特性标准(在整个放音频率范围内设四个频率转折点;f\(_{1}\)=2120Hz;f2=500Hz;f\(_{3}\)=50Hz;f4=20Hz。)为设计依据。从电路结构到均衡方式的选择及元器件的挑选都异常考究,以求好音质,高精度、低噪声。
电路介绍
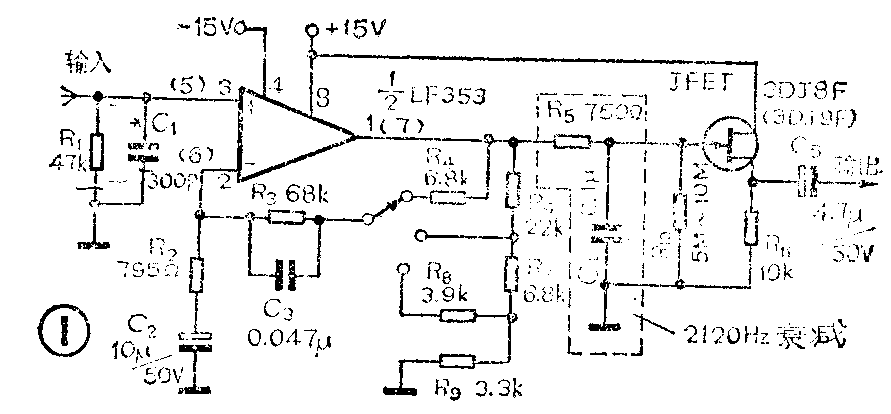
如图1所示:均衡放大器电路主要由优质双运放LF353担当。均衡电路为NF—CR式,即在低频段采用负反馈电路而高频段使用衰减电路,这样既可消减瞬态互调失真又不致影响信噪比。与四个转折频率f\(_{1}\)、f2、f\(_{3}\)、f4相对应的均衡作用时间T\(_{1}\)、T2、T\(_{3}\)、T4分别由四个RC网络决定(请看图3)。值得注意的是,与C\(_{4}\)相并接的下一级阻抗越大越好,以免影响R5、C\(_{4}\)网络均衡作用的准确性。然而,与C4相并接的下一级多为功率放大器,其输入阻抗不可能很大,若达100kΩ,则足以令人兴奋。因此,务必在C\(_{4}\)与下一级之间插入隔离级—射(源)极输出器。因为,射(源)极输出器具有高输入阻抗低输出阻抗的特点,电压增益约为1。该隔离级本可用\(\frac{1}{2}\)LF353构成,但LF353由多个晶体管组合而成,且售价不低,这样做既非高保真之举又不经济。细想之下,还是“简洁至上”。即由一只三极管或场效应管构成。此处,笔者选择一只高质量结形场效应管接成源极输出器作为隔离级,但这里不宜采用图2所示的接法。否则,由于运放在无输入时输出端直流电位为零,使电容C两点直流电位不同,以致IC与JFET不能直接耦合而影响音质。此外,Rg1、R\(_{g2}\)在交流上是并联的,必使该级输入阻抗有所降低。最适宜的接法如图1所示,即将JFET接成自生偏置的方式。这样既达到高输入阻抗(由R10决定,选R\(_{1}\)0=5MΩ~10MΩ)之目的,又省去了耦合电容及Rg1、R\(_{g2}\)。



该均衡放大器的另一特点便是具有三种不同的增益(22dB、32dB、42dB)可供选择,以适应各种不同输出的动磁唱头。但由于R\(_{4}\)涉及到均衡时间T2,因此,在32dB和42dB增益控制电阻R\(_{6}\)、R7、R\(_{9}\)和R6、R\(_{7}\)、R8、R\(_{9}\)的选择上,除满足增益要求外,还必须使它们的交流组合阻抗在6.8kΩ左右,即(R7+R\(_{9}\))//R6≈6.8kΩ;R\(_{8}\)+(R6+R\(_{7}\))//R9≈6.8kΩ,以免影响T\(_{2}\)的准确性。以上三种增益值均以1kHz为参考频率时计算所得。
元器件选择与制作要求
RIAA均衡放大器能否达到高精度将取决于相关阻容元件的选择。故此要求:电阻必需选用\(\frac{1}{2}\)W或1;4W金属膜电阻;C\(_{1}\)、C3、C\(_{4}\)应选择精度高、介质吸收小的聚苯乙烯电容器;C3、C\(_{5}\)以钽质电解或分频器专用无极性电容器最佳。R10可用碳膜电阻。此外,运放可选择的有LF353、TL072、TL082等,若有NE5532(相当于两块NE5534)双运放则最好。若读者条件不允许,则阻容元件可放低要求,但应尽量选择高质量的元件。
图4为均衡放大器的印刷也路板及正面元件图。图示增益转接开关无须另外设置,读者可根据自己选用的唱头来决定增益选择,直接在电路板上连接即可。另外,唱头负载R\(_{1}\)C1*网络准确与否,关系到高频响应的好坏,应注意校准R\(_{1}\)C1*。本机必需用稳压电源(±15V)供电。

本均衡放大器只要元器件选择正确,装配无误,无须调试即可正常工作。笔者所试制的这种均衡放大器,其信噪比为90dB;频率特性在20~20000Hz范围内偏差为±0.5dB之内。将其插入Hi—Fi系统聆听时音色甚佳。(刘学勉)