目前,各种形式的录音机已大量普及,汽车收放机应用也很普遍。但美中不足的就是缺少录音和抹音部分,如何将这类机芯再增设一个抹音磁头和录音电路呢?下面把改制的办法介绍给大家,改制分两部分进行。
机械部分改制
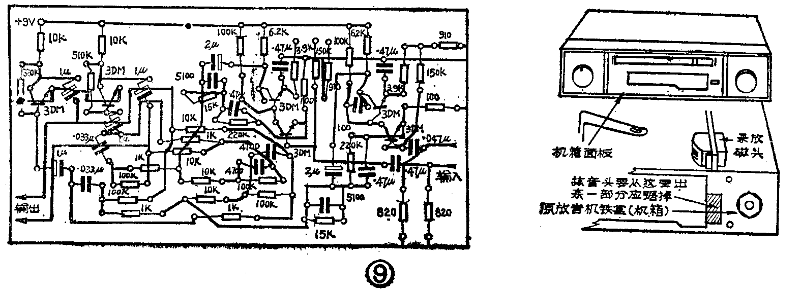
汽车收放机的形式有多种多样,笔者改制的只限于不自动反转的机芯,如:进口或组装的HL系列2030型、2032型、2038型等等,而且出带盒按键位于左边。这种机型的右边是AM-FM转换键及指示灯(或只有转换键),这些装置可以移到其它地方安装,空出来的地方要安装一个抹音磁头,这是机械部分改制的重点。首先把机芯小心地卸出来,把磁头的引线焊掉,卸下放音磁头。将安放磁头活动架的前部(即磁带盒弹出板的转轴支撑点部分)如图1所示全部锯掉,因为它的存在影响抹音磁头的安放。再按图2用铁片做一个安放抹音磁头的固定架,这个架子要能和放音磁头同时起落。铁片的厚度不得超过lmm,否则安装后会与主导转轮相碰。然后用图3所示的楔形铁螺丝钉(这样螺钉帽就不致使铁片厚度增加了)反方向固定在放音磁头的两个螺钉孔内,再装放音磁头,同时磁头的一边螺钉要套上弹簧这样就可以调整磁头的方位角度,安装方法见图4。固定架的长出部分就可以安放抹音磁头了,抹音磁头要与放音磁头水平安装,这可以用一盘磁带放进机芯,然后量出抹音磁头的正确位置,固定好即可。磁带盒弹起板的固定,按图5下方及图1上方做两个固定架,再找个弹性适中的弹簧如图1所示将弹起板固定好,试一试磁带盒是否进出自如。最后按图10所示的阴影部分锯掉,这是原收放机的铁盒前部,因为安装了抹音磁头阴影部分妨碍磁头活动,所以锯掉,这并不影响外观,因为面板装上后可全部遮住。




电路部分改制
这种机型增设录音及抹音功能均采用直流偏抹及直流抹音。由于放音磁头没有更换,所以录音时磁头对高频信号要衰减,为此增加了录音补偿放大器。录音时信号由放音前置级进入录音补偿放大器后到达磁头进行录音,其效果经试听还是比较理想的。图6是原机简单的方框图,图7是改制后的简图,并且图中所有标着数值的元器件均为新加入的。如果手头上没有电原理图,也可以从实体机上找到需改制的部位,因为不同型号的汽车收放机都有它们的共同点:磁头上是一根双芯屏蔽线,外皮金属网是地线,另外两根芯线是左、右声道的音频线。放音前置级与功率放大器之间的音量、音调调节位置有个同轴开关电位器位于机器左边的旋钮,它上面需改动的连线也很容易找到。再有一个改动部位是在机体内部,原收放机在放音时是由磁头拾取磁带上的信号经前置级后送给功率放大器。当磁带弹出后,收音——前置转换键自动关闭电机电源,同时接通收音头电源。现增设了录音及抹音、话筒和线路录音等功能,这样放音电路不变。将K\(_{1-1}\)至K1-6键转换到录音位置后,用线路输入插孔可以录制其它录音机、电视机等由线路输出的音频信号。信号经R\(_{2}\)、R3组成的衰减器通过放音前置级送给录音补偿放大器后到达磁头进行录音。同时录音磁头要加上适当的直流偏磁电流,来达到减小波形失真,提高动态范围的目的。这个电流的大小要由调节偏磁电阻R\(_{1}\)0或R8、R\(_{9}\)来决定。车用收放机的规定电源电压为的12~13.5,偏磁电压一般选在4.5伏以下,偏磁电流要小于1毫安,其最佳偏磁点要在调试时选定。使用驻极体电容话筒时要将K2键和K\(_{1-1}\)至K1-6键同时转换到录音位置。K\(_{6}\)键实际上就是供给MIC偏置电流的转换键。MIC的偏置要在调试MIC录音时调节其偏置电阻R1和R\(_{6}\)决定,一艇选在4伏左右。将K2恢复原位,再将K\(_{1-l}\)至K1-2和K\(_{3}\)-1至K3-3键同时转换到录音位置后,就可以录制本机内调幅、调频电台的播音节目。在以上所述录制磁带的各种方法的同时还可以进行监听。本机还设置了线路输出的插孔S\(_{3}\)、S4,可以作为信号源输送给扩大器,供娱乐欣赏用。本机设置了录音补偿放大器,作用是用来补偿被磁头衰减了的高频信号。图8是它的电原理图,图9是印刷板线路图。这是典型的负反馈电路,六只晶体管均采用高β低噪声管,前置输入为晶体管直流负反馈放大级,并具有较高的阻抗和增益,可适应较多种形式的输入信号。抹音磁头在录音时同时使用,并供给适当的直流抹音电流。这要在调试抹音效果时调整抹音偏置电阻,一般为几毫安至十几毫安,笔者选定3.7毫安即可满足需要。电流太小不易抹净原信号,太大磁头要发热容易损坏,也容易破坏附近轨迹上的信号。




元件的选择:录音磁头仍使用原放音磁头。抹音磁头选择范围较广,一般直流电阻在500欧姆左右的即可,只要有一定强度的抹音电流通过,使磁带上的信号消失就行。电阻均选用1/8W金属膜电阻,焊接时均应卧式放置。电容器型号不限,数值选配适当即可。话筒最好选用驻极体电容话筒,这种话筒必须加以一定的偏置电压才能正常工作。若不加偏置电压或电压偏离正常值就会出现失真或音轻等现象。若选购动圈式话筒,应选购低阻的。按键可选用三脚、九脚、十八脚的单键各一个。录音补偿放大器中使用的晶体管均选用超β低噪声3DM系列的管子,其它如:C227、3DG201、CS9014等也可以使用。
安装:各部分在安装时首先应使用屏蔽线进行连接(除了电源引线)各元器件之间的引线力求短,各部分地线要合理选择就近的接地点。屏蔽线要单端接地,绝对不要两端都接地,否则在地线中造成回路而导致讨厌的交流嗡声。尤其是补偿放大器在制做完毕后要用薄铜皮焊制一个小盒屏蔽起来,妥善接地,以防外界杂散信号窜入影响录制效果。转换按键在焊接引线时要尽量少用松香,以免松香溶化后流进按键中造成断路或接触不良。若发生这种现象可用少许酒精冲洗按键,干后即可恢复正常。由于按键的引线脚都是裸露的金属铜棍,所以在焊接音频信号的引线时要注意各引线之间的相互干扰。尤其是录放磁头的转换引线,应避免后面强信号干扰前面的弱信号,所以要将这些引线的间距加大,相互离得远些。本机面板右部由于要安放抹音磁头,所以需要将图10所示的阴影部分锯掉,装上面罩可以全部遮住。面罩右部的空缺处可以安装一个指示灯,作为整机电源接通的标志。原立体声——放声转换指示灯也可以不动,但要使本机面罩稍微升高一些,也就是在固定面罩时每个螺钉下面多加一个垫片即可。
调试:录音补偿放大器照图安装无误后即可接通电源(必须配备12~13伏的稳压源)调试。用一个通过前置输出的信号加在补偿器的输入端,其输出端接上耳机试听。如果有失真现象可以由前至后逐级试听,找到失真在哪一级;就调节哪一级晶体管的偏置电阻,直至整个补偿器都不失真为止。然后将补偿器接到本机电路中去,就可以调试录音效果了。首先调整录音磁头的偏置电阻R\(_{12}\),使A点对地为4.5伏。然后找一盘空白磁带,先用本机调频波段——FM电台选一个本底干净的信号或是选用原声磁带作信号源进行试录(此时先将抹音供电引线断开),接通电源调节R1O,使偏磁电流左右两路各为0.43毫安。录一段音乐之后放听,看有无失真,再多次反复调整,如还有失真就与补偿器中的衰减电阻R\(_{1}\)或R2一起反复调整,直到满意为止,找合适阻值的电阻换下电位器。调试时最好双声道分别调整,以便鉴别。然后接通抹音磁头的供电引线,试听抹音效果,调整R\(_{13}\)至抹音效果最佳止。话筒录音的调试,先将Kl-1至K\(_{1}\)-6和K2两键转换至录音状态,装上磁带,录时调整话筒偏置电阻R\(_{1}\)或R6,通过多次试录,找到最佳偏置点,换上合适的电阻。
本文提供的需调试部分电阻的数值均为可供调试时的起始数据,因各种机型不尽相同,所以改制时均需要有一段的调试过程,以达到满意的效果。
另外,若用动圈话筒配合本机录音,应该使用低阻动圈话筒。如果只有高阻动圈话筒的话,那就应在话筒后配接阻抗变换电路,如:射极跟随器等。(高燕冰)