(俞鹤飞)把晶体管和电阻、电容等元器件用导线连接起来的门电路叫分立元件门电路。这种电路体积大、功耗大、可靠性低。现在广泛使用的都是集成化的门电路。它是用特殊的工艺把晶体管、电阻电容和连线集中做在几平方毫米的半导体基片上,再封装在外壳里。它有体积小、功耗低、可靠性高等优点。集成电路按基片上包含门电路的数目分成:小规模集成电路(SSI),每片有几个门电路;中规模集成电路(MSI),每片有几十个门电路;大规模集成电路(LSI),每片有几百个门电路;超大规模集成电路(VLSI)。
数字集成电路中使用较广泛的是TTL门电路。它是用晶体管作开关元件的,所以称为“晶体管——晶体管逻辑电路”。
TTL与非门简介
图1(a)是一个已简化了的TTL与非门电路。图中有两个晶体管,BG\(_{1}\)是一个多发射极管,它有三个发射极,一个集电极,每个发射极和基极形成一个P-N结,集电极和基极又形成一个P-N结。从功能看,BG1相当于与门,BG\(_{2}\)相当于非门。BG2发射极接地,从集电极得到输出Z。图1(b)是它的等效图,可以看到它相当于前面已介绍过的二极管与门和晶体管非门,BG\(_{1}\)的发射结相当于三个二极管D1~D\(_{3}\),集电结相当于二极管D4。

当输入A、B、C全都是高电平,例如+3伏时,D\(_{1}\)~D3全都反偏截止,P点电位升高,使D\(_{4}\)和BG2的发射结导通,于是BG\(_{2}\)有基极电流而饱和导通,输出Z只有零点几伏,为低电平。当输入中有一个是低电平,例如A为+0.3伏时,D1导通,P点电位下降到约为1伏,这时D\(_{2}\)、D3仍截止,由于P点只有1伏左右,D\(_{4}\)和BG2发射结不可能导通,因此BG\(_{2}\)截止,输出Z为高电平。可见这个电路是符合“有0出1,全1出0”规律的。
这个电路是为了便于说明工作原理的简化电路。实际的TTL与非门电路比它复杂得多,通常是由五或六个晶体管组成的。图2是典型的五管与非门电路。其中BG\(_{1}\)是多发射管,是输入级;BG2和R\(_{2}\)、R3构成中间级,它的作用是从BG\(_{2}\)集电极和发射极同时输出两个相位相反的信号去推动BG3和BG\(_{5}\);BG3、BG\(_{4}\)、BG5和R\(_{4}\)、R5构成输出级,目的是提高带负载能力。从逻辑功能上看,BG\(_{1}\)是“与”的功能,BG2、BG\(_{3}\)、BG4、BG\(_{5}\)四个管子一起完成“非”的功能。为了进一步提高与非门的性能,还有一种典型的六管电路,但不管使用管子的多少,它们都是完成“与非”逻辑功能的。

TTL门电路一般采用14根引线封装的扁平陶瓷外壳。引线端子的识别方法是把集成块正放以后,从左下角开始按逆时针方向依次对引线端子编号,左下角为1号,左上角为14号。并规定14号引线为电源端,7号引线为接地端。例如T060是中速集成TTL门电路产品的一种,它是一个单与非门,有8个输入端,它的逻辑符号、逻辑表达式和引线排列图见图3。另一种型号的产品T063是双与非门,每个片子包含有两个与非门,每个与非门有4个输入端,它们的电源和接地端是公用的。它的逻辑符号、逻辑表达式和引线排列图见图4。


一般TTL电路由于内在的原因,它的负载能力不是很大,当连接的负载要求较大电流或者要驱动较多的门电路时,应该使用功率门电路。T067是4输入端双与非功率门,它能提供较大的输出电流,一般可驱动15个以上与非门负载。它的逻辑符号、逻辑表达式和引线排列图和T063是相同的。
其它TTL门电路
TTL与非门是TTL电路的一种,也是TTL电路的基础,其它门电路的工作原理和它是大同小异的。下面介绍TTL与或非门、异或门和扩展器。
(1)与或非门
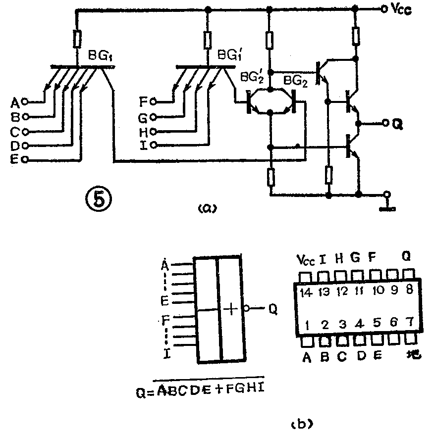
T086是一个中速与或非门。它的原理图、逻辑符号、逻辑表达式和引线排列图见图5。

从逻辑表达式和逻辑符号图看到,它是由两个与门、一个或门和一个非门组成的复合门电路。第一个与门有5个输入端A、B、C、D、E,第二个与门有4个输入端F、G、H、I,所以称为“5—4输入端与或非门”。从工作原理图5(a)看,它输入部分有两个多发射极晶体管BG\(_{1}\)和BG1',一个有5个输入端,另一个有4个输入端。BG\(_{1}\)和BG'1的集电极分别接到BG\(_{2}\)和BG2'的基极。BG\(_{1}\)的5个输入端全部是高电平时可以使BG2导通,同样,BG\(_{1}\)'的4个输入端全部是高电平时可以使BG2'导通。因为BG\(_{2}\)和BG2'的集电极和发射极是并联的,所以它们是“或”的关系,再经过后面的非门就完成了“与——或——非”的逻辑功能。
T072是另一种与或非门,它是由四个与门、一个或门和一个非门组成的复合门电路。四个与门分别有4、3、2、2个输入端,所以叫做“4—3—2—2输入端与或非门”。
(2)异或门
异或门是组成加法器和比较器的重要部件。T075是中速集成异或门产品。它在一个片子里包含有两个异或门,因此称为“双异或门”。它的逻辑符号、逻辑表达式和引线排列图见图6。它的内部电路也是用与、或、非的基本电路接异或的逻辑关系组成的。与门就是多发射极晶体管,或门就是集电极和发射极并联的两个晶体管。这里就不作介绍了。

(3)扩展器
一个门电路的输入端数目总是有限的,例如与非门的输入端一般不超过8个。当我们需要有更多的输入端时,可以使用一种叫做扩展器的器件来扩展。TTL门电路里有两种扩展器,一种是与扩展器,它可以增加门的输入端数;另一种是或扩展器,可增加与或门的输入端数。
①与扩展器
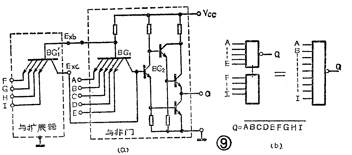
当与非门的输入端不够时可以用与扩展器加以扩展。与非门经过扩展后,它的输入端数就是原来的输入端数加上与扩展器的输入端数。但必须注意,只有带扩展端的与非门才能和扩展器连接,一般的与非门因为没有扩展端,所以是不能和扩展器连接的。
图7是与扩展器的原理图和逻辑符号图。逻辑符号上端一个竖线表示是与扩展器,从原理图看它是一个多发射极管,有两个连接用的扩展端。图8是带扩展端与非门的原理图、逻辑符号和逻辑表达式。逻辑符号下端的竖线表示可和与扩展器相连,它也有二个扩展端,是从多发射管的基极和集电极引出的。


把与扩展器的扩展端和与非门的扩展端连接起来,就可以使与非门的输入端数大大增加。从连接的原理图9(a)看到,由于两个多发射管并联,只有当9个输入端都是高电平时,BG\(_{2}\)才能饱和导通,输出为低电平。所以在扩展连接以后,它们已组合成一个有9个输入端的新与非门。它的逻辑表达式是:Q=A·B·C·D·E·F·G·H·I-。连接示意图见图9(b)。

②或扩展器
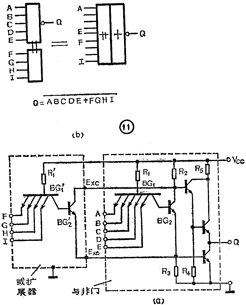
或扩展器是与或扩展器的简称。它可以把与非门扩展成与或非门,也可以把与或非门的输入加以扩展。图10是或扩展器的原理图和逻辑符号图。逻辑符号上端的两道竖线表示是或扩展器。从原理图看它是由一个多发射极管和一个晶体管组成的,从晶体管的发射极和集电极引出两个或扩展端。

同样,能够和或扩展器连接的必须是带或扩展端的与非门和与或非门。它们的逻辑符号下端也有两道竖线,也应该有两根连接的或扩展端。
如果把一个与非门和或扩展器的扩展端连接起来,就可以使这个与非门变成一个与或非门。从图11(a)原理图可以看到,两个多发射极管BG\(_{1}\)、BG1'的集电极分别接到BG\(_{2}\)和BG2'的基极,BG\(_{2}\)和BG2'的集电极和发射极是并联的,因此在两个多发射极管完成“与”的功能之后是“或”的关系,再加上后面的“非”门,便成为一个新的5—4输入与或非门,它的逻辑表达式是:Q=ABCDE+FGHI-。

TTL门电路中,除“T”系列外,还有其它老产品,它们引线编号方法通过查阅手册才能弄明白。
复习思考题
1.试用TTL与非门简图(图1)说明它是怎样完成“有0出1、全1出0”逻辑功能的。
2.如果手头只有与非门和与或非门,怎样用它们组成或门和或非门。
上期思考题答案
2(a).Z=ABC-C+ABC--C-
=AC(B+B-)+AC-(B+B-)
=AC+AC-
=A(C+C-)
=A
2(b).Z=A-B-
=AB+A-B-
=B(A+A-)+A(B+B-)
=A+B