(南蔚)霍尔集成电路是一种磁敏传感器,具有使用寿命长、无触点磨损、无火花干扰、无转换抖动、工作频率高、温度特性好等优点。有关霍尔开关电路的详细工作原理刊登在本刊86年第8期。本文介绍霍尔开关的一些应用实例。
图1是霍尔开关IC的内部功能框图。包括稳压、磁敏感区、放大、整形、开路输出五部分。稳压部分使IC能在较宽的电源电压范围内工作,开路输出使IC很容易地与众多的逻辑族接口。图2是单向磁场霍尔开关IC的转移特性曲线。由图2中看出,当外加磁场强度B上升到导通点B\(_{op}\)时,霍尔开关输出由高降为低;当B由大变小降至BRP时,IC输出由低变高。实际上,转移特性曲线是由IC内部施密特触发整形电路的输入、输出曲线演化而来。施密特电路的速度决定了霍尔开关的工作频率。


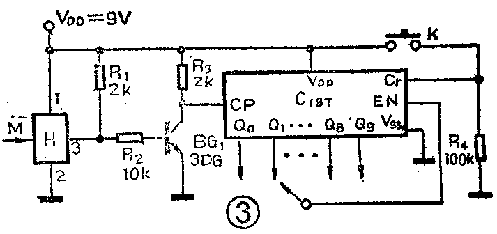
指针式石英钟如果配用一片霍尔开关IC,便可很方便地做成一部定时器。具体做法是:将霍尔开关IC固定在石英钟钟面“12”处,在石英钟分针顶端固定一块小磁钢。由于霍尔开关IC体积很小(4.5×4.5×1.5mm\(^{3}\)),并不影响石英钟的美观。在霍尔开关输出端接上一片CMOS十进制计数/译码器4017(C187),再适当选择石英钟分针起始点,便可构成一个0~9小时的定时器。电路见图3。每逢整点,霍尔开关H输出一低电子脉冲,经BG\(_{1}\)反相后做为C187的时钟脉冲。随时钟脉冲的不断加入,C187的输出Q0~Q\(_{9}\)依次出现高电平。此电平即可做为定时输出控制信号。注意,C187的“EN”端要接至定时输出端Q0~Q\(_{9}\)中的一端。例如需定时3小时,“EN”即与Q3端短接。三小时以后,Q\(_{3}\)输出高电平将时钟抑制。C187便停在此状态不再变化。如需再次定时,重按一下开关K即可。如需要循环定时,可参考图4电路。C187的“Cr”(置位)端接入了一个单稳电路。单稳的输入接至要循环的位数。如需要3路输出循环,即接至Q\(_{3}\)。这样Q0、Q\(_{1}\)、Q2将轮流输出高电平。当Q\(_{3}\)输出高电平时,触发单稳,使其输出一个宽度为15μs的正脉冲,将C187置位,使Q0再次输出高电平于是便可得到Q\(_{0}\)、Q1、Q\(_{2}\)的循环输出。公共汽车开关门均由售票员控制。售票员关好门之后向司机发出信号。若将三片霍尔开关电路分别装在公共汽车三个门的门框上。在车门的适当位置固定一块磁钢。如图5电路可知车门开着时,磁钢远离霍尔开关,故其输出高电平。门1、门\(_{2}\)、门3只要有一个门开着,H\(_{1}\)、H2、H\(_{3}\)就有一个输出高电平,则IC1-1就输出低电平。因此红灯亮、绿灯灭,指示司机不能开车。当三个门全部关上时,三块磁钢均靠近各自对应的霍尔开关,则H\(_{1}\)、H2、H\(_{3}\)均输出低电平。此时IC1-1输出高电平,红灯灭、绿灯亮,指示司机可以开车。



运动方向辨别:电路见图6(a)。在运动物体上安装一块稍大的磁钢,其长度要使得运动物体在某一位置时, H\(_{1}\)、H2均能可靠导通输出低电平。我们知道,D型触发器是时钟上升沿触发,且R端为高电平时复位,输出Q为低电平。平时H\(_{1}\)、H2均截止,A、B两点均为低电平。设物体自上而下运动,则首先触发H\(_{1}\),然后触发H2。见图 6(b)波形图。在t\(_{1}\)时刻,A'点上跳为高电平。因为触发器D1时钟端无变化,故Q\(_{1}\)仍输出低电平。触发器D2尽管其时钟端C\(_{2}\)上跳,但由于其R端仍为高电平,故Q2输出低电平。在t\(_{2}\)时刻,B点上跳力高电平,触发器D1改变状态,Q\(_{1}\)上跳为高电平,而触发器D2仍无变化。在t\(_{3}\)时刻,A点下跳,使触发器D1复位,Q\(_{1}\)变为低电平。t4时刻,B点下跳,对触发器状态无任何影响。所以,当物体自上而下运动时,Q\(_{1}\)输出一个正脉冲,而Q2一直保持低电平。同理可分析出当物体自下而上运动时,Q\(_{2}\)输出一个正脉冲,而Q1一直保持低电平。由Q\(_{1}\)、Q2的状态便可辨别出物体的机械运动方向。若运动物体做圆周运动,此电路便可以辨别出物体是正转还是反转。

不少读者以为霍尔电路与磁钢双方一定要相对运动才能起检测作用。其实不然,更多的是将磁钢和霍尔电路都固定,在被检物体上固定一块小铁片,当铁片运动到磁钢与霍尔电路之间时将磁力线短路,霍尔开关便截止输出高电平。如本例中便可将磁钢和霍尔开关相对固定,而在运动物体上加上一小铁片。如图7所示。此时还可节约两个非门,将霍尔开关输出与A、B点分别短路即可。

录音机全自停装置本刊已有多次介绍,但尚未见有使用霍尔开关的。笔者认为性能较好的是85年第10期所刊文章。原文采用光电检测,现改为霍尔开关检测。安装图见图8。电路见图9。其中将两片“555”用一片“556”代替。采用霍尔开关的好处是抗干扰能力强、省电且工作寿命长。


本文所用霍尔开关IC为CS3020和CS6837。CS3020与美国UGN-3020完全相同,主要参数如下:V\(_{cc}\)=4.5~24V,Bop=220高斯,B\(_{RP}\)=165高斯,最大灌电流:25mA,工作频率:>100kHz。CS6837的Vcc为4.5~9V,B\(_{op}\)=350—750高斯,BRP=100高斯;最大灌电流为12mA,引脚排列与CS3020相同,见图10,只是参数稍逊。注意霍尔开关的有字标平面为敏感面,要使磁力线垂直穿过敏感面。如发现不能触发,调换磁铁极性即可。
