(李文锋)无论是低压供电的电子装置还是一些便携式小型仪器仪表中往往需要较高的直流电压供电,虽然过去也有不少传统的升压方法,但本文将要介绍的直流升压方式则是目前体积最小,外接元件数量最少,转换效率最高的方式,并且能够实现多种大范围的升压要求。这种采用MC34063集成开关稳压器构成的升压电路,具有输出电压易调整,稳定性好及有过载保护功能等特点。
MC34063为美国莫托罗拉公司产品,也是我国集成开关稳压器的优选品种,其国内对应型号为CW34063,功能指标相同,可以互换使用。当然,它除有升压功能外还具有降压和反转极性的功能。
升压原理与电路结构
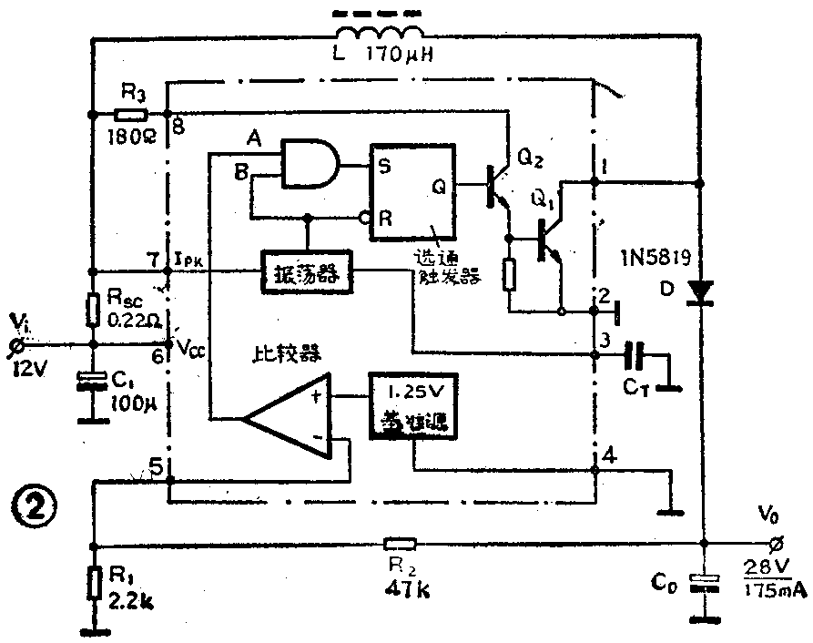
图1是开关式升压电路的工作原理。当开关S闭合时,供电电源E施加于电感L,电流流经L,该电流将从0逐渐增长直至最大值I\(_{P}\),此时二极管D不导通。当开关S打开时,电感中电流不能突然消失,它将通过二极管D流向负载,并同时向电容充电,电容C上的电压即为负载R上的电压。这时电源E中的能量和原电感中储藏的磁场能量同时供给电容和负载,直至开关S重新闭合,于是负载上得到的电压将高于电源电压E。开关S重复地闭合和打开,当其频率高于负载及电容RC乘积的倒数时,负载便可获得连续的直流高电压供给。

图2是MC34063(CW34063)的内部逻辑框图及接成升压电路的外围线路,这是一种脉冲宽度调制型的电路结构。内部电路包括振荡器、基准电压源、比较器、控制单元、输出及驱动电路。其内部振荡器的工作频率由外接定时电容C\(_{T}\)确定,振荡器的充电和放电电流分别为200μA和35μA,其比值约6:1。CT上电压波形的上阀值已被基准电压确定在1.25,下阀值为0.75V,如图3所示。在C\(_{T}\)电压线性上升期间,与门B输入端为高电平,此时如果开关电源的输出电压V。低于额定值,与门A输入端也为高电平,则S=“1”,选通触发器置位,Q=“1”驱动管Q2和输出功率管Q\(_{1}\)导通。Q1相当于图1中的S,此时电感L储存能量。当C\(_{T}\)电压上升至上阀值时,CT开始放电,B=“O”,使触发器的R端为1,触发器复位,Q=“O”,于是输出管Q\(_{2}\)、Q1关闭。如前述过程,输出电压上升至设定值。比较器的输出仅在C\(_{T}\)电压线性上升阶段内才能将选通触发器置位,导致Q2Q\(_{1}\)导通,一旦置位,Q端则维持高电平输出直至CT电压开始线性下降。当然,输出电压V\(_{0}\)高于设定值时,比较器输出低电平,与门也被关闭,选通触发器复位,Q=“0”,输出管Q2、Q\(_{1}\)截止,输出电压会降低,比较器起到了稳定输出电压的检测控制作用。


MC34063内部设置了过流保护,以防止输出短路或过电流。I\(_{pk}\)端是Q1管的限流传感输入端,限流作用依靠串在V\(_{cc}\)端与输出管Q1集电极之间的电阻R\(_{sc}\)上的压降变化来实现,当Rsc上的压降高于330mV时,此电压送入振荡器后将为C\(_{T}\)电容提供附加充电通道,CT电压立即快速升至上阀值后,促使与门关闭,输出关闭,达到限流保护的目的。如将I\(_{pk}\)接至Vi端,电路便不再具备限流功能。另外限流电路还有利于避免贮能电感饱和并实现软启动。
电路设计与应用
MC34063的升压电路设置如图2,这是按原理图1的基本设置。电路中各元件的参数计算公式如下:

式中V\(_{ces}\)为输出管Q1的饱和压降取1.0V。V\(_{F}\)为续流二极管D的正向压降;若用肖特基管为0.5V,若用快速恢复二极管为1.2V。Vi为输入电压,当V\(_{i}\)为不稳定电压时,取其最小值即 Vi(min)。f\(_{min}\)为最低工作频率。Vp-p(纹波)纹波电压峰峰值。
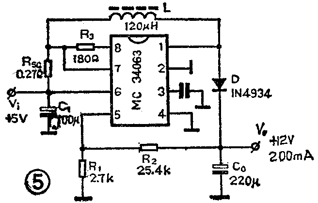
图4是采用MC34063扩展功率的电路。一般当MC34063输出电流大于250~300mA时,要考虑外接扩展功率开关管。功率开关管可用双极性的或VMOS管。器件的输入电压范围为2.5~40V,输出电压范围为1.25~40V。由+5V供电的电源系统若需+12V电源时,可采用图5电路。其输出端可给出200mA的最大输出电流。电感L可用磁芯自行绕制,E7磁芯,约绕40~50匝,电感量在120μH±10μH,也可使用E5,其体积更小。快速恢复二极管可用0.5, 100V以上反压, t\(_{r}\)≤0.5μs的。将+3V变换为+9V的电路如图6。+12V转换为+50V的电路需外接一功率开关三极管。电路如图7所示。外接功率管反压应高于100V。ts应小于1.5μs,t\(_{f}\)应小于0.5μs。



