用一块KD-154音乐集成电路和部分分立元件组装了一个不倒娃娃玩具,它具有自动报晓、音乐门铃,尿床报警等多种功能。如只作为玩具时,用手挡住光敏电阻上的光线时,不倒娃娃立即奏出一曲电子音乐、十分有趣。
电路工作原理
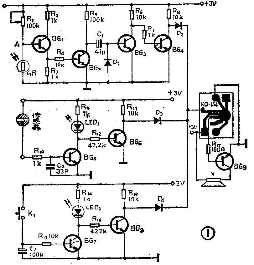
不倒娃娃玩具电路如图1所示。它由自动报晓、尿床报警、门铃电路三部分组成。

(一)自动报晓电路:当有光照时,光敏电阻阻值下降、A点电位下降。低电位经BG\(_{1}\)、R4传到BG\(_{2}\)的基极,使BG2由饱和转为截止。电源通过R\(_{5}\)、BG3的发射结给电容C\(_{1}\)充电,产生基极电流使BG3饱和。BG\(_{3}\)集电极的低电位信号由R7加到BG\(_{4}\)的基极,使BG4由饱和转为截止。BG\(_{4}\)集电极产生高电位,通过D2触发集成电路KD-154,产生音乐报晓。随着C\(_{1}\)的充电结束,BG3由饱和转为截止。BG\(_{3}\)集电极产生高电位,并使BG4饱和,BG\(_{4}\)的集电极产生低电位,报晓结束。报晓时间的长短由R5和C\(_{1}\)的容量决定。本电路报晓时间设计在20秒左右。当无光照时,A点电位上升,高电位经BG1组成的射极跟随器和R\(_{4}\)传输给BG2的基极,使BG\(_{2}\)由截止转为饱和。C1通过BG\(_{2}\)、D1进行放电,为下一次报晓作好准备。光敏电阻安装在不倒翁的外壳上,只要手触一下光敏电阻(遮一下光)就奏一次电子音乐,增加了趣味性。
(二)尿床报警电路:该部分电路见图1中间电路,无尿床时,传感器为开路状态,当婴儿尿床时,传感器传送信号电流给BG\(_{5}\)的基极,使其饱和。饱和电流使D5发光(红光),同时BG\(_{5}\)集电极的低电位通过R12使BG\(_{6}\)截止,BG6集电极产生的高电位信号通过D\(_{3}\)触发集成电路,奏响电子音乐,完成报警功能。
(三)门铃电路:当按下图1的下部电路K\(_{1}\)时,电源给C3充电,同时BG\(_{7}\)饱和,饱和电流使D6发光(绿)。BG\(_{7}\)集电极低电位通过R15使BG\(_{8}\)截止,BG8集电极上产生的高电位,通过D\(_{4}\)触发集成电路,奏响电子音乐。按钮K1松开时(K\(_{1}\)断开),C3上充有的电荷通过R\(_{13}\)、BG7的发射结放电,仍使BG\(_{7}\)保持饱和。当放电结束时,BG7由饱和转为截止,D\(_{6}\)熄灭同时BG8由截止转换为饱和,在集电极上产生低电位,使音乐停止。维持时间的长短由C\(_{3}\)的容量和R13的阻值决定,本电路设计在10秒钟左右。
元件选择与安装
BG\(_{1}\)~BG8选用3DG201(或3DG6、3DK均可),β要求大于80。BG\(_{9}\)选用3DX201。R1选用100kΩ微调电阻,D\(_{1}\)~D4选用2AP型锗二极管。传感器制作方法:在50×30(mm)的敷铜板上开0.3~1.5mm的浅槽断开敷铜皮就可以。

选用图3所示的不倒翁娃娃成品,把扬声器与两节五号电池装在娃娃的肚子里,并利用螺丝固定。在娃娃的两个耳部各装一个耳机插座,以便与门铃按钮和传感器连接。电路板装在娃娃的头部,并用纸壳固定。(陈能松)
