随着工农业生产的蓬勃发展,很多工程、操作需要有线对讲机进行联络、指挥。现有的对讲机多是用按钮开关进行听、讲交换,不够方便。而且使用不熟练就会漏话、失控等。由于本电路具有双向功能且无需转换开关,音量大、音质清晰、成本低、使用灵活等特点,故介绍如下。
工作原理
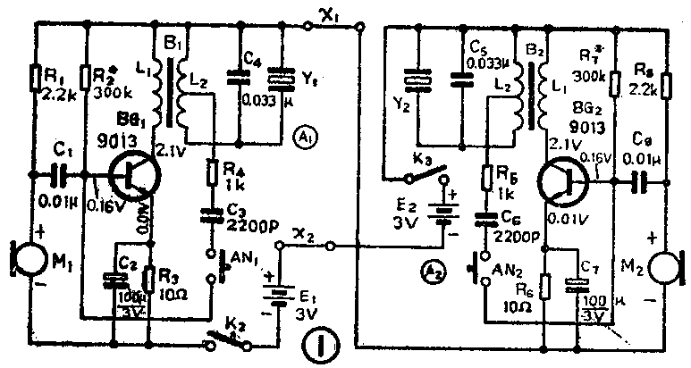
图1为WT-2双向对讲机的电路图。M\(_{1}\)为CRE2-9型驻极体话筒,它将话音振动转换成电信号,经C1输入至BG\(_{1}\)放大。放大后的信号经B1升压输出至对方和本机的压电陶瓷片发声。R\(_{4}\)、C3、AN\(_{1}\)组成RC反馈式振荡器,当按下AN1时可发出800Hz的音频呼叫声。R\(_{3}\)、C2为BG\(_{1}\)的负反馈电路,以减小失真。以上元件组成对讲机的A1分机,A\(_{2}\)分机与A1分机功能、元件等完全相同。X\(_{1}\)、X2为两分机的连接点,3V的E\(_{1}\)、E2分别为各分机的电源,实际使用时串联成6V供电。对讲机工作时,电源线中载入的音频信号在两机中同时放大、输出,但因B\(_{1}\)2输出相位差为90°,故对方声音宏亮,不会形成啸叫干扰。

制作与调试
图2为印板图。元件BG\(_{1}\)、BG2应选BV\(_{ceo}\)大于10V,β≥400的低噪三极管如9013。B1\(_{2}\)为特制的输出变压器,用D42厚0.5mm,截面3.5×5.5mm\(^{2}\)的E型硅钢片。初级L1用0.06mm漆包线绕1620圈,次级L\(_{2}\)用0.06mm漆包线绕1080圈,中间抽头。两机间的连线用普通双股电源线即可,总长可在500米以上。

电路装好后,测量两分机出线端的端压应为3V,总工作电流为0.4mA左右则为正常。若不对,可查电路元件有否损坏与接错。M\(_{1}\)、M2的端压及BG\(_{1}\)集电极对地电压均应在2.1V左右。电流、电压正常后即可进行对讲,话音应清晰无干扰,压下AN1、AN\(_{2}\)应能听到音频呼叫音,此时即可正常使用。本机由于耗电很小,即使电源常开也可连续使用一个月以上。(郑祥泰 朱玉庭)