AD590是用集成工艺制造的双端型温度传感器,它在-55℃~+150℃范围内能按1μA/K的恒定比率输出一个与温度成正比的电流,通过对此电流的测量,就可得到所需的温度值。
AD590在制造时逐个进行25℃(工作电压V\(_{+}\)=5伏)时输出电流的标定,并按标定的情况进行特性分档。下表是其主要特性及其分档情况。

AD590通常采用TO—52封装(在型号后辍以“H”,如AD590KH),其管脚如图1。(另有采用F2A封装的,辍以“F”。)其基本工作电路如图2(a),图2(b)是由(a)的原理派生的实用电路。


AD590有三个突出的优点:1.由于它是(恒)电流输出(输出阻抗大于10MΩ),故可在使用中用长达数百米的导线连接或用开关转换而不必作任何修正,这为遥测及集中控制创造了条件。2.它的供电电压对输出电流的影响极微,如其在+5V至+10V之间变动,影响只有0.2μA/V,所以AD590的供电电压在+4~+30V内任选一定值就可以。 3.它的功耗很低,一般工作时只有2mW左右,故可做成用电池供电的便携式仪器(与LCD数字电压表组合使用),以供野外流动场所的温度遥测遥控用。
使用中的校正
由于各档的AD590都有一定的标定误差和非线性误差,而且其输出电流与热力学(绝对)温标(K)成正比例,所以在用AD590构成具体的测控温电路时,都有必要对其进行温度校正,以期达到满意的测控温精度;在要用摄氏温标读数的场合,还要求电路具有温标转换的功能。
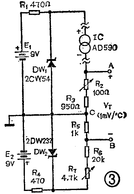
图3就是一个实用的测温电路。此电路简单,在60℃的测温范围内可获得较满意的精度,电路通过调节R\(_{2}\)来对指定测温范围的中点温度进行校正。例如欲在-20℃~+40℃范围内测温,则可在A、C两点接上200mV4\(\frac{1}{2}\)位数字毫伏表,将AD590置于10℃左右的变压器油中,另用有0.1℃分度的标准温度计监测油温(t);接通电源五分钟后,调节R2,使A、C两点的电压为(273.2+t)mV,校正即告完成。再调节R\(_{7}\)使VBC=+273.2mV,此电压起到热力学温标(K)和摄氏温标(℃)的转换之用。R\(_{2}\)和R7宜用带锁紧装置的小型线绕电位器,其它电阻用0.25W金属膜的,D\(_{1}\)可用5.5V左右的其它型号小功率稳压管代换。使用时AD590可按图用100米或更长的双股绞合长线与电路连接,在A、B二点照图所示的极性接入200mV满度的31;2位数字毫伏表,即可直读以℃为单位的、并有“+”、“-”显示的温度值。这种一点(温度)校正方法的实质是补偿标定误差,其原理简示于图4:该测温电路在t1和t\(_{2}\)之间使用,t3是其中点,即校正温度点。以图3的电路为基础,加上适当的切换,还可构成测量多点温度的电路(相应增加AD590),每路各有一个单独的“R\(_{2}\)”供校正中点温度。


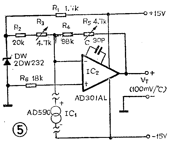
如要在更大的范围内测温,则要采用二点(温度)校正法。图5给出具体线路。先用R\(_{3}\)校正0℃(VT= 00.00V,3\(\frac{1}{2}\)位表20V档),随后用R\(_{5}\)校正100℃(VT=10.00V),再反复查校0℃和100℃二、三次无误就可。此电路输出较大,用31;2位表20V档要将小数点右移一位即可直读摄氏温标的温度数。校正时的油浴方法和对电阻类零件的要求参照图3电路要求。若测温上限超过+125℃,则要用±20V供电。IC\(_{2}\)用μA741类运放代替时,电容C取消。)此校正法的原理简示于图6。


应用举例
利用AD590的恒流输出特性,可以方便地用数个串联的方法测量多点中最低温度如图7;用并联的方法测量平均温度见图8;还可以实现二点温差测量的差值直读图9所示。图7和图8若要用摄氏温标,应加接图3的温标转换电路部分。以上三例在同一电路中宜选用同一档次的AD590。

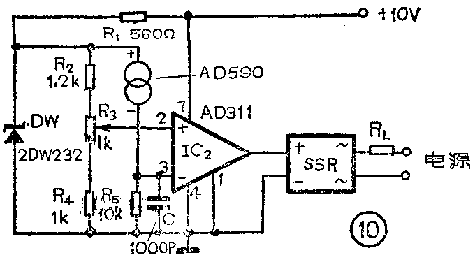
用AD590组成的单点温度控制电路如图10。图中R\(_{3}\)用于调节给定温度t0,t\(_{0}\)可在-73℃至+130℃范围内给定。若要再低可酌减R4,但要保持(R\(_{2}\)+R3十R\(_{4}\))=3.2kΩ,IC2AD311可以通用型的电压比较器替代。电路工作时,当t\(_{AD59}\)0<t0时,SSR(固态继电器)接通负载RL;t\(_{AD59}\)0≥t0时,RL的电源被断开(此功能可控制加热器);若要实现相反规律的控制,只须将IC\(_{2}\)的二个输入端接线对换(如控制致冷机开停就是如此)。

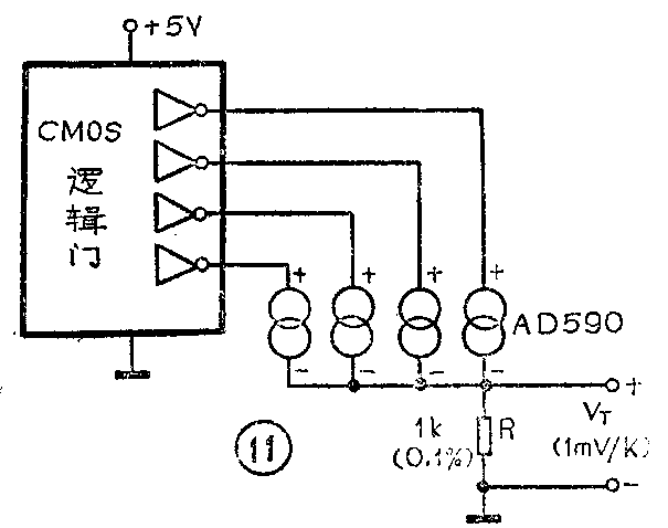
AD590还可以方便地时CMOS的逻辑电平表控制,如图11,电路中当某个CMOS门的输出为“1”时,则该回路的AD590就接通工作。当CMOS门单独或多个同时为“1”态时,就可在R上读取该回路相应的温度或各回路的平均温度。

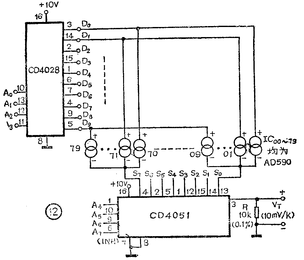
图12中的CD4028是CMOS的BCD码/十进制译码器、CD4051是CMOS八选一模拟开关。电路将CMOS逻辑电平控制和多路模拟开关控制相结合,最大限度地组合利用器件的通道容量,从而可以用八位二进制码来完成最多达80路AD590测温电路的通断控制,可以方便地实现计算机巡检。(完)(梁建宁)
