本文介绍的是一种单工无线对讲、收发报两用机,它工作于27.125MHz,由于采用石英稳频,从而使发射频率稳定,亦有效地提高了通信距离。如果调整得好,有良好的天线,在室外空旷开阔地,通信距离可达200米以上。它除可供行军野营时作通信联络、运动比赛报告成绩,射击练习的报靶等直接通话外,还可以供收发报练习用。电路设计由于采用了较合理的电路程式,所用的五个管子均参与发射及接收的工作,起到了一管两用的功用。它很适合无线电爱好者仿制。
电路原理
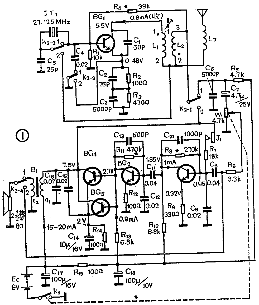
整机原理见图1,接收及发射状态转换由4×2的K\(_{2}\)负责,当K2置1时(自然位置)为接收;置2(压下)时为发射。K\(_{1}\)为电源开关,与接收音量电位器联动。

1.接收原理:BG\(_{1}\)在接收状态时由开关K2组成超再生检波电路。BG\(_{1}\)的等效电路见图2。C1为振荡反馈电容,使电路处于振荡状态。R\(_{1}\)、R4、R\(_{5}\)向BG1提供合适的静态基极电流。而L\(_{1}\)、L2、C\(_{1}\)、C2、C\(_{3}\)、C6则组成输入谐振四路,调L\(_{2}\)、L2的磁芯可使其谐振于27.125MHz、R\(_{2}\)、R3为直流反馈电阻,起稳定静态工作点的作用。从天线接收到的信号通过天线加感线圈加于L\(_{1}\)、L2的抽头,此时高频信号不能顺利通过L\(_{2}\),但却可以通过L1加于BG\(_{1}\)进行超再生检波,检波后的低频信号通过L1、L\(_{2}\),C7,W\(_{1}\),并由W1调节音量后送往BG\(_{2}\)、BG3,及BG\(_{4}\)、BG5组成的三级低放进行低频放大,然后由B\(_{1}\)耦合至扬声器发声,完成信号的接收过程。BG4、BG\(_{5}\)采用并联是为了增加输出电流,加大输出功率,尤其是为了在发射状态时增加送往发射管的调制功率。R15、C\(_{17}\)、C18则组成电源的退耦电路,防止产生不必要的自激振荡。

2.发射原理:BG\(_{1}\)接成发射状态时的简化电路见图3,由BG1及C\(_{1}\)、C5、L\(_{1}\),JT1组成高频振荡电路,27.125兆赫的石英晶振串于正反馈回路用以稳定振荡频率。在谐振频率上,石英等效为一纯电阻,且阻抗最小,于是27.125MHz的反馈最强,使振荡稳定在27.125MHz上。在发射状态时,BG\(_{1}\)还兼任集电极调制工作。从低放级来的音频调制信号从L1、L\(_{2}\)进入BG1的集电极以调制高频振荡信号的幅度,使高频振荡信号成为已调波,再通过天线加感线圈发射出去。L\(_{3}\)为天线加感线圈,主要作用是使发射机的输出信号能高效率地送入天线,以缩短发射天线长度, 采用集电极调制可以有较大的输出功率,以提高发射距离。此外还有调制特性好、失真小、效率高的优点。但集电极调制需要较大功率的调制信号。为此,从扬声器(作话筒用)检拾到的声音信号经过三级低放才送去调制高频信号。在末级、为了加大输出调制功率,采用双管并联的方式。这种方式电路简单,调试取材容易。原线路板中设计了三个管子的位置,当需要加大激励电平时,可再增加一个末级功放管,形成三管并联方式工作。

R\(_{7}\)通过电键的触点使三级低放电路组成低频自激振荡电路,这个振荡信号可供双人通信联络时作呼叫信号,也可作为发报信号。
调试
低频放大级的调试与一般收音机低频放大级的调试一样。末级两管的电流在15~20mA之间,若末级采用三管并联,则电流还可取大些。BG\(_{3}\)的集电极电流约0.9mA,BG2的集电极电流约1mA。整个低放级的电流约20~22mA,但按下J\(_{1}\)时,低放处于自激状态,电流会急剧增加,大约可增至40mA。
BG\(_{1}\)处于接收时的电流约0.8mA,处于发射时的电流约15~20mA,一般元件质量良好,数值正确,晶体管β有较大的富余量,直流工作点都可以接近上述数值。当β值与要求值相差太远时,可通过调整R4、R\(_{8}\)、R11等偏流电阻使各级直流工作状态符合上述数值。此时按下电键J\(_{1}\),应听到清脆的“嘟”声,用手捏螺丝刀碰BG2的基极应能听到扬声器发出交流声。适当改变R\(_{7}\)的数值,可获得不同的音调的呼叫声,R7 大,音调高,R\(_{7}\)小,音调低。直流工作状态正常后便可进一步调整超再生级及高频振荡级。
超再生级的调整:接通电源,音量开至最大,从扬声器中应能听到强烈的超再生“沙沙”噪声,超再生级能否正常工作是接收的关键。如扬声器发出的“沙沙”声小,或没有,可检查BG\(_{1}\),是否良好,C是否漏电,容量是否合适,如果没有问题,可调整R4,使扬声器中的噪声最大,固定R\(_{4}\),超再生级便告调试完毕。
高频振荡级的调整:压下K\(_{2}\),此时BG1处于发射状态。集电极电流从0.8mA急增至20mA以上,此时用手捏螺丝刀的金属部分碰触BG\(_{1}\)的基极,集电极电流应明显变化,这说明电路已起振。如电流无变化,可检查C1、C\(_{5}\)是否合适,有没有漏电,管子的β、fT是否符合要求也可调换BG\(_{1}\)一试。
联调:同时接通两部对讲机的电源,两机均应有强烈的超噪声。压下甲机的工作状态开关K\(_{2}\),使甲机处于发射状态,此时甲机的扬声器用作话筒,故甲机是“静”的。若甲机的发射频率与乙机的接收频率一致,乙机的超再生噪声会明显减弱甚至消失。调整乙机的L1、L\(_{2}\)内的磁芯,使乙机的超噪声最小,此时关掉甲机电源,乙机的超噪声又起,至此动机的接收基本调试完毕。把甲、乙机的工作状态互换,重复上述过程调试甲机。当甲、乙两极均能收发时,接上良好的拉杆天线,长度在75cm~1.5m左右,便可拉开距离细调,调试步骤同上,直至声音清晰,通话距离最远为止。
元件的选用
BG\(_{1}\)可用2SC1390,2SC945等高频管,也可用国产的3DG代替,一般要求管子的fT≥250MHz,I\(_{CM}\)≥50mA,β≥150。BG2~5可用2SC945,9014,1402等高频管,β≥200,当β小于上述数值时,电路需重新调整偏流。
L\(_{1}\),L2在外径φ4mm的尼龙骨架上用φ0.2漆包线单层密绕3.5匝和4匝,L\(_{1}\)的头为1,尾为2,L2的头为2,尾为3。尼龙骨架内加用φ3×8mm的高频磁芯作调电感用。
L\(_{3}\)为天线加感线圈,用φ0.5mm的漆包线在内径3.5mm的圆柱骨架上单层密绕25匝,然后去除骨架脱胎而成。
B\(_{1}\)采用E3.2×5mm2的硅钢片铁芯。初级n1用φ0.2mm 漆包线先绕100匝,中间夹绕次级,然后再绕500匝,两绕组同向串联而成n\(_{1}\)。次级n2采用φ0.2mm漆包线绕80匝。次级夹在初级中间是为了减少漏感。业余制作可用普通半导体收音的输出变压器代替。
工作状态开关K\(_{2}\)采用4×2压簧自复位开关(无锁),平时常置1,即接收状态,压下时为发射状态,松手后自动回复到1状态。J1为呼叫发报开关、采用弹性磷铜片弯制另加铜铆钉作触点而成,可满足一般的呼叫需要。当需要专门用于发报或练习发报时,可另加发报专用电键,并联焊于J\(_{1}\)两端即可。
W\(_{1}\)为接收时的音量调节,与电源开关联动。发话时W1是不起作用的。电解电容耐压大于10V即可,当需提高发射距离增加电源电压时,电解电容的耐压也要相应提高。其它电容可用高频瓷介电容。电阻用一般1/8W的碳膜电阻即可。
由于本机工作电流较大,正常20mA,发射时近50mA故应随时检查电池的电量是否充足以免影响通信距离。(王辉)