最近新试制出来的BJ829型电子电位器,其性能达到国外同类产品的水平。用于电器设备的声频输出增益控制,可提高整机的性能指标。下面详细介绍一下它的工作过程。
电路工作原理
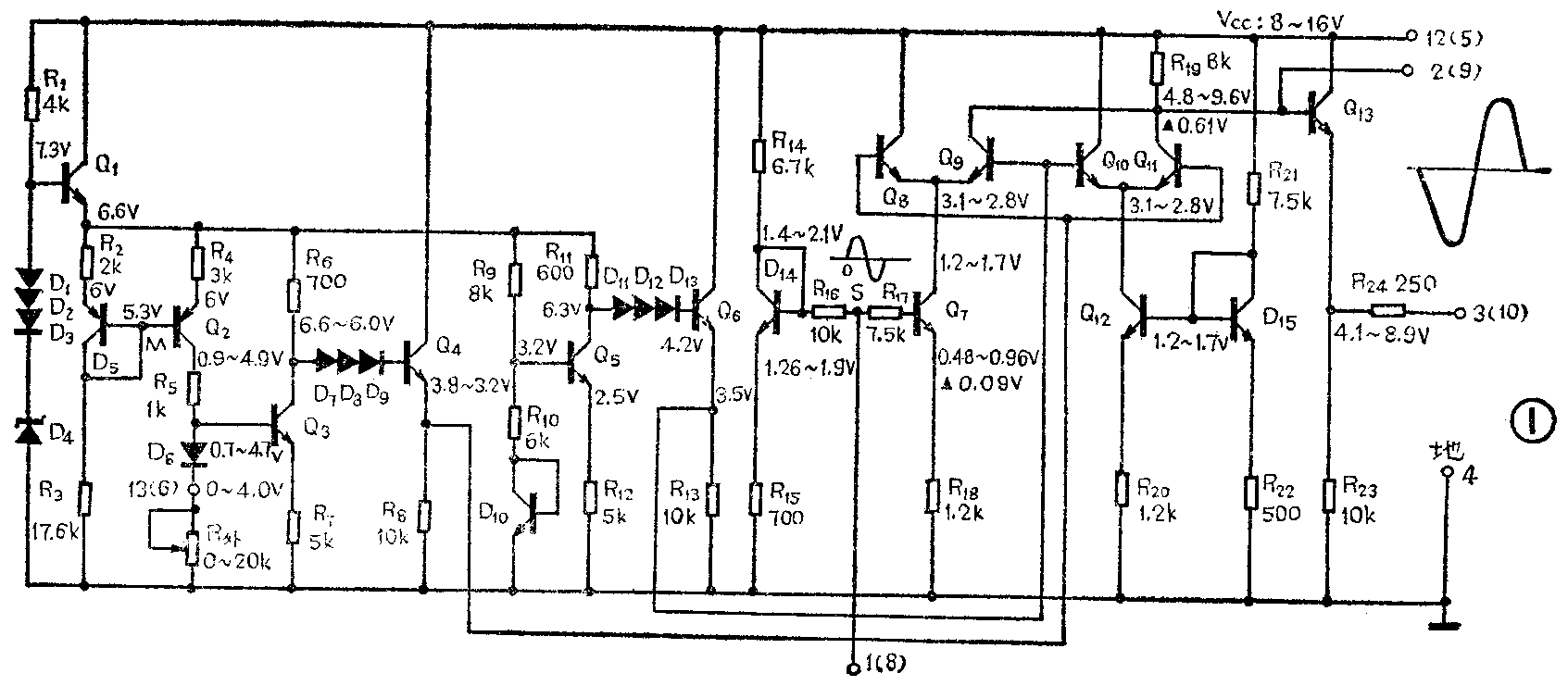
电子电位器的电原理图如图1所示。它由控制、恒压和放大三部分组成。

1.控制部分:图1中,Q\(_{1}\)为射随管。D4为一只5.2伏的稳压管,当接通电源后,Q\(_{1}\)基极电位被钳位于7.3伏,而射极被钳位于6.6伏。控制部分由恒流源R2、D\(_{5}\)、R3、R\(_{4}\)、Q2、R\(_{5}\)、D6、R\(_{外}\)和放大管Q3、R\(_{6}\)、R7、D\(_{7}\)~D9以及射随管Q\(_{4}\)、R8组成。由图中所标数值可计算V\(_{bQ2}\)=(VeQ1-V\(_{EB}\))·R3/(R\(_{2}\)+R3)=5.3伏,其中V\(_{EB}\)为PN结压降。由于Q2的e极、D\(_{5}\)的正端与公共端M点都相差一个正向压降,所以有VeQ2≡V\(_{D5正}\),即IR2R\(_{2}\)≡IeQ2R\(_{4}\),或是IeQ2=I\(_{R2}\)R2R\(_{4}\)=VeQ1-V\(_{EB1}\);R2+R\(_{3}\)·R2R\(_{4}\)。当R2、R\(_{3}\)、R4确定后,由于V\(_{eQ1}\)被钳位于6.6伏,是定值,所以IeQ2即为定值,这时它与Q\(_{2}\)管集电极电路负载大小无关,即IcQ2(≈I\(_{eQ2}\))是恒流的。要使Q2的恒流特性好,Q\(_{2}\)必须工作在线性区。为确保负载变动时,ICQ2稳定不变,要求Q\(_{2}\)管的输出特性曲线尽量平坦(交流内阻越大越好)。
Q\(_{3}\)管的β值设计在60~90之间,射极电阻R7又较大,所以其输入直流阻抗R\(_{in}\)≈βR7可达几百千欧,因而作为Q\(_{2}\)管集电极电路等效负载可近似认为是R5+R\(_{外}\)。由IcQ2≈\(\frac{V}{_{eQ1}}\)-(VbQ2+0.7)R\(_{4}\)=0.2mA,有VcQ2=I\(_{cQ2}\)(R5+R\(_{外}\))+0.7,VbQ3≈I\(_{cQ2}\)R外+0.7,V\(_{eQ3}\)=VbQ3-0.7=I\(_{cQ2}\)R外。由上式可见,当R\(_{外}\)↑时,VcQ2↑、V\(_{bQ3}\)↑、VeQ3↑,而V\(_{cQ3}\)↓、VeQ4(=V\(_{bQ8}\)、VbQ11)↓,V\(_{eQ4}\)是跟随VcQ3的,且V\(_{cQ3}\)-VeQ4=4V\(_{BE}\)=2.8伏。
①R\(_{外}\)=0:由于VeQ3=V\(_{R外}\),R外=0,使V\(_{R外}\)=VeQ3=0,故Q\(_{3}\)处于截止状态。此时VcQ2=0.2mA×R\(_{5}\)+0.7=0.9伏。因IcQ3=O,V\(_{cQ3}\)≈VeQ1=6.6伏。V\(_{eQ4}\)=6.6-2.8=3.8伏。
②0<R\(_{外}\)≤20kΩ时:此时VeQ3>0,放大管Q\(_{3}\)进入线性工作区。随着R外↑、V\(_{cQ2}\)↑、VbQ3↑、I\(_{cQ3}\)↑,而VcQ3↓、V\(_{eQ4}\)↓、(VbQ8=V\(_{bQ11}\))↓。当R外=20kΩ时,V\(_{cQ2}\)=4.9伏、VbQ3=4.7伏、V\(_{R外}\)=VeQ3=4.0伏、V\(_{cQ3}\)=6.04伏、VeQ4=V\(_{bQ8}\)=VbQ10=3.24伏。这些数据表明,Q\(_{2}\)、Q3均工作在线性区。
由于Q\(_{2}\)恒流管的恒流作用,当调整R外时,只改变Q\(_{3}\)的基极电位,进而改变Q4的射极电位(R\(_{外}\)=0,VeQ4=3.8伏,R\(_{外}\)=20kΩ时,VeQ4=3.2伏),使控制部分输出一个能在固定范围内变化的直流电压,通过对Q\(_{8}\)、Q11的控制达到对输出增益的控制。
2.恒压部分:该部分由R\(_{9}\)、R10、D\(_{1}\)0、R11、Q\(_{5}\)、R12以及降压二极管D\(_{11}\)~Dl3和Q\(_{6}\)、R13组成。由于V\(_{eQ1}\)=6.6伏固定,恒压部分元件参数也是固定的,由图所标数值可求得VbQ5=3.2伏、V\(_{eQ5}\)=2.5伏、VcQ5=6.3伏、V\(_{bQ6}\)=4.2伏、VeQ6=3.5伏。进而可使V\(_{bQ9}\)、VbQ10具有恒定的3.5伏电位。
3.放大输出部分:放大部分由C极交叉耦合、b极两两相共的Q\(_{8}\)~Q11,双差分放大级及其恒流管Q\(_{7}\)、Q12和负载R\(_{19}\)组成。R14、D\(_{14}\)、R15,R\(_{21}\)、D15、R\(_{22}\)分别为恒流管Q7、Q\(_{12}\)的偏置部分。因恒流管e极均接有电阻故与其偏置部分仍形成比例式恒流源。
输入信号经1脚(或8脚)加至S点,放大的信号由Q\(_{9}\)、Q11的共C极取得,再经射随管Q\(_{13}\)由其射极输出。R16可减小信号源的功率,而R\(_{17}\)可提高输入信号的幅度。
放大输出级中恒流管Q\(_{7}\)、Q12的恒流电流是很容易算出的,只是由于Q\(_{7}\)的b极接入R16、R\(_{17}\)后,为取得与Q12相同的偏置状态,偏置电阻R\(_{14}\)、R15与R\(_{21}\)、R22的数值略有不同。即为使V\(_{bQ7}\)=VbQ12,D\(_{14}\)正端电位VD14正要比V\(_{bQ12}\)高出IbQ7(R\(_{16}\)+R17)的电压。不难看出,V\(_{bQ12}\)=Vcc-0.7R\(_{21}\)+R22·R\(_{22}\)+0.7,而IcQ12≈I\(_{eQ12}\)=VbQ12-0.7;R\(_{2}\)0,其偏置电流ID15=\(\frac{V}{_{cc}}\)-0.7R21+R\(_{22}\)。对于Q7则有V\(_{D14正}\)=Vcc-0.7;R\(_{14}\)+R15·R\(_{15}\)+0.7,VbQ7=V\(_{D14正}\)-IbQ7(R\(_{16}\)+R17)=V\(_{D14正}\)-VD14正βR\(_{18}\)+R16+R\(_{17}\)·(R16+R\(_{17}\)),其中βR13是Q\(_{7}\)射极电阻折合于基极的等效电阻。其偏置电流ID14=V\(_{cc}\)-0.7;R14+R\(_{15}\)。根据差放原理:IcQ7=I\(_{cQ8}\)+IcQ9,I\(_{cQ12}\)=IcQ10+I\(_{cQ11}\)。当VbQ8Q11-V\(_{bQ9Q1}\)0≥100mV时,恒流管Q7、Q\(_{12}\)的电流全部流过Q8、Q\(_{11}\),而IcQ9=I\(_{cQ1}\)0=0。当VbQ8Q11=V\(_{bQ9Q1}\)0时,IcQ8=I\(_{cQ9}\)=\(\frac{1}{2}\)IcQ7,I\(_{cQ1}\)0=IcQ11=1;2I\(_{bQ12}\)。反之,当VbQ8Q11-V\(_{bQ9Q1}\)0≤-100mV时,恒流管Q7、Q\(_{12}\)的电流全部流过Q9、Q\(_{1}\)0,即IcQ8=I\(_{cQ11}\)=0。只要偏置适当,Q7、Q\(_{12}\)电特性一致,Q8~Q\(_{11}\)电特性一致,既能保证IcQ7=I\(_{cQ12}\),又能确保当VbQ8Q11相对于V\(_{bQ9Q1}\)0变化时,+cQ8(或-cQ8)、+cQ11(或-cQ11)同-cQ9(或+cQ9)、-cQ10(或+cQ10)相等。这样,由于双差分放大器C极呈交叉连接,流过负载电阻R19的电流在V\(_{cc}\)一定时始终为定值并等于IcQ7(=I\(_{cQ12}\))。为此,VcQ11=V\(_{bQ13}\)=Vcc-I\(_{cQ7}\)R19是恒定的。显然V\(_{eQ13}\)=VbQ13-0.7伏也是恒定的。
在前面已经谈到V\(_{bQ9Q1}\)0=VeQ6=3.5伏,受R\(_{外}\)控制的VbQ8Q11=V\(_{eQ4}\)在3.24~3.8伏之间变化。R外的这种变化引起Q\(_{8}\)~Q11的电流分配比的改变,在R\(_{19}\)上产生的压降是抵消的,因此VcQ11是不变的。例如,如前所述R\(_{外}\)↑,VbQ8Q11↓时,1\(_{cQ11}\)要减少-cQ11,I\(_{cQ8}\)减少-cQ8,且-cQ8=-cQ11。而I\(_{cQ9}\)和IcQ10要分别增加+cQ9和+cQ10,且+cQ9=+cQ10。由于Q\(_{7}\)、Q12电流恒定且相等,则+cQ9=-cQ11,它们在负载R\(_{19}\)上产生的压降是相互抵消的,VcQ11仍为V\(_{CC}\)-IcQ9R\(_{19}\)。即VbQ8Q11的改变不会引起输出端直流电位的改变。同理,电位器R\(_{外}\)活动触点接触不良所引起的VbQ3波动也不会在输出端出现。
电路工作过程
输入信号由1脚(或8脚)经R\(_{17}\)加在Q7的b极。Q\(_{7}\)既是恒流源又是放大器,放大后的交流信号有两条通路:一条是Q7的C极→Q\(_{8}\)的e极→Q8的C极→V\(_{cc}\)。另一条是Q7的C极→Q\(_{9}\)的e极→Q9的C极→R\(_{19}\)→Vcc。当Q\(_{9}\)共射放大系除β值很大时,即可以认为IeQ9≈I\(_{cQ9}\)。于是可以对Q7按一般共射放大器计算其放大倍数K\(_{V}\)。设Q7端输入电流为i\(_{b}\),负载R19上的电流为i\(_{cQ9}\),则放大倍数KV≈6.12(设β=70,计算略)。因i\(_{cQ9}\)=icQ7-i\(_{cQ8}\),只有当VbQ9Q10-V\(_{bQ8Q11}\)≥100mV时,即icQ9=i\(_{cQ7}\)、icQ8=0时,负载上才有最大的信号输出。当输入信号为100mV时,R\(_{19}\)上输出信号电压UR19=612mV。由于射极输出级的射极电阻R\(_{23}\)很大,发射极结电阻re很小,基极电阻r\(_{b}\)大致在数百欧左右射极随器电压传输系数近似为1,因此从3脚(或10脚)得到的输出信号也接近612mV。由于Q13e极相位与Q\(_{11}\)C极相同,而Q11C极(即Q\(_{9}\)C极)相位又与Q7b极输入信号相信相反,所以3脚输出信号与1脚输入信号反相。该电路在V\(_{cc}\)=16V时,允许输入信号为460mV。当Vcc=8V时,输入信号可达200mV。
主要电气性能·封装及管脚
电源电压范围8~16V。电压增益11~17dB。衰减量≥80dB。静止工作电流(单)8~14mA。声道串音(双):衰减60dB以上。残留输出噪声电压≤150μV。
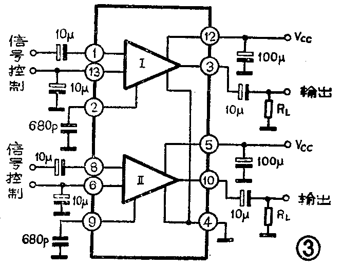
采用黑色陶瓷外壳封装,双列直插引线,见图2。7、11、14为空脚。2、9脚用于滤除残留载频和高音外接电容。4脚为双电子电位器公共地端。1、2、3、12、13组成一个电子电位器,5、6、8、9、10组成另一个电子电位器。单电子电位器用于单声道,双电子电位器用于双声道。其应用电路见图3。(潘广谅)

