采用美国莫托罗拉(Motorola)公司生产、研制的大规模集成电路MC13007P组装的CORONAR型黑白电视机系由香港设计、国内生产的。由于这类电视机结构简单、成本低,所以目前还有一部分市场,而且用户也不少。但在使用中经常出现了各种故障,特别是一些关键件损坏后,在国内无法配置,因此在这里着重讨论该机所用集成电路损坏后的应急修理。
MC13007P外形为双列直插式结构、28脚引出,图1为其内部功能方框图,它是在12000μm\(^{2}\)的硅衬底单晶上集成了200多个线性器件,200多个I2L门电路、1MΩ的电阻和120pF的电容器,总功耗低于500mW。除了调谐器电路、伴音通道和功率输出电路外,它包括了黑白电视中所有的小信号处理功能。这些作用包括消噪、视频处理、黑电平箝位、直流对比度控制和束电流限制;图象中频检波器虽然没有调谐线圈和引出脚,但也集成在其中;它的静噪是通过噪声滤波器实现的;由于电视电路中的振荡电路通常要求并不严格,所以也集成在内部;MC13007P的场扫描部分采用了高性能的数字分频电路;而行频采用了两个锁相环的低压启动电路;此外,它还有抗干扰电路,用以保护同步分离和健控AGC系统。

为了检修方便,表1列出了各功能管脚的作用和正常工作状态下的直流电压值;图2给出了有关管脚在正常工作状态下的电压波形。该机的整机电路图曾在本刊1987年第9期24页上刊登过。下面介绍几种常见故障的应急检修方法。


1.图象失步:CORONAR型电视机经常发生图象上下跳动,它是由于场频是用数字分频技术,将31.25kHz的行频经625次分频,并用双稳态触发器加以反馈,以获取50Hz,所以它没有场频调节装置,因此,使用中也就无法通过外部调整改善图象质量;而且MC13007P的同步系统对畸变或压缩的同步信号适应力差,一旦当接收到的信号的同步头稍有变化时,便很容易产生跳动,严重的时候,甚至无法收看,检修过程中,会发现脚电压明显地偏离表1所给出的正常值5.7V。应急修理主要是利用外电路的元件进行调整,以适当提高场同步时间,保持其同步能力,具体做法是:将电原理图中的电阻2R\(_{22}\)由470Ω改为1~2kΩ,2R24由1MΩ改为3~5MΩ,如欲为求得更加准确的稳定把握,也可以分别在这两个电阻位置上,先用电位器调节,当获得最佳图象效果后,再重新换上小功率\(\frac{1}{8}\)W固定值的碳膜电阻,就能确保图象质量。
还有一种图象失步的现象,虽然与上例十分相似,但在检测时,各管脚电压恰都很正常,这主要是由于在MC13007P中行振荡的同步采用了双回路锁相技术,当电路中个别元器件的电参数发生变化时,例如当环境温度升高时,就会导致晶体二极管2D\(_{1}\)(INKK8)正向压降VF和正反向电阻R\(_{F}\)、RR电阻增大和减小,从而使电路阻抗发生变化,影响同步分离效果,特别是行同步分离不良时,由于行频保持范围较宽,所以行电路尽管仍能维持同步,但却会影响场同步。这一类场失步故障的应急修理可适当改变行同步分离时间,最好用一只阻值在150kΩ以内的电位器替代MC13007P⑦脚外所附分离网络中的电阻2R\(_{9}\)(390kΩ),当调整该电位器到图象最为稳定时,记取其数值,并最终以一只\(\frac{1}{6}\)~1;8W的小电阻焊上。
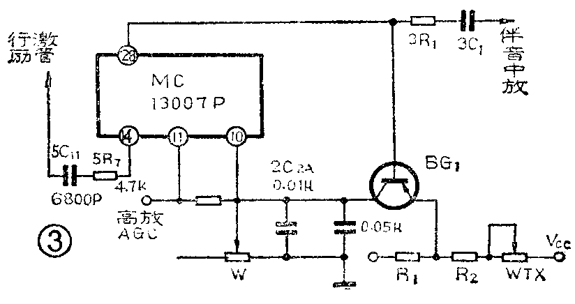
2.无图象:在电视机出现无图象故障,并测试各功能管脚电压时,对照表1,发现唯有MC13007P⑧、⑨脚由正常值0~2.8V和0~2.2V上升到5~7V,这便说明是MC13007P内部电路中AGC控制和AGC放大电路之间有开路现象。应急修理也可利用外电路元器件来弥合内电路的中断,首先从取出全电视信号给外接晶体管BG\(_{1}\)(3CG21)基极作ACG控制;再在BG1发射极接电阻R\(_{1}\)(1k)、R2(300Ω)和微调电阻WTX(510Ω)组成的分压电路,同时在WTX一端接电源V\(_{CC}\)(12V),以提供合适的工作电压;将BG1集电极输出的控制电压V\(_{C1}\)接到MC13007P的⑩脚,如图3所示。检修过程中,可以一方面调节WTX来改变AGC起控电压,使图象最为满意;另一方面将⑩脚外接电容器2C2A(0.01μ)适当加大到0.06μ,也可如图3所示,给2C\(_{2A}\)并联上一只0.05μF的电容器,使时间常数更趋于电路的要求。

3.行干扰条:当荧光屏两侧出现明显的垂直行干扰条,而且使用单天线在高增益情况下和低频道(1~5频)收看时特别严重;用示波器观察MC13007P脚波形时发现,当改变行推动晶体管集电极旁路电容时5C\(_{11}\)(0.033μF),只会改变图2所示脚波形中前后沿的陡度和脉冲间的相对位置,并影响干扰条纹在光栅上的左右位置;但对干扰条纹的强弱则无明显作用,由此可见,这完全是MC13007P的固有缺陷,具体来说,这是由于光栅信号辐射影响集成电路而造成的。检修时可用手缓慢靠近其脚,便会发现此时干扰更加严重,如用示波器测试脚的波形,则会看到其幅度下降到0.6VP-P。应急修理主要应考虑到MC13007P内部振荡器所产生的振荡波形是一个锯齿波,经限幅切割后形成矩形脉冲由脚输出,而切割电平是由脚第二级鉴相器所决定的,因此可将外围行激励级晶体管TR\(_{6}\)(MPS9434)的集电极至脚间的电阻5R7(4.7k)、电容5C\(_{11}\)(6800P)进行适当调整,实践证明,如能将5R7减为2.2k,5C\(_{11}\)减为3300pF,可提高其对行干扰的抑制能力,有效地消除屏幕上的垂直条。
以上是该机几种常见故障的应急检修,为了方便读者,我们配合文章组织了元器件邮购业务。
如果该机的一些关键元器件损坏,可与北京康乐电器厂联系邮购,这些元器件的单价是:行输出变压器:13.50元/只,行输出管BU406:10元/只,偏转线圈:8.50元/只,电源调整管BU676:5.50元/只,伴音集成电路TDA2611A:19.50元/块。另外还有部分TDA4500,单价:26.50元/块,以上各项均加邮费1元。
邮购部地址:北京市广外菜户营东街148号,电话:361172。需要购买元器件的读者,请把款直接寄到北京康乐电器厂邮购部,切勿寄到本编辑部。(为民)