音乐滚珠玩具的外形见图1。它是在滚珠玩具上添加了音乐及声光电路,使玩具增添了趣味性和实用性。滚珠玩具有益于锻炼儿童双手的灵活性及调节平衡的能力,还可以磨炼意志和培养耐心。

游戏时,用手适当倾斜小圆盒,使里面的滚珠由入口处进入到入口井即绿色井,然后沿同心圆的隔层滚动,避开陷井(红色井)通过隔层缺口滚进圆心处的目的地蓝色井,这时就会听到一首乐曲。如果再重复一次上述过程,则有十二首不同的乐曲循环演奏。有趣的是在隔层之间没有若干个红色陷井,如果玩时滚珠进入陷井,则会响起救护车的警报声,同时红灯亮,此时必须使滚珠重新返回到绿色入口井,才能使警报声停止,红灯灭。否则即使进入目的井,也不会演播乐曲。滚球进入入口井后,直到进入目的井之前,会响起消防车的警报声,同时绿灯亮,仿佛摧促游戏者快些把滚珠送达目的地。此音乐滚珠玩具的电源用两节五号干电池,工作电流5毫安。
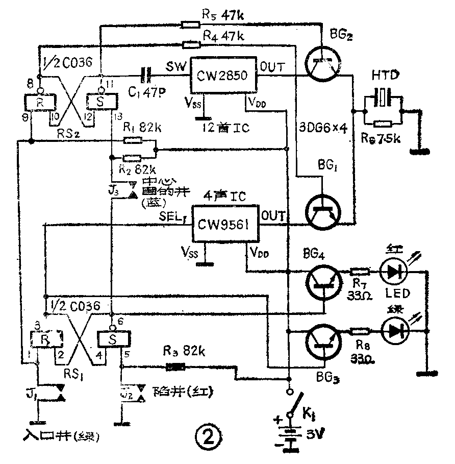
电路原理
电路原理见图2。由4×2与非门构成两个RS触发器,分别控制两个音乐IC。两个RS触发器的置零端均接“入口井”(J\(_{1}\))。滚珠进入入口井时,J1短接,RS被置零。此时,C036的3、8脚为高电位,BG\(_{1}\)、BG3导通,BG\(_{2}\)、BG4截止。4声IC的SEL\(_{1}\)端为高电位,压电片发出消防车警报声,同时绿色发光二极管BG6亮。

当圆心处目的井(开关K\(_{3}\))被滚珠短接时,因C036的6脚为低电位,故RS2翻转置1,11脚为高电位,12首IC被触发演播一次,BG\(_{2}\)导通,BG1截止,压电片HTD输出乐曲声。每重复上述过程,即RS\(_{2}\)每置1一次,12首IC则演播一次。
当滚珠进入陷井时,K\(_{2}\)短接,RS1翻转置1,SEL\(_{1}\)端为低电位,4声IC输出救护车声信号,BG4导通,红色LED亮。因C036的6脚为高电位,即使K\(_{3}\)短接,RS2也不能翻转,此时滚珠必须回到入口井,将RS\(_{1}\)重新置零,RS2才有置1的条件。
图2中4×2与非门选用C036集成电路。压电片选用直径为φ27的,BG\(_{1}\)~BG4为3DG6型三极管,开关触点J\(_{1}\)~J3自制。滚珠的直径为φ6。
制作方法
1.壳体制作:壳体由化妆品盒改制,分上下两层。上层为圆环结构及各“井”的开关,下层为电路板及电池。上层结构见图1,下层布局见图3。上盖为透明塑料板。

2.同心圆环制作:用直径相仿的塑料瓶盖、塑料盒等锯下的环状部分制成,然后将环粘接在打好“井”孔的底板上。
3.“井”开关制作:图2中J\(_{1}\)~J3为“井”开关触点,内部结构如图4所示,在固定圆环的底板上钻φ4的孔,滚珠进入“井”孔时,靠珠的重力将孔下的簧片压下与焊在双面敷铜板上的空心铆钉接触。簧片采用0.17毫米厚的紫铜皮剪成20×4的长条,一端焊接在敷铜板上,另一端为触点,在簧片上面触点端贴上相应颜色的纸,使其漏出“井”孔。

4.印刷电路板:如图5所示,元件一律焊在敷铜面,外接引线及交叉线由另一面钻孔引入。IC各端脚直接焊在相应的接点上。

5.HTD共鸣箱:如图6所示,找φ25塑料瓶盖锯下圆环,粘在后盖放音孔处。金属网罩住放音孔并粘牢在后盖上。

调试方法
1.将滚珠放入各“井”孔内,用万用表检查相应开关触点是否接触良好,否则需调整簧片弹性。
2.检查RS触发器。短接K\(_{1}\),C036集成块的3、8脚应为高电位;然后短接K3,RS\(_{2}\)应翻转。短接K2,RS\(_{1}\)应翻转,否则应检查C036及外围电路有否问题。
3.分别短接J\(_{1}\)、J2、J\(_{3}\)应有相应的声音和灯光指示,否则检查音乐IC、外围电路及发光管LED。调整R7、R\(_{8}\)使LED有适当的亮度。(赵利群)