目前各种电子设备中使用的直流稳压电源大多是线性串联型稳压电源。它是由取样、基准电压、比较放大和串联调整管等组成的,见图1。当输出电压发生变化时,通过取样电路得到的取样电压,经过比较放大后去控制调整管的电流,改变调整管两端的电压降,从而使输出电压稳定在一定的范围内。这种稳压电源因调整管中总有电流流过,而且管压降也较高,故管子的功耗较大、温升也高,必须使用散热器。这样整个电源的体积和重量都加大,而效率却不高,一般只能达到30~50%。

六十年代中期出现了一种新的稳压电源,这种电源由取样、比较放大、基准电压、开关脉冲发生和开关控制、开关调整管及储能电路等组成,见图2。它和线性稳压电源在原理上有本质的不同:它的调整管是工作于开关状态的,必须通过储能电路的变换才能得到平滑、稳定的直流电压输出;它是用取样电压控制和改变调整管导通或截止的时间的方法使输出电压得到稳定的。

由于晶体管在饱和导通时管压降很小,截止时流过的电流几乎等于零,所以调整管在开关状态工作时本身的功耗极小,很少发热,可以不用散热器,因此整个电源的体积和重量都随之减小。因为调整管的功耗小,所以它的工作效率很高,可以达到80~90%。正因为它的调整管是工作在开关状态的,所以把它叫做开关型稳压电源。而图1所示那种稳压电源因为调整管中有连续的电流,晶体管是工作在线性放大区的,所以被称为连续稳压电源或线性稳压电源。
开关型稳压电源除了效率高、体积小、重量轻以外,还有电压变换灵活的优点。它不但能把不稳定的直流高压变成稳定的直流低压,而且还能把不稳定的直流低压变成稳定的直流高压,还可以省去笨重的电源变压器,用直接从电网整流和变换的方法获得不同数值的直流稳定电压,这是线性稳压电源所做不到的。
开关稳压电源刚问世时,由于电路复杂,成本较高,所以应用较少。近二十年来,由于开关稳压电源电路本身的改进以及集成化开关稳压电源产品的大量生产,使用已日益增多。在计算机、航天设备、电视机、通信设备中都得到了广泛的应用。
储能电路的平滑滤波作用
开关稳压电源的调整管是在开关状态下工作的,也就是说调整管中的电流是时断时续的。那么,怎样才能把断续的电压变成连续的直流电压输出呢?这时必须依靠储能电路。
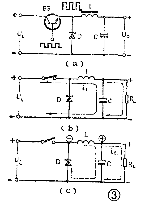
图3(a)是一个典型的串联型开关稳压电源。因为开关调整管(以后简称开关管)是和输入电压以及负载串联的,所以称为串联型。图中只画出了开关管和储能电路部分。BG为开关管,储能电路包括电感L、电容C和二极管D。开关管BG的基极上加的是脉冲电压,因此开关管工作在开关状态,一会儿导通一会儿截止。现在就让我们来看看储能电路是怎样把开关管输出的断续的脉冲电压变成连续平滑的直流电压的。

当开关管基极加上正脉冲电压时,开关管进入饱和导通状态,这时二极管D反偏截止,输入电压Ui加到储能电感L和负载电阻R\(_{L}\)上。由于电感中的电流不能突变,所以流过电感的电流随着开关管的导通而逐渐增大。这时是输入电压Ui向电感L输送并储存能量。开关管导通时间越长,即正脉冲越宽,电流增加得越大,储存的磁能就越多。因为电感L和负载R\(_{L}\)是串联的,所以iL还同时给电容C充电和给负载R\(_{L}\)供电,充电电流如图3(b)所示。
当开关管基极上没有正向脉冲电压或所加的是负脉冲电压时,基极处于零电位或负电位,开关管截止。这时电感L中的电流停止增长。因为电感中的电流不能突变,所以电感L两端产生一个自感反电势,它的极性是左负右正。它使二极管D处于正偏而导通,于是电感L中储存的磁通通过D向电容C充电,将磁能变成电能,并同时向负载R\(_{L}\)供电,其电流方向见图3(c)。在开关管截止的后期,电感L中电流下降到较小时,电容C开始放电以维持负载所需要的电流。当电容C上的电能释放到一定程度将要使负载两端的电压降低时,电路又转入开关管导通期,输入电压Ui又通过开关管向电容C充电和向负载R\(_{L}\)供电,这样就保证了输出电压U0维持在一定的数值上。
由于电容C是和输出端并联的,输出电压U\(_{0}\)就是电容两端的电压。这个电压的高低是由电容储存电荷的多少决定的。而这些电荷是由输入电压Ui和电感L中储存的磁能转换供给的,因此只要提供的电荷足够多,就能保证电容两端的电压,即输出电压U\(_{0}\)的数值基本不变。
由此可见,虽然开关管中的电流是时断时续的,但由于储能电路的作用,输出电压却是连续的,数值的波动也不大。储能电路中电感L起着储存和供给能量的作用:开关管导通时储存能量;开关管截止时释放能量,这就保证了电流的连续性。储能电路中的电容C除了储能作用外,主要起着调节和平滑作用,或者说是滤波作用:它有时充电,有时放电,使输出电压维持在一定的数值上。二极管D的作用是为电感L释放能量提供通路,所以称它为续流二极管。这三个元、器件是储能电路的关键,它们相互配合缺一不可。整个储能电路好象一个大水库,水多时把水存起来,没有水时把水放出来,保证了连续不断和定量地供水。
图4是另一种形式的储能电路。图中电感L是和负载并联的。由于连接方式的不同,在开关管BG导通时,二极管D反偏截止,输入电压U\(_{i}\)只对电感L储能。这时负载RL上的电流是由前几个周期已充了电的电容C放电供给,电流方向如图中实线。在开关管BG截止时,电感L上自感电势的极性是上负下正,电感把储存的磁能释放出来通过续流二极管D向电容补充能量和向负载R\(_{L}\)供电,电流方向如图中虚线所示。这三个元、器件的作用和串联型开关稳压电源中各元、器件的作用是相同的。

控制电路的稳压作用
在储能电路作用下,输出端得到的是一个连续平滑的直流电压。它的数值是输入电压U\(_{i}\)的平均值U-i,即
U\(_{0}\)=\(\frac{td}{T}\)Ui=dU\(_{i}\)
式中T是脉冲周期,是开关管导通时间t\(_{d}\)和截止时间tf的和,即T=t\(_{d}\)+tf。d是开关管导通时间t\(_{d}\)与周期T的比值,称为脉冲占空系数或空度。从图5的波形图和上式看出,只要设法控制和调节开关管的导通时间td,就可以调整和稳定输出电压:加大t\(_{d}\)(或保持td不变减小T)可以提高U\(_{0}\);反之,减小td可以降低U\(_{0}\)。因此我们只要在电路上通过某种方法用输出电压的变化量去控制开关管的导通时间,就能得到稳定的输出电压。

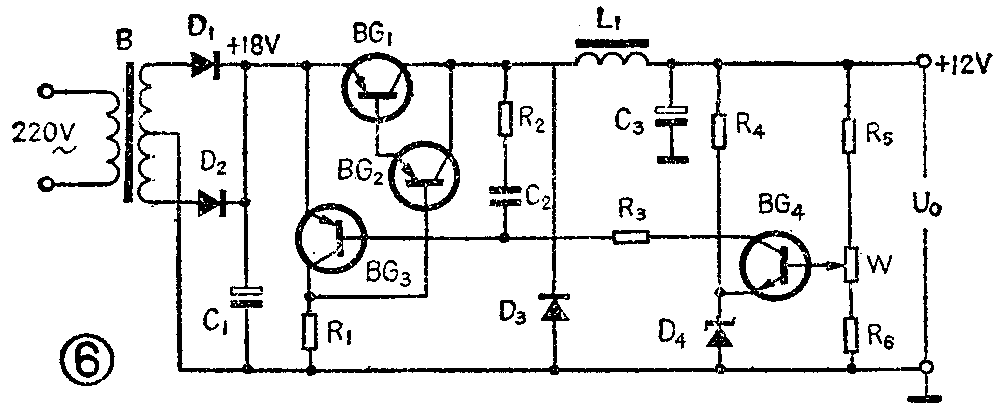
图6是一个简单的串联型开关稳压电源电路。它从市电220伏经整流滤波后得到18伏直流电压。这个18伏直流电压就是开关稳压电源的输入电压,经过储能电路的变换和控制电路的控制后,成为+12伏稳定的直流电压输出。

图中BG\(_{1}\)、BG2组成复合开关管。L\(_{1}\)、C3和D\(_{3}\)组成储能电路。D4、R\(_{4}\)、R5、W、R\(_{6}\)和BG4组成基准电压、取样和比较放大电路,这部分电路的作用和一般线性稳压电源中的作用是相同的。图中BG\(_{3}\)和BG1、BG\(_{2}\)以及相关的元件组成一个多谐振荡器,它就相当于图2中的开关脉冲发生器和开关控制电路部分。
一般多谐振荡器是由两只管子组成的,两只管子轮流导通和截止。这个电路的多谐振荡器,一个管子是BG\(_{3}\),另一只管子是BG1、BG\(_{2}\)复合管。这个复合管既是开关调整管,又是多谐振荡器的组成部分。因此控制这个多谐振荡器的导通和截止时间,就等于控制和调整开关管的导通时间。
首先,让我们看看多谐振荡器是怎样振荡的。当BG\(_{3}\)饱和导通之时,只有0.3伏左右的电压跨接在BG1、BG\(_{2}\)串联的两个发射结上,使得BG1、BG\(_{2}\)复合管截止。这时BG3的基极电流向电容C\(_{2}\)充电。当电容C2上的电压被充到某一正值,即BG\(_{3}\)的基极电位升高到一定值时,BG3截止。BG\(_{3}\)截止后,电路翻转,使BG1、BG\(_{2}\)饱和导通。于是电容C2通过R\(_{3}\)、BG4放电。当电容C\(_{2}\)放电到使BG3基极电位降低到一定数值时,电路又发生翻转,使BG\(_{3}\)恢复饱和导通状态,BG1、BG\(_{2}\)复合管又截止。如此周而复始,交替导通和截止,电路便不停地振荡起来。
现在我们来看它的稳压控制过程。前面已经介绍过,只要控制开关管的导通时间t\(_{d}\),就能控制调整输出电压的数值达到稳压的目的。从图6看到,当输出电压U0高出标准值时,BG\(_{4}\)的Vbe4便升高,BG\(_{4}\)的集电极电流增大,于是电容C2的放电电流加大,放电时间缩短,使BG\(_{3}\)较快地从截止状态转入饱和导通状态。同时使BG1、BG\(_{2}\)复合管的饱和导通时间td缩短,较快地进入截止状态。开关管导通时间缩短的结果,使储能电路所得的能量减少,从而使输出电压的幅度降低,迫使输出电压恢复到标准值。当输出电压U\(_{0}\)低于标准值时,BG4的V\(_{be4}\)随之降低,集电极电流减少,电容C2的放电时间加长,也就是BG\(_{3}\)的截止时间加长,BG1、BG\(_{2}\)复合开关管的饱和导通时间td加长,储能电路得到的能量增加,于是提高了输出电压,使输出电压又恢复到标准值,从而达到稳压的目的。
不用电源变压器的开关稳压电源
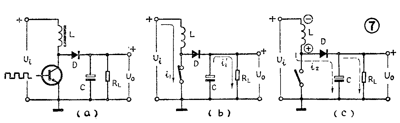
除了串联型开关稳压电源外,常用的还有一种并联的形式,图7(a)画出了电路的开关管和储能电路部分。因为开关管BG是和输入电压U\(_{i}\)以及输出电压U0并联的,所以称之为并联型。

这个电路中,当开关管基极上加有正脉冲电压时,开关管饱和导通,集电极电位接近于零,二极管D反偏截止,输入电压U\(_{i}\)通过电流i1向电感L储能。这时负载电流是由前几个周期已充了电的电容C放电供给的,电流方向如图7(b)。当开关管基极上没有正向脉冲电压或所加的是负脉冲电压时,开关管截止。由于电感中电流不能突变,因此这时电感L两端产生自感电势并通过续流二极管D向电容C充电,补充刚才放电时消耗的电能,共同时向负载R\(_{L}\)供电,电流方向如图7(c)。当电感L中释放的能量逐渐减小时,就由电容C向负载RL放电,并很快又转入开关管饱和导通期,再一次由输入电压U\(_{i}\)向电感L输送能量。用这种并联型电路可以组成不用电源变压器的开关稳压电路,图8是电视机中常用的一种开关稳压电源电路。它没有电源变压器,直接从市电220伏整流得到约300伏的直流电压,然后经过带脉冲变压器的并联型开关稳压电源电路的变换,得到两组稳定的低压(+6.3伏和+35伏)和一组稳定的中压(+100伏)输出。图中BG1是开关管,B是脉冲变压器,它的初级绕组n\(_{1}\)就相当于储能电感。改变绕组匝数可以从n2、n\(_{3}\)、n4三个次级绕组得到数值不同的输出电压。绕组n\(_{5}\)是为开关管作间歇振荡时提供正反馈电压用的。电路中+35伏输出还兼作取样用,R9、W、R\(_{1}\)0是取样电阻,D6是基准电压稳压二极管,BG\(_{2}\)、BG3是比较放大器。在三组输出中D\(_{3}\)、D4、D\(_{5}\)是各组的续流二极管。C7、C\(_{3}\)、C9是各组的滤波电容。

按变压器的同名端,当开关管BG\(_{1}\)导通时,绕组n2上感应电压是上负下正,D\(_{3}\)反偏截止,这时B储存能量,负载电流由C7放电供给,相当于图7(b)。当BG\(_{1}\)截止时,n2上感应电压是上正下负,续流二极管D\(_{3}\)导通,B释放能量,向C7充电并向负载供电,相当于图7(c)。
这个电路中,BG\(_{1}\)既是开关管又是振荡管。它的振荡过程是这样的:电路接通后,220伏交流电压经整流滤波得到的直流电压通过R2加到BG\(_{1}\)基极上,产生基极电流和集电极电流。由于集电极电流是从小到大逐渐增加的,所以在集电极电路中线圈n1内产生一个力图阻止电流增加的自感电动势,它的极性是上正下负。同时在B\(_{1}\)的次级线圈n5中感应出一个感应电势,因为n\(_{1}\)和n5两个线圈同名端方向一致(图8中用小黑点作为同名端标志),所以n\(_{5}\)中的感应电势极性也是上正下负。由于电容C6两端的电压不能突变,因此n\(_{5}\)感应电势刚产生的瞬间C6并不立即充电。线圈n\(_{5}\)的接法使感应电势正端(高电位)通过C6和R\(_{4}\)加到BG1基极,使基极电位提高,基极电流加大,因此是正反馈。由于这种正反馈作用,BG\(_{1}\)集电极电流的加大通过n5使基极电位提高,从而使集电极电流增加得更快……,这种连锁反应的作用使BG\(_{1}\)很快进入饱和状态。
BG\(_{1}\)饱和导通后,n5上的感应电势经过R\(_{4}\)和BG1的发射结向C\(_{6}\)充电,充电电流方向从n5的上端经C\(_{6}\)、R4到BG\(_{1}\)基极。于是C6两端被充电压的极性是左负右正。随着充电的进行,C\(_{6}\)两端电压逐渐升高,C6左端电位也随之降低。经过一段时间,当C\(_{6}\)左端电位低到一定数值时,BG1基极电流开始减小,集电极电流也随之减小。由于线圈有抵制电流变化的特性,n\(_{5}\)中就产生一个力图阻止集电极电流减小的自感电势,它的极性和刚才的相反,是上负下正。并在n5中感应出一个上负下正的感应电势,它的负端(对应于n\(_{5}\)的上端)通过C6、R\(_{4}\)反馈到BG1的基极,使基极电流进一步减小……,这种正反馈作用使BG\(_{1}\)很快脱离饱和转入截止状态。
BG\(_{1}\)截止后,C6停止充电,并经过n\(_{5}\)、D2、R\(_{4}\)放电,放电电流方向从C6右端经n\(_{5}\)、D2、R\(_{4}\)到C6左端。随着放电的进行,C\(_{6}\)两端电压逐渐降低,C6左端电位相应提高,于是通过R\(_{4}\)和C6左端连接的BG\(_{1}\)基极电位也随之升高。当BG1基极电位升到一定数值时就重新产生基极电流,如上所述又由于正反馈作用使BG\(_{1}\)很快进入饱和。于是振荡电路就从饱和→截止→饱和,周而复始地振荡起来了。
从振荡过程可以看到:电路的振荡周期是由C\(_{6}\)、R4等元件参数决定的;n\(_{5}\)和n1之间的正反馈则是保证振荡的必要条件,而且还有加快从饱和→截止→饱和的转换作用。
现在让我们来看看这个电路是怎样使输出电压稳定的。假定由于某种原因使输出电压U\(_{0}\)略有上升,则BG2基极上的取样电压也上升,由于稳压管D\(_{6}\)的作用,BG2的射极电压相对比基极电压上升得多,引起集电极电流加大,在R\(_{8}\)上的电压降升高。这个电压传到BG3,使BG\(_{3}\)基极电位上升,集电极电流增大,也就相当于rce3减小。由于r\(_{ce3}\)是和BG1发射结并联的,其结果使得r\(_{be1}\)减小,于是使C6的充电加快,也就是开关管导通时间t\(_{d}\)减小,最后迫使U0又下降到保持在某个标准值上不变。
由于这种开关稳压电源可以省掉电源变压器(这种脉冲变压器是用磁芯做的,故重量和体积都很小),因此可使整个电源的体积减小,重量减轻。同时还因它可以得到多种稳定的电压输出,所以得到广泛的应用。
以上我们由浅入深地介绍了开关稳压电源的基本工作原理。实际的开关稳压电源是比较复杂的,电路的种类和变化也比较多。例如前面介绍的都是调节t\(_{d}\)的,这种电路称为脉冲调宽电路,还有一类是用调节脉冲周期T的办法来稳定电压的,称为频率调制电路。前面介绍的内容是属于开关管既是调整管,又是脉冲振荡器的组成部分,这类电路被称为自激振荡式,还有一类是他激振荡式电路。除了晶体管外,也可以用可控硅元件作开关管,这种稳压电源称为可控整流型开关稳压电源。只要对开关稳压电源的基本工作原理搞清楚了,对于各式各样的开关稳压电路也就不难理解了。(方波)