电灯的调光,电风扇的调速,都离不开调压电路,常用的变压器调压、可控硅调压电路,一般都比较复杂,本文介绍一种最简单的三极管调压器,它结构简单,性能稳定。
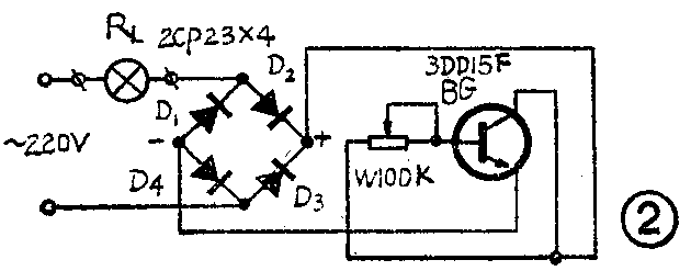
电路见图1,D\(_{1}\)~D4组成桥式整流电路,BG是一个大功率三极管,R\(_{L}\)是负载,改变W的阻值,即可改变BG的导通程度,从而改变负载上的电压实现了电压调整,特别应该指出,即使电位器W调到零,三极管BG也不会烧坏,这是因为管子的饱和压降很小,流过管子的电流与负载电流相同,本电路实质上是一个电压负反馈电路,故工作比较稳定。

由于D\(_{1}\)~D4直接接在220V的交流电网中,所以要求反向击穿电压不得小于400V,三极管BG的V\(_{(BR)CEO}\)不得小于300V,三极管应加适当大小的散热片。W选用100K。如果此电路用来作电风扇的无极调速用,可把接负载的位置变化一下,如图2所示。(殷成柱)
