目前爱好者使用的数字钟一般都没有星期指示功能,用起来不太方便。本文介绍一种简单的星期指示电路,其优点在于:1.电路简单成本很低;2.对原钟电路无需任何改动且易于组装,不用调试。
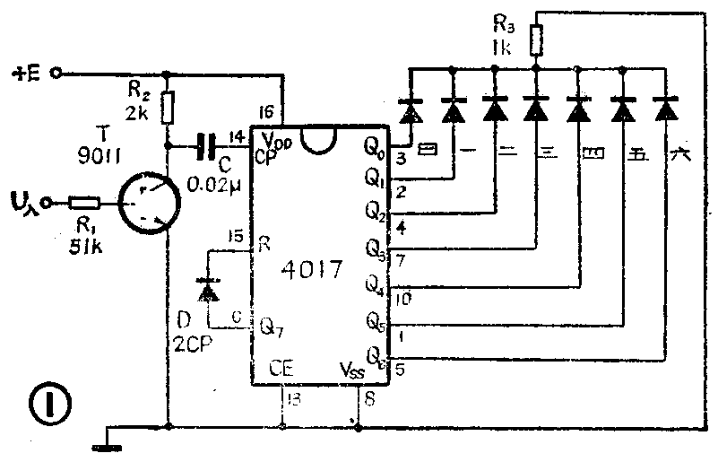
电路如图1所示,其中星期指示部分由七只发光二极管组成,按习惯用红色的表示星期日,其余的用绿色发光管。电路的输入脉冲取自数字钟的PM(下午)输出端。每天晚上12点钟时,PM指示灯熄灭,集成块接PM指示灯引脚的电平(即图1中的U\(_{λ}\))由高变低,晶体管T截止,其集电极正脉冲经C耦合到4017的CP端。4017为一片十进制计数脉冲分配器4017,它共有十个输出端Q0~Q\(_{9}\),本电路中只用了七个,将Q7连接到复位端R。当Q\(_{7}\)为高电平时,电路自动复位。如果我们在输出端Q0~Q\(_{6}\)各接一发光二极管,在CP脉冲作用下,Q0~Q\(_{6}\)依次为高电平,发光二极管逐天点亮一个,即可实现星期几的指示。

由于所用元件较少,实际安装时可自行设计印板或不用印板直接按图连线。由于4017供电电压范围较宽,3~18V均能正常工作,故指示器的供电可直接取自原电子钟,如图2例。电路装好后无需调较,按原电子钟的快校键将当天对应的星期指示灯调亮即可。(李荣刚)
