这是一只会唱歌的智能玩具狗,当你喂它肉骨头时,小狗马上兴奋地亮起眼睛,同时,唱起动听的歌曲。如果你在喂它肉骨头的时候,用一盏60瓦的白炽灯同时照射它的头部,那么,几次训练后,智能玩具狗就能形成条件反射。也就是说,你此时不喂它肉骨头,只用灯照射一下它的头部,智能玩具狗照旧会兴奋地亮起眼睛,同样唱起动听的歌曲。不过,智能玩具狗是有判断力的,要是你三番五次欺骗它,它也不会再理你了。但只要你再喂它肉骨头,它还会一如既往地表示高兴,并为你献歌。
工作原理
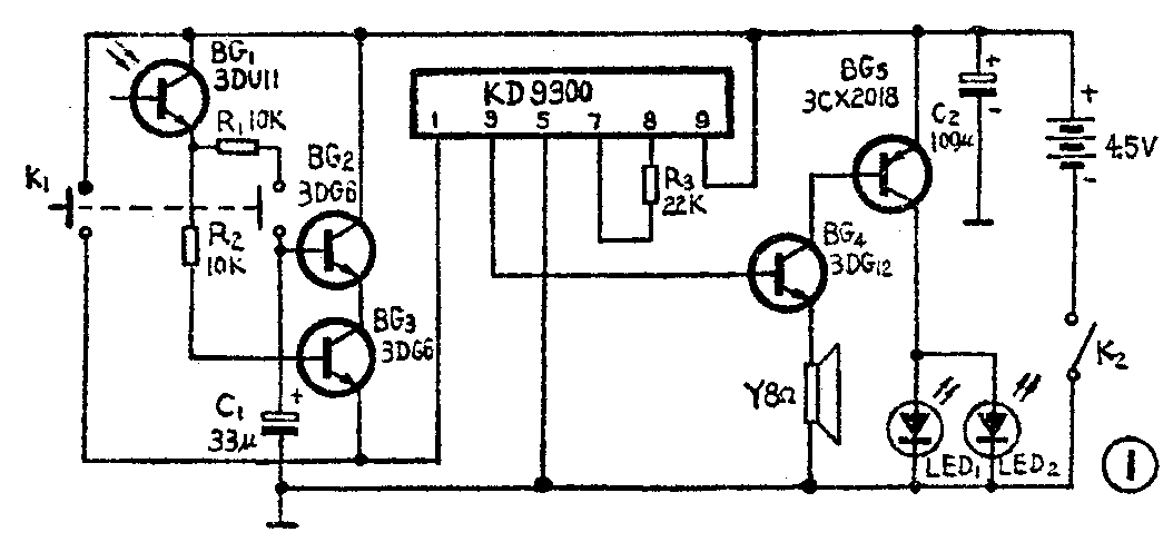
智能玩具狗的电原理图见图1,喂智能玩具狗吃肉骨头时,即把双联按钮开关K\(_{1}\)接通,KD9300被触发,演奏乐曲,其输出加到晶体管BG4、BG\(_{5}\)上放大,并驱动扬声器发声以及点亮发光管LED1、LED\(_{2}\)(狗的眼睛),与此同时,双联按钮开关K1的接通使光控延时电路通路,如此时有光照射,电源经光敏三极管BG\(_{1}\)内阻、K1、电阻R\(_{1}\)向电容C1充电,在喂肉骨头的那段时间内,电容C\(_{1}\)上的电压将逐渐上升,光照喂食数次后,电容C1上的电压将足以使晶体管BG\(_{2}\)导通。这时,只要有光照射光电三极管BG1、音乐集成电路KD9300即被触发(因晶体管BG\(_{2}\)、BG3均导通)。由于音乐集成电路KD9300演奏时间为20秒左右,用在玩具狗上时间嫌长了一些,这可通过调节R\(_{3}\)来解决。R3阻值大,演奏时间长;R\(_{3}\)阻值小,演奏时间短。为了保证“智能玩具狗”有条件反射的能力,除将电容C1的容量选得较大,使电容C\(_{1}\)经充电后残存电压能保持时间长一些外;并要减小电阻R3的阻值,使音乐集成块的演奏时间缩短。图2给出的元器件数值使“智能玩具狗”喂食、光照、奏乐一遍形成的条件反射,可做3次以上的条件反射功能演示,然后“遗忘。

玩具狗的印刷电路板见图2,它的尺寸为56×42(毫米)。

元件选择
音乐集成电路选用演奏时间为20秒左右的。BG\(_{1}\)用硅光敏三极管3DU11塑封管,BG4用3DG12,要求β值在100倍左右。BG\(_{5}\)用硅PNP型低频三极管3CX201B,要求β值为80倍左右。BG2、BG\(_{3}\)均用硅NPN型三极管3DG6,要求β值大于100倍。发光二极管LED1、LED\(_{2}\) 均用φ5毫米红色光的BT205型发光管。
调 试
唱歌的智能玩具狗的电源用4.5伏,用R6型1.5伏于电池串接。
装配时,KD9300的软包装电路板上,先焊BG\(_{4}\)的B、C极,而E极暂时不接,再把KD9300电路板焊到印刷电路板上,BG4的E极也同时焊到印刷电路板上。
BG\(_{1}\)应装在内径5.2毫米,长15毫米的黑色硬塑料管内,否则玩具不能正常工作。机芯线路接好后,闭合K2,按K\(_{1}\),KD9300即被触发而奏乐,扬声器发声时发光管发亮。然后按住K1,并用一盏40~60瓦白炽灯距一尺照射BG\(_{1}\),当KD9300奏乐三遍后,用高内阻的直流电压表测电容C1两端电压应为4伏以上,根据实践,电容C\(_{1}\)两端电压不低于3.1伏时,不按K1,只用灯照射BG\(_{1}\),KD9300即能被触发奏乐,电容C1两端电压由4伏降到3.1伏的时间,就是智能玩具狗形成的条件反射工作时间。如电容C\(_{1}\)两端电压降到3.1伏以下时,KD9300即不能被触发,表示条件反射被遗忘了。调节R1的阻值,可调节电容C\(_{1}\)的充电时间,调节C1的容量,可调节电容C\(_{1}\)的放电时间,合理选择它们,可使智能玩具狗的条件反射功能最佳。如按住K1,并用灯照射,玩具狗奏乐三遍结束前放开K\(_{1}\),奏乐结束后,用灯照BG1;KD9300奏乐,再用灯照射,KD9300再奏乐,这就是形成的条件反射功能。
经调试后,即可将机芯装入硬塑拖拉狗外壳中。内装BG\(_{1}\)的硬塑管应装在鼻子处,发光管装在眼部。喂食肉骨头用有机玻璃棒自制,狗嘴的K1在肉骨头塞入后应可靠接通。智能玩具狗的外型可参照图3自制。(盛文康)
