编者按:为了帮助广大初学者自学数字电路知识,从本期起,在“初学者园地”栏举办“数字电路”讲座。为了适应自学的特点,讲座在内容安排上力求由浅入深、循序渐进,前后连贯;在叙述方法上尽量作到通俗易懂、理论联系实际。为了帮助初学者检查学习效果,每篇讲座最后都留有复习题和思考题,并附有前一篇讲座的思考题答案。
为了办好讲座,欢迎广大读者多提建议和意见。
在电路中,为了接通或切断电路,使用着各种各样的开关。这些开关有机械的,也有电子的。机械开关是靠人手扳动或者靠电磁力驱动的,它们是靠机械动作带动触点的闭合或断开去控制电路的。因为是机械动作,工作速度不高,所以这种机械开关只能用于工作速度较低的地方,最高不过是每秒动作几百次。
自动控制、通信、计算机技术对开关工作速度要求很高,一般是每秒几万到几千万次,计算机中甚至已达到每秒几亿次。显然,那些机械开关是无能为力的。因此,在数字电子技术中大量使用的是用电子元器件组成的开关。它们是由晶体管组成的,而且使用了集成化技术,因此,这种开关不仅速度高,而且还有寿命长、体积小、耗能少、安全可靠、价格便宜等优点,性能上大大超过了机械开关
那么,这些电子元器件组成的开关倒底是怎样工作的呢?现在让我们先从晶体管的开关作用谈起。
半导体二极管就是一种开关
半导体二极管实际上是由一块P型半导体和一块N型半导体结合成的一个P—N结,见图1(a)。它的符号如图1(b)所示,箭头的起始端叫正极,箭头的指向端叫负极。P型半导体的一端对应的是正极,N型半导体的一端对应的是负极。

P—N结有单向导电的性能。当P-N结两端加上电压,并且是使P端的电位比N端高时,P—N结就导通,二极管内有电流流通。在电路中就相当于接通电路,把灯泡点亮。二极管的这种状态称为导通,这时在P—N结两端所加的电压叫正向偏置,见图2(a)。反之,如果P—N结上的电压是P端电位比N端低时,二极管内没有电流流通(实际上有极微小的反向电流)。在电路中就相当于断开电路,灯泡不亮。二极管的这种状态称为截止,这时在P—N结两端所加的电压叫反向偏置,见图2(b)。

由于二极管具有正向导电,反向截止的性能,我们当然可以把它作为开关来使用。当二极管导通时,它有较低的正向电阻,二极管两端有一定数值的正向电压降,对硅材料的二极管来说大约是0.7伏左右,对锗材料的二极管则只有0.3伏左右。在很多场合下,这样低的电压降是可以忽略不计的,因此可以把导通的二极管看成是一个闭合的开关,如图3(a)。当二极管截止时,它的反向电阻极大,对硅材料的二极管来说可以高达几十兆欧,显然可以把截止的二极管看成是一个断开的开关,如图3(b)。

从以上分析可以知道,二极管是靠变化它两端电压的方法来控制它的导通(闭合)或截止(断开)的。因此,可以把二极管的正、负两个极当作开关的两个触点,把它接到电路中去,然后根据电路的需要及时改变二极管两端的电位,就能使二极管迅速作出反应,或者导通或者截止,达到把开关闭合或断开的目的。
由于二极管的导通和截止是靠P—N结内部的变化来实现的,它并没有触点,所以二极管是一种无触点开关。它没有机械触点带来的抖动、打火花等缺点,而且工作速度极高,通常可达每秒几百万次,这就更是机械开关所望尘莫及的了。
晶体三极管也可作开关使用
从原理上讲,只要能出现导通和截止两种状态的元器件,都可以成为开关。晶体三极管在一定条件下也能出现导通和截止两种状态,因此也可作为开关使用。
1.三极管的饱和导通状态
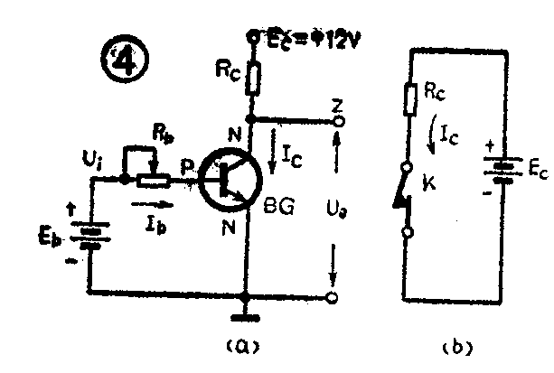
晶体三极管有两个P—N结,图4(a)是一个用NPN型三极管接成的电路。图中的R\(_{6}\)称为基极偏置电阻,可以用来控制基极电流Ib的大小。R\(_{c}\)是集电极电阻,用来限制集电极电流Ic的大小。从图可以看到,对于基极和发射极组成的P—N结(简称发射结)来讲,所加的电压是正向偏置。
现在让我们做一个试验,通过调节R\(_{b}\)改变Ib的大小来看看I\(_{c}\)和Uce的变化。开始先把电阻R\(_{b}\)调到最大,使Ib最小。这时集电极电流近似等于:I\(_{c}\)=βIb,也很小,集电极电阻R\(_{c}\)上的压降也很低,输出端Z的电压就是集电极到发射极之间的电压Uce,也就是输出电压U\(_{0}\)的数值较高。

现在逐步减小R\(_{b}\)的数值,使Ib增加,这时I\(_{e}\)也随之增大,Rc上的压降就升高,输出端Z的电压U\(_{0}\)就下降。在调节Rb的过程中我们发现,当减小Rb使I\(_{b}\)升到某个数值以后,即使再继续减小Rb,I\(_{c}\)也不会再增加,而是达到一个最大值,而且是基本稳定不变的。这种现象称为饱和,这时的集电极电流称为饱和集电极电流,它的数值近似为:ICS=\(\frac{E}{_{C}}\)RC。此时由于集电极电流较大,电源电压绝大部分降到R\(_{c}\)上,集电极和发射极两端的电压很低,这个电压称为饱和压降Ucs。对硅材料的NPN型晶体管来说只有0.1~0.3伏;对锗材料的PNP型晶体管则更低,只有0.05~0.1伏。由于Z点电位只有零点几伏,比基极电位还低,所以对集电结来讲,这时是正向偏置。晶体管出现的这种工作状态就叫做饱和状态,或饱和导通状态。
通过以上分析可以知道,晶体管饱和导通时有这样几个特点:发射结和集电结都处于正向偏置,管压降U\(_{ces}\)几乎是零伏。
由于晶体管饱和导通后,管压降几乎是零伏,可以认为是短路,因此如果把集电极和发射极看成是开关的两个触点,那么这时它相当于一个闭合的开关,如图4(b)。
2.三极管的截止状态
把图4(a)的电路改接成图5(a)。这时因为基极回路所加的电压极性已经反接,使发射结处于反向偏置(P端为负、N端为正),所以没有基极电流产生,因此集电极也不可能有电流。这时因为R\(_{c}\)上几乎没有电流流过,不产生电压降,所以电源电压Ec全部加到集电极和发射极之间,使得输出电压U\(_{0}\)近似地等于Ec。从集电结两端所加的电压看,由于Z端电位高,所以这时的集电结是反向偏置。晶体管的这种工作状态称为截止状态。

通过分析可以知道,晶体管截止时有这样几个特点:发射结和集电结都处于反向偏置,集电极电流几乎等于零。
由于晶体管在截止状态时,集电极电流几乎是零,可以认为是开路,因此这时的集电极和发射极相当于断开的两个触点,如图5(b)。
根据以上对晶体管在饱和导通和截止状态的工作性能分析可以想到,如果把晶体管的集电极和发射极当作开关的两个触点接到电路中,可以用在基极上加适当的电压的方法使这个晶体管或是饱和导通或是截止,也就是说用改变基极电压的方法去控制开关的闭合或断开。由于它是一种无触点的开关,工作速度很高,因此在数字电路中被大量使用。
应当说明的是,晶体三极管还有一种放大工作状态。收音机、录音机、电视机以及通信等设备中大量使用着晶体管放大器,就是利用它的放大工作状态把微弱的信号加以放大的。然而在数字电路中作为开关使用时,我们并不利用它的放大状态。放大状态在开关电路中,只是一种过渡状态。
复习思考题
1.半导体二极管和晶体三极管为什么可以作开关使用?
2.如图6所示,晶体三极管集电极中接入一个额定电压为12伏的灯泡。当基极加入的输入信号为-3伏时,三极管截止;当输入信号为+3伏时,三极管饱和导通。如果输入信号是一个周期为1秒的脉冲信号,波形见图6。那么指示灯将出现什么现象?这时指示灯上的电压值最低和最高约是几伏?(俞鹤飞)
