固态继电器(SOLID STATE RELAYS)简称SSR,它与普通电磁式继电器相比,具有体积小、开关速度快、无机械触点、不存在开关时危险的电弧且耐冲击和抗有害气体腐蚀,没有机械噪音等优点,特别是它的驱动电压低、电流小,可在自动系统中作控制执行部件。因此,在国外许多领域中已广泛应用。SSR和传统的继电器一样,分为工作于交流和直流两种,而对于交流SSR又分为过零型及非过零型等多种,目前应用最广泛的是过零型。在工作电流方面,从1A至数百A。下面介绍几种SSR的电性能及使用注意事项。这些SSR的外形参见本刊87年12期3页的图3(d)。
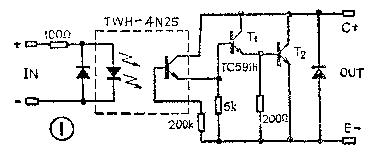
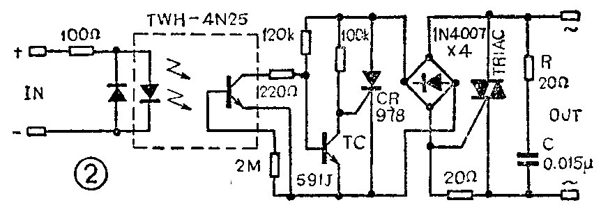
图1、图2分别是直流型及交流型SSR的原理图,从图中看出:不论是直流型还是交流型SSR,都采用光电耦合方式作为控制端与输出端的隔离和传输。对直流型,它的额定工作电流及额定电压的大小,取决于T\(_{2}\),而交流型的主要是由TRIAC决定,选用不同的T2和TRIAC,即得到不同的额定值型号。附表列出了几种常用的SSR的主要参数,并提供了T\(_{2}\)及TRIAC相应电流的管子型号,以供读者自制时参考。由于电路原理本刊已在去年12期介绍过,其主要部件光电耦合器及双向可控硅的各种应用特性本刊也曾多次介绍,这里就不作分析。现针对实用中需要注意的事项加以说明:



直流型SSR
直流SSR根据其电路结构不同,分为输出三端型及两端型,三端型由于正负电源直接引入SSR内电路,在设计上易于做到控制T\(_{2}\)输出管的深度饱和,其输入端临界导通电压与释放电压差可以做得小,输出电路没有线性区,对输入端控制电压要求不严,但使用时要求型号标称电压与实际工作电压相对应,为此其互换性差,且输出端多,带来安装时的麻烦。两端型是近期发展的多用途直流开关,它的结构相当于一只大功率光电耦合器,其输出电路象三极管一样,有一段截止区、线性区和饱和区。当输入电压足够时,就进入饱和区(见图3),它的输入端控制电压比前者严,限制在一定范围内,但是正因为这种器件具有线性区,除了作SSR使用外,也广泛应用在电源调整、灯光调节、逆变电路、音响电路以及前后级需要隔离的线性电路上代替功率管使用,这里就不讨论。

两端型SSR典型使用接线如图4,正电源经负载接SSR正C端,使用时应注意:①负载为感性时,如直流电磁阀门或电磁铁,应在负载两端并联一只二极管,极性如图4,二极管的电流应等于工作电流,电压应大于工作电压的4倍。②SSR工作时应尽量把它靠近负载,其输出引线应满足负荷电流的需要。③使用电源如属经交流降压整流所得的,其滤波电解应足够大。

交流型SSR
图2是一种过零型交流SSR,本刊去年12期已介绍过,所谓“过零”是指当加入控制信号时,交流电压过零时,SSR即为通态,而当断开控制信号后,SSR要待交流电的正半周与负半周的交界点(零电位)时,SSR才为断态。这种设计能防止高次谐波的干扰。交流SSR配阻性、容性、感性负载的典型电路见图5、6、7。交流型SSR在使用中要注意:①瞬间过电压的保护:一般SSR在设计时虽已充分考虑“过电压”的问题,以TAC03A220V为例,其双向可控硅T2302PM,反峰压大于600V(峰值),但是如果不重视瞬间过电压的保护,仍会导至SSR损坏。解决的办法是在电源输入端并接RC浪涌吸收回路和在SSR输出端并接非线性电阻(俗称压敏电阻)。实用中此电阻标称电压应为额定电压的1.9倍。②过电流保护:从附表中可知,各型号的SSR通态允许单峰浪涌电流值一般为工作电流之十倍,但是由于在应用中的负载性质不同,如电机、电磁阀、纯电阻、灯,以及电容性负载在合上开关时,出现的浪涌电流值也不同,所以在使用前要注意选择足够应付浪涌电流的型号,除纯电阻负载外,一般应选额定负载电流为10倍以上的浪涌电流值来选择适当的SSR。过电流的保护最好采用10ms的快速熔丝或在电源中串接限流电抗器。③由于SSR通常己内藏RC缓冲器件在安装调试SSR时,发现负载在未加控制信号时已有小量电流,这是正常的。



SSR的输入控制端
应用时注意:①控制电压应在3V以上,但不要超过6V,控制电流应满足附表中的条件。②控制端正负极性接错虽不致损坏SSR,但也不能误接。③采用TTL、CMOS等电路直接驱动SSR时,应先了解驱动的电压和电流是否满足SSR的需要,如果驱动的信号虽在“0”电平,但有一定的输出电压,此电压超过1V时,就有可能使SSR误通,相反,在“1”信号电平时,虽然有足够的电压,但电流不足以驱动SSR,也不行。解决的办法是在电路的输出端增加一级三极管跟随器,以满足SSR开关的控制电平需要。
通常SSR均设计为“常开”状态,即无控制信号输入时,输出端是开路的,但在自动化控制设备中经常需要“常闭”式的SSR,这时可在输入端外接一组简单的电路(见图8),这时即为常闭式SSR。最后提一下SSR在安装时的注意事项:额定工作电流大的SSR应安装在散热板上工作,一般15A以上应加散热片,以TAC15A220V为例,其散热板不应少于3×80×80mm,并注意SSR的空气对流,以保证良好的散热效果。SSR如安装在机器表面,虽易于检修,但对输入、输出引线应套上适当的绝缘管,以防止触电。首次安装SSR时,应观察SSR一段时间,一般连续工作时,SSR的升温应在70℃以下,如发现SSR温度过高,则说明SSR与散热器接触有问题或是选用了比工作电流小的SSR。如果SSR是自行装配的,对图1、2中T\(_{2}\)及TRIAC应进行严格的测试,特别是TRIAC正向及反向触发电流要尽量一致,T2的饱和压降和漏电流要尽量低,在没有完善的测试仪器时,不要采用副品或业余品器件。(蔡凡弟)
