单片计算机以其体积小、功能强等优点赢得了无线电爱好者的青睐。但市场上的单片机开发装置价格昂贵,令人却步。这里就介绍一种易于制作、价格适宜的单片机开发装置。
整个开发装置如图1所示,为方便读者开发,图中给出了两套开发装置,一套是用TP-801单板机开发单片机的装置,另一套开发装置是为没有TP-801单板机的读者设计的手动开发装置。单片机安装在标准板上,待开发完毕,标准板脱开开发装置成为独立的控制系统。

标准板线路见图2。单片机8039(8035)内部含有CPU、RAM、ROM、I/O口和定时/计数器,拥有96条指令,其部分引脚见下表。


8155是含有RAM、I/O口和定时/计数器的扩展芯片。标准板上还带有用作程序存储器的ROM2716和八D锁存器74LS373。
单片机的数据线(D\(_{0}\)~D7)和地址线(A\(_{0}\)7)分时拥有总线D\(_{B}\)0~DB7:ALE在每个指令周期产生一次上可用作时钟),在ALE正半周时,IC\(_{3}\)打开通道,DB0~D\(_{B7}\)及P20~P\(_{22}\)形成地址信息A0\(_{1}\)0并暂时锁存于IC3中,准备用来选择ROM2716存储单元;在ALE负半周时,IC\(_{3}\)关断,总线DB0~D\(_{B1}\)为数据线占有,2716在P23和PSEN—均为低电平时选通并送出数据。8155用来扩展接口,通过软件设定其I/O口工作状态。
标准板的印刷电路板见图3(1∶1)。

第一套开发装置
TP-801单板机能给开发单片机的工作提供方便,开发步骤是:①在单板机上调试控制程序;②让单片机执行单板机RAM区中的控制程序;③将控制程序固化于ROM2716中,插入标准板。本开发装置包括TP-801单板机和开发电路。
开发电路如图4所示。当K\(_{B}\)断开时,BUSRQ—为高电平,单板机对此信号响应BUSAK—为高电平,此电平封堵住三态门F1~F\(_{8}\),切断标准标DL BUS到TP-801BUS的通道,并通过BG2产生的低电平使标准极复位。这时三总线处于TP-801的管理之下,TP-801可以调试控制程序。当K\(_{B}\)接通时,BUSRQ—为低电平,TP-801的CPU让出总线,并且应答BUSAK—为低电平,此电平使三态门F1~F\(_{8}\)打开,BG2使DLBUS的RESET为高电平,故单片机接管TP-801的三总线。此时A\(_{15}\)11分别为“0 0 100”,这样A\(_{15}\)0决定的TP-801的地址就在2000~2700H之间(H表示十六进制数),标准板只有A\(_{1}\)00地址线,故地址只在0000~0700H2k之间,如觉2k不够,可将F\(_{7}\)输入接地端改接标准板IOBOS的P23,使其有4k空间。这样单片机可以运行TP-801RAM区中的控制程序。应当说明的是在K\(_{B}\)接通前就应把ROM2716从单片机上拔下。

为便于观察单片机操作结果,应自装一块模拟I/O口见图6。把模拟I/O口接入IO BUS中的一个I/O口上,对IO BUS中不用的INT—和SS—端应接高电平。如将模拟I/O口接单片机的P\(_{1}\)口(27~34脚),打开KB,将下面程序键入TP-801,并进行调试。调试完毕后,将KB接通,单片机
地址 操作码 助记符
2000H 23AA MOV A
2002H 39 OUTL P\(_{1}\)
2003H 04 03 JMP 03(=HALT)

接管总线并执行TP-801RAM区中的控制程序,模拟I/O口8只发光管的发光顺序是:灭亮灭亮灭亮灭亮,这说明运行正常。再将I/O口接单片机的P\(_{2}\)口或8155的各口,检查运行是否正常。以上步骤完成后,用TP-801将控制程序写入ROM2716。
第二套开发装置
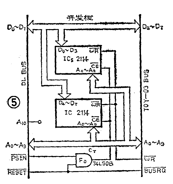
没有TP-801单板机的读者也能开发单片机,所用的开发装置包括开发板和手动编程器,见图5。手动编程器的详细说明刊登在本刊1987年第一期《业余自制微机系统》一文中。

把手动编程器TOY-03、开发板、模拟I/O口和标准板连接起来,其中手动编程器的总线开关K\(_{1}\)0的输出端接开发板的BUS RQ—,BUSAK—也接K10输出端,K\(_{1}\)0接“总线开”或“总线关”就决定了是由标准板还是由手动编程器来占据总线。TOY-03的WE—(RAM)接开发板的WB—,控制开发板上2114的读写。由于单片机的地址信息和数据信息分时占有DB0\(_{7}\),因此开发板为2114E-端在单片机运行时必须接单片机的存储器选通PSEN—端 (2716拔下)。又因为标准板和TOY-03都要分时管理开发板,因此又加入F0与门,使2114的CE—端在RESET—或PSEN—之一为低时有效,2114工作。调试时,先将K\(_{1}\)0置“总线关”,手动编程器拥有开发板管理权,对2114写入上述程序(与TOY-03对TOY-01的2114编程完全一样)。(周东进 周高进)