LM386是美国国家半导体公司系列功放集成电路中的一个品种,因其有功耗低、工作电源电压范围宽、外围元件少和装置调整方便等优点,故广泛应用于通信设备收、录音机,电子琴和各类电子设备中。本文就LM386的内电路组成、性能参数和应用要点作一简介,以帮助读者更好地使用该电路。
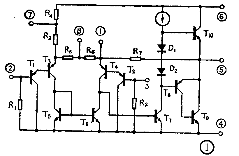
图1示出LM386的内电路原理。由图可见,仅十个晶体管构成了输入级、电压增益级和电流驱动级。T\(_{1}\)~T6组成的PNP型复合差分放大器,其中T\(_{5}\)、T6为镜像恒流源,作为T\(_{3}\)、T4的有源负载,使输入级有稳定的增益。电压增益级由接成共发射极组态的T\(_{7}\)承担,其负载也使用了恒流源,整个集成功放的开环增益主要由该级决定。T8与T\(_{9}\)复合成一个PNP管,和T10NPN管组成互补对称射极输出电路,以供给负载足够的电流。D1、D\(_{2}\)提供T8、T\(_{9}\)和T10的偏置,即末级偏置在甲乙类工作状态。R\(_{5}\)~R7构成内部反馈环路。LM386的典型电参数如下:工作电压范围4~12V,静态电流4md,输出功率660mW(最大),电压增益46dB(最大),带宽300kHz,谐波失真0.2%,输入阻抗50kΩ,输入偏置电流250nA。

LM386的应用范围很广,由于其低电压和低功耗的特性,因此特别适于使用在干电池作电源的电子装置中。图2是LM386的典型应用。该图中,1脚与8脚之间未接其他阻容件,此时的电路增益仅由内电阻R\(_{7}\)与R5+R\(_{6}\)决定为20倍。由内电路分析可知,在1脚与8脚间串接不同的阻容件,可改变放大器的交流负反馈量,从而改变放大器的闭环增益。在1脚与8脚间仅接一个几十μF电容时,内电阻R6被交流旁路,放大器增益达最大值,为200倍(2R\(_{7}\)/R5)。如果要改变放大器的低端频响,则可在集成块的1脚与输出端5脚间串接一个RC网络。该串联RC网络的阻容值应视具体要求调整,在8脚开路,R取10kΩ,C取0.033μF时,放大器50~200Hz低端频响可提高约24dB。这对改善便携式收录音机中因选用小口径扬声器而造成的低频响应差显然是有利的。图3给出一个将LM386接成方波振荡器的应用实例,在图示元件数值时,该方波振荡器的振荡频率为1kHz。图4是LM386的引线图。(黎明)


