为了配合高保真度的功放电路,更准确地再现各种声音,业余爱好者已不满足那种只有高、中、低三个固定谐振峰的音调均衡电路。现在,中高级音响设备上多使用五到十频段的图形频率均衡器,许多业余爱好者纷纷仿制。但是,多频段频率均衡器也有其不足之处。这主要表现在各个谐振峰的陡度和谐振点是固定的,这往往会在某些谐振点上出现过补偿而在谐振外的其他各点上则补偿不足造成音乐的频率失真。举个例子,见图1a,假设我们要将f\(_{A}\)提升,由于fA处于f\(_{1}\)和f2两谐振点之间,f\(_{1}\)、f2是产品中原有的频率补偿点,所以最后得到的补偿曲线在f\(_{1}\),f2点出现过补偿,而f\(_{A}\)没得到应有的提升。见图加1b。可见,用这样的频率均衡器,很难在整个声频范围内,对乐曲的某些细节予以准确的补偿,也难于滤除某些频段上的噪声。那么,能不能制作一种频率均衡器,它的谐振峰的峰点和陡度都可以随意改变呢?图2示出的三频段频率均衡器就可以实现这一功能。也许有的读者会向:三频段的均衡器能比得上十频段的?回答是肯定的。这里,虽然我们在整个音频20~20kHz 内只取了三个谐振峰,但由于各峰的补偿量、峰点的位置和补偿曲线的陡度都可以变化,因而实际上可以得到随心所欲的补偿曲线。既可以提升,也可以衰减。例如我们可以得到图3所示的曲线,在f1=50Hz有一衰减点,在f\(_{2}\)提升,在f3又有一衰减点。



原理
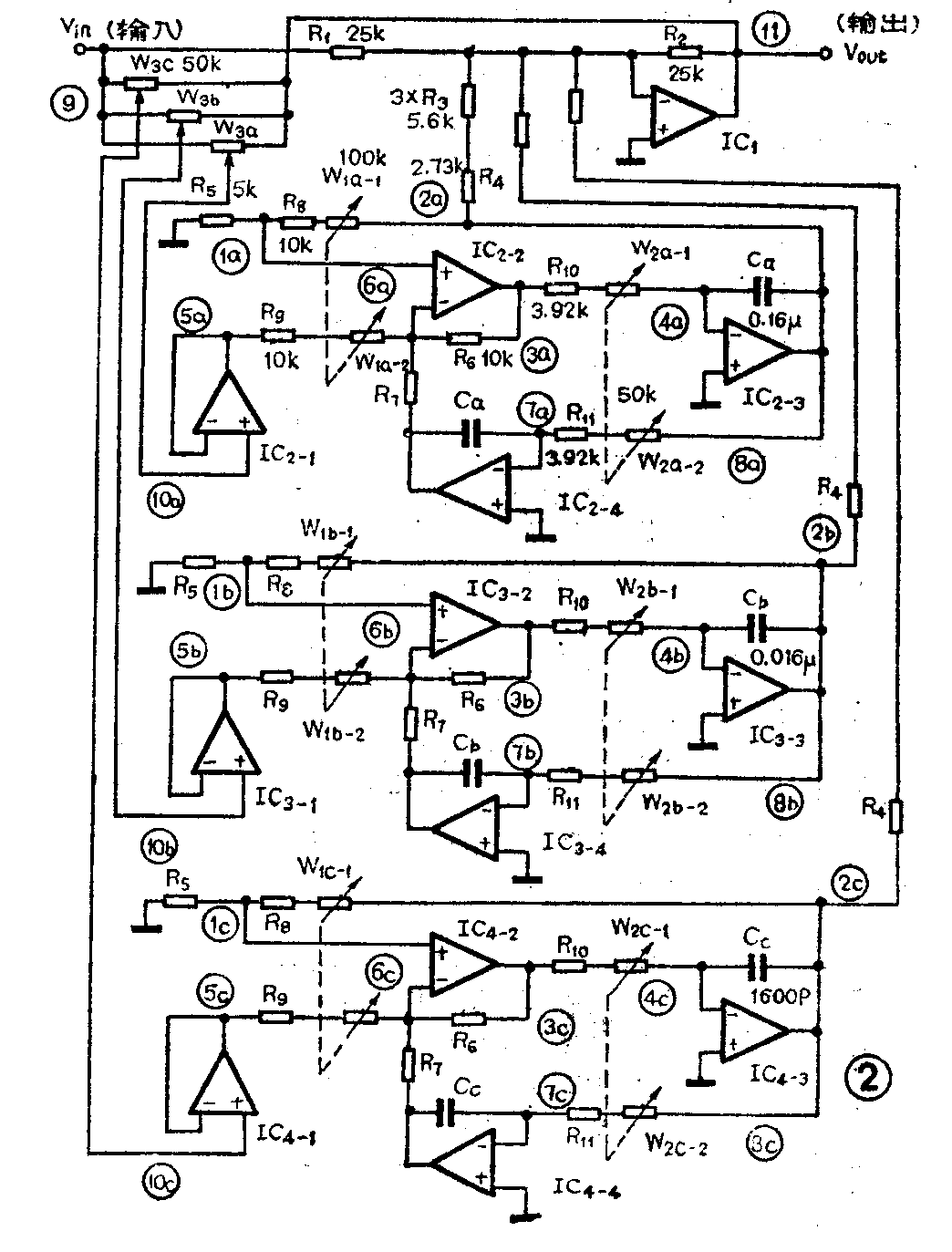
均衡器的电路如图2,其中的IC\(_{1}\)是一个引入了负反馈的差动放大器,类似于常见的反馈型音调控制电路。电路的主要部分给于图4。

这是一个带通电路,它的频率特性的陡度决定于R\(_{2}\)与R1的比值。它的谐峰频率决定于R,C。由此可见,只要制作几个工作于不同频段的这样的带通滤波器,将它们并联起来接到差分放大器上,就可以构成具有前述功能的频率均衡电路。图2中,W\(_{1}\),W2,W\(_{3}\)分别控制各谐振曲线的陡度、谐峰位置和补偿量(即提升衰减量)。
元器件选用
以上的分析和公式的推导,是针对理想运算放大器得出的,(即Rin=∞,Rout=0)。实际应用时,由于运算放大器输入、输出电阻并非理想,带通电路的特性陡度和谐振峰峰点受这些因素的影响,只能在一定范围内变化。运放的输入电阻越小,输出电阻越大,这个范围就越小。同时,对于音频的高端,还存在着运放增益带宽积小(即运放的增益与带宽的乘积小)的问题(即频带窄)。为满足以上要求,实际制作时最好选用高速高阻运放,如TLO84,5G28等。其中TLO84,内部有四片独立的运放,又是内补偿型。使用起来十分方便。现在还流行一种高增益四运放LM324,(μPC324),它的管脚排列与TLO84一样,可以代换。不过,工作起来效果略差一些。差分放大部分IC1选用时无特殊要求,可用μA741,(即F007),若用5G28等高速高阻型则效果更佳。所有双连和单电位器均选用线性变化的X型。考虑到显示直观,最好使用直滑电位器。为达到设计指标,电路中的一些阻容件不在系列值内,建议读者用数字表或电桥“凑”出来。(注:图5制版时需放大一倍)
制作方法
均衡器的印板如图5。由于引线较多,电位器引线用数字标出,接线时可对照图2的标号。安装时最好先将电位器依自己喜好的排列方式确定好位置,再接线,固定线路板。注意,各引线要尽可能短并尽量不互相缠绕。若有条件,可使用单芯屏蔽线。这时要做到一端接地。推荐一种安装方式见图6


调整方法
连线经检查无误后接上正负电源。这时,若元器件良好,I\(_{C1}\)和IC2~I\(_{C4}\)的各输出端直流电位应在零伏左右,偏离不应超过±100mV。然后在输出端接示波器监测,分别调节各电位器,应不出现自激振荡。从输入端经隔直电容送入20~20kHz的正弦信号,逐渐增大输入信号的幅度至输出刚要出现削顶。记下此时的输入电压,这就是电路正常工作时的最大输入电压,工作时不应超过。若有失真、自激,应继续检查器件与连线。
至此,调整结束,可接上功放试听。如果有条件,可借助音频扫频仪标定刻度。
注意事项
(1)各种集成电路的管脚排列如图7所示。不要接反。若使用其它外补偿型运放,应参照生产厂家的推荐电路接好补偿网络。

(2)电源电压在±9V~±15V均可,不宜超过±15V、为保证电路的性能参数,应尽量选用纹波小的稳压电源,如7815与7915集成三端稳压器。若I\(_{C2}\)~IC4使用TLO84或LM324,因其耗电甚微,可使用±9V~±12V电池供电,效果很好。
(3)本频率均衡器实际工作时,最好加在音量控制之前。其补偿量大于±12dB。
(4)有外界杂波干扰时,可在电位器组和线路板上酌加屏蔽,并将电位器外壳接地。
(5)电源引线较长时,应在线路板的正负电源端并一个0.1μF的电容,即图(5)中的C\(_{P}\)。(子囚)