本文介绍的发声报警器能实现多种发声报警功能,由于电路及结构非常简单,所以适合初学者动手制作。
1.过热报警
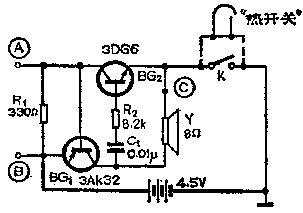
找一只日光灯启辉器,去掉外罩及纸质电容器,留下一个外形象小电珠一样的“热开关”。在室温下,这种“热开关”的两个触片是分开的,当将它置于火源附近(不是放在火中)一段时间后,由于热胀冷缩原理,其中一触片会变形而与另一触片接触。如将这个“热开关”代替电路图中的K,则一旦过热就会接通振荡器电源,引起振荡器起振发声,以起到过热报警功能。

2.水位溢出报警
将电路中R1电阻拿去,并引出放在存水容器的底部,放在规定的水位最高点。一旦水位上升到所处高度时,由于液体具有一定的电阻,即相当于在之间接入一阻值为几百欧姆的电阻,故引起振荡器起振,扬声器发声报警,以起到水位监视报警的目的。
3.二极管测试
断开电路中,串接入被测二极管,正极接扬声器,负极接电源地。如二极管是好的,则振荡器可以起振,扬声器发声。如不发声,则有两种可能,一种是二极管开路烧坏,以致电流无法通过扬声器;另一种是二极管极性接反,这时可试着调换引脚再测。
电路中的扬声器采用8Ω动圈式扬声器。BG\(_{1}\)和BG2的β值都不宜超过100,以免影响电路的稳定性。如觉得报警声太“尖”或太“闷”,则可调R\(_{2}\)或C1。(沙建军)