160米波段无线电测向是一项很受中小学师生喜爱的活动,大家也都希望自己动手制作出体积小、重量轻、稳定可靠的测向机来。根据北京市1987年无线电测向规程“160米测向机必须具备测向——收音两种功能,而且本振必须是主波的规定”,我们用北京录音机厂生产的PR——611A型收音机改制的160米测向机,具有方向性强、灵敏度高及使用方便的特点。现将一些制作经验介绍给业余爱好者。
电路改装步骤
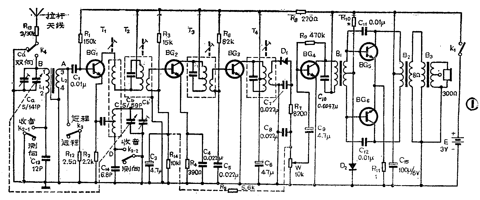
为便于大家参考,图1给出了将PR—611A收音机改装成160米测向机后的电原理图。

1.改自动音量控制为手动:拆掉自动音量反馈电阻R\(_{5}\)(5.1kΩ)。另在BG2的基极和地之间焊接一只1/8瓦、10kΩ的固定电阻R\(_{14}\),作为第一级中放管的下偏流电阻。这时BG2的集电极电流从改装前的0.35~0.5毫安增加到0.6毫安。
2.改装磁性天线:拆掉原收音机上的55毫米扁磁棒和原来的线圈。换用直径为10毫米、长度为100~130毫米的圆形中波磁棒并重新绕制线圈,参着图2。测向机磁性天线有内、外两层屏蔽,外屏蔽为铝制机壳;内屏蔽是围绕在磁棒上的一层铜箔,其厚度约为0.1毫米~0.2毫米,面积为50×29(毫米)\(^{2}\)卷在磁棒上,开口即屏蔽缝约为3毫米~5毫米。线圈的骨架最好用售品收音机磁性天线的塑料骨架。也可自制,制成的线圈骨架内径为11毫米,每段长10毫米,共准备三段。笔者选用0.7×7多股绞合纱包线,在线圈骨架上使用二折点峰房式绕法绕制L\(_{1}\)。L1分为两段绕制,每段40圈,线圈宽度为8毫米,中间连线约为45毫米。若业余条件下不能绕制峰房线圈,也可第一层平绕12圈,然后再杂乱绕制,但线圈尺寸不变。L\(_{2}\)采用单层绕法,绕至6~7圈。

3.160米测向机增加了一只2×2小型波段开关K\(_{2}\),把中波广播段与160米测向波段分开。在测向波段位置上,输入回路串联一只瓷介电容器C13,其容量为10~12微微法。在本振回路上,测向波段串联一只瓷介电容C\(_{14}\),其容量为6.8微微法。
4.为使测向机在距电台较近时,避免强信号发生堵塞现象,在磁性天线次级线圈L\(_{2}\)两端通过1×1波段开关K3并联一只2.5欧姆电阻,在近程时衰减过强信号,使测向机仍保持单、双方向性。
5.增加一根拉杆天线、一只微动开关K\(_{4}\)和电阻R13。拉杆天线可用晶体管收音机的短波拉杆天线,也可用自行车的幅条经香蕉插头插在机壳上端。
6.原机功率输出阻抗为8Ω,在8欧输出端后面增加一音频变压器B\(_{3}\)(可用晶体管收音机推挽输出变压器),把8欧一端接在B28Ω输出端上,B\(_{3}\)的高阻一端接在300欧姆双耳机上,使用效果很好。如果读者能改绕B2次级线圈,把低阻变为高阻,效果更好。
整机调试
这里仅就几个有关的问题略作说明。调试工作所需主要设备是高频信号发生器和电子管(或晶体管)毫伏表。在测试中,仪器应接地良好。
第一级中放BG\(_{2}\)管的集电极电流调至0.6毫安较好。调中周时,要反复调整T4、T\(_{3}\)、T2,直至使中周通频带变窄,输出比较大为止。本振频率调好后,测向波段频率覆盖是1.74MHz~1.91MHz。在统调时,通过电场环向测向机输送低端高频调幅信号,调节L\(_{1}\)的圈数到输出最大,然后输入高端信号,调节双连微调电容C'a到输出最大,反复几次,直至输出最大。接着用10pF电容与输入回路串联电容C\(_{13}\)调换,判断C用10pF还是用12pF时输出最大,数值确定后,把瓷片电容C13焊牢。另外,还要细心地调整L\(_{1}\)两组线圈的圈数,使左右两个线圈圈数对称一致。当把磁性天线与电场环逐渐拉开距离时,对称地移动L1两个线圈的位置,使测向机灵敏度最高,方向性最好。调单向需在野外进行。图3为印刷板图。

改装前,收音机的中波频率是525kHz~1605kHz。改装后,中波收音频率为600kHz~157kHz。(周望仪)