现今市场上可以买到多种车用报警器,但它们都有着共同的缺点,如成本高,不方便安装等。下面介绍一种简单、实用的报警器,成本极低,经本人半年试用效果很好。
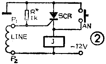
电路如图1所示。从图中可以看出,这实际上是一个简单的断线报警器,其特别之处在于利用了汽车的喇叭按钮来进行复位。电路工作过程如下:平时,将P\(_{1}\)、P2端短路。离车前,用细铜线一端接于P\(_{1}\)端。而后,将此线沿各车门环绕一周,并将另一端接到P2处。这样锁好车门即可离去。此时,电源加至喇叭继电器、SCR和R。由于R的阻值比铜线LINE的阻值大许多,故SCR的栅阴极间电压较低,SCR截止,喇叭继电器断开,电路处于守候状态,此时耗电仅数毫安。一旦窃车者打开车门,铜线被拉断,SCR栅极电位升至电源电压,SCR导通,喇叭继电器吸合,喇叭鸣响报警。车主打开车门时,喇叭也鸣响,但此时,只要先将P\(_{1}\)、P2点短路,再按一下喇叭开关,电路即可复位。电路中SCR为1安单向可控硅,耐压大于电源电压即可。由于元件较少,安装时可将元件直接固定在喇叭继电器上。对于负极搭铁的汽车,安装时依图1接线;对于正极搭铁的汽车,可按图2接线。电路接好后,即可正常工作。若SCR不导通,说明其触发电流较大,可适当减少R的阻值。为方便起见,接线端子P\(_{1}\)、P2可用普通金属夹代替。铜线直径可选0.01~0.2mm,长度5米以内。加入本报警器以后,并不影响原车喇叭的功能。(于斌)

