“小鸭”牌TEMA831型全自动滚筒式洗衣机是我国洗衣机的升级换代产品,自动化程度高,洗涤范围广。它可自行完成进水,预洗,洗涤、漂洗、排水、甩干以及投放洗涤剂、软化剂、漂白粉、香料等全部程序;可以洗涤各种高档毛呢服装、丝织品、毛毯、毛织品及普通衣料。现将TEMA831型全自动滚筒式洗衣机的电路及电路控制原理介绍如下。
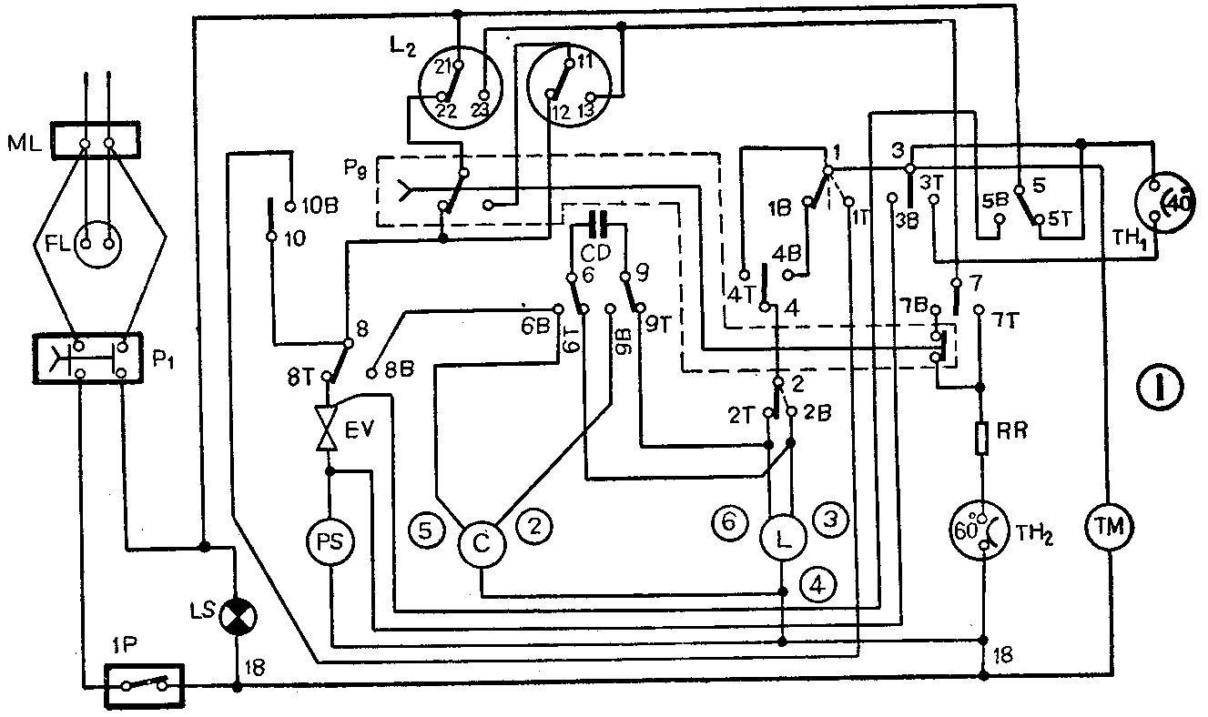
附图为电气控制原理图。图中:ML——接线板、FL——噪音滤除器、PI——按钮开关、IP——门安全开关、LS——指示灯、EV——进水电磁阀、L\(_{2}\)——高低水位继电器、PS——排水泵、CD——电容器、M——双速电动机、RR——加热器、TH1、TH2—— 温度继电器、TM——程序控制器的同步电机、Pg——节能按钮开关。

洗涤是在洗涤液温度40~60℃进行的,所以这种洗衣机又称为热洗洗衣机。整个电路的控制由电机式程序控制器按预定程序进行。现说明洗涤过程中,不同程序的电路控制原理:
一、洗衣机自动进水时:图中各开关位置为给水时的情况,这相当手动旋转程序控制器的刻度盘掷“1”的位置,使得程序控制器的触点5-5T、6-6T、9-9T、8—8T分别接通。当洗涤物投入内筒后,关闭前装口玻璃视孔门窗的同时,使得IP接通;再按下按钮PI接通,此时LS亮,洗衣机开始工作。
由于L\(_{2}\)高水位的常闭点21-22接通,Pg的第一组触点接通。这时从ML、分别通过21-22、Pg的第一组触点8—8T、EV绕组、PS电机的绕组、接点18和IP构成通路。进水电磁阀阀门打开,洗衣机开始预注水程序。与此同时,从ML、分别通过5——5T、触点3,TM绕组和IP,构成另一通路,程序控制器进入正常工作状态。
为什么这时排水泵不工作?这是因为进水电磁阀EV绕组的直流电阻约为 3800欧姆,而排水泵PS电机绕组的直流电阻仅有28欧姆,当它们串接在一起时,排水泵PS电机绕组上的电压降很小,不足以使转子转动;而进水电磁阀EV绕组上的电压降很大,足以使电磁阀EV正常工作。
二、洗涤液加热(温度没有达到40℃)时:这时由于洗衣筒内的水位已达到高水位的额定要求,使得L\(_{2}\)高水位的常闭触点21—22断开,而常开触点21-23接通。又由于程序安排这时触点3和5断开,7-7T接通。TH有两组触点,即TH140℃的常开触点和TH260℃的常闭触点,当洗衣筒内的洗涤液温度达到和超过40℃而低于60℃时,40℃的常开触点闭合接通电路;当洗涤液温度达到和超过60℃时,60℃的常闭触点断开电路。
从ML、分别通过21—23、7-7T、RR、TH\(_{2}\)60℃常闭触点、接点18和IP构成通路,RR工作,使洗涤液加热。这时由于触点 3、5和TH140℃的常开触点,都处于断开状态,使得TM1没有电流通过,程序控制器中断工作。同时M的低速绕组L和高速绕组C都没有电流通过,处于停转状态。这一程序安排在预洗和洗涤过程的预注水程序后,时间约15分钟左右。待洗涤液温度达到40℃时,TH\(_{1}\)40℃的常开触点闭合接通电路,从ML、分别通过 21—23、40℃触点、触点3、TM和IP构成通路,程序控制器进入正常工作状态,下一步程序开始。
三、洗涤液温度为40~60℃条件下,标准洗时:这时由于洗衣筒内的水位仍为高水位,使得L\(_{2}\)高水位的常开触点21-23接通。又因为洗衣筒内洗涤液的温度已超过40℃,故TH140℃的常开触点闭合接通电路。从ML、分别通过21—23、TH\(_{1}\)40℃的触点、触点3、TM绕组和IP构成通路,程序控制器继续工作,使得触点3-3T、4-4T、6-6T、9—9T分别接通。与此同时,程序控制器触点2按一定周期轮流与2T或2B接通和断开,造成CD分别与L(低速绕组)的主、副绕组按一定周期接通或断开,从而使电动机按正转7.5秒、停7.5秒,反转7.5秒的周期工作,这就是标准洗涤程序。在洗涤过程进行的同时,触点7与7T断续接通,保持洗涤液的温度。
四、洗涤液温度为40~60℃条件下,轻柔洗时:这时的电流通路与上述洗涤液温度40~60℃标准洗涤时的电流通路极为相似。这时TH\(_{1}\)40℃常开触点闭合,L2高水位的常开触点21-23接通。此时由ML、分别通过21-23、TH\(_{1}\)40℃的触点、触点3、TM绕组和IP构成通路。程序控制器继续工作,使得触点3-3T、6-6T、9-9T分别接通;触点2仍按固定周期分别与2T或2B接通和断开。不同之处是程序控制器的触点4-4T已断开,而4—4B接通。为此,电机的正转——停——反转周期变化规律,就不是单一受触点2与2T、2B接通和断开的周期控制、它还要受到触点1与1T、1B周期性接通和断开的控制,控制CD分别与L(低速绕组)的主副绕组接通或断开的周期,从而使电机按合成周期,即正转4秒、停11秒、反转4秒的规律而运转。触点1和触点2分别与1T、1B和2T、2B的接通或断开时间合成是达到轻柔洗程序控制的关键。触点4与4T接通还是与4B接通,决定着洗衣机是标准程序还是轻柔洗程序,这一控制程序是早已安排设计好的,由程序控制器自动进行。

五、洗涤液温度达到或超过60℃时,标准洗时:这时由于洗涤液温度达到或超过60℃,所以TH\(_{1}\)的40℃触点仍然闭合,而TH2的 60℃触点断开,使得RR没有电流通过,终止对洗涤液的加热。其它部分的电流通路和洗涤液在40°~60℃时是一样的。
六、洗衣机在漂洗过程中强注水程序:所谓强注水就是洗衣机洗衣筒内的水位已经达到额定高度,L\(_{2}\)高水位的常闭触点21—22处于断开状态,要通过程序控制器的作用,使进水电磁阀强行打开,依靠自来水本身的压力,再次通过进水电磁阀向洗衣筒内注水,其水位超过了额定高度。这一程序控制安排在漂洗过程中,目的是为了让较多的清水稀释洗涤剂和浮垢,有利于提高漂洗效果。
它与标准洗程序时的电流通路基本相同。所不同之处是:①TH\(_{1}\)的40℃常开触点和TH260℃常闭触点都为常态;②这时触点10—10B接通。这样当触点1-1T接通时,从ML、分别通过21—23、3-3T、1-1T、10-10B、8-8T、EV绕组、PS电机绕组、IP构成通路。EV再次打开,强行注水。其注水量由注水时间控制,而1-1T接通时间为4秒,经过11秒(包括触点1断开3.5秒,加上1—1B接通4秒,再加上断开3.5秒)后,再接通4秒,……,经过几次(每次4秒)强行注水后,10-10B断开,强行注水结束。
七、洗衣机在高速脱水甩干和排水程序时:由于程序控制器程序的安排,使得触点3—3B接通,5-5T接通。这时从ML、分别通过5—5T、3-3B、PS电机绕组、IP构成通路,PS工作,将洗衣筒内的洗涤液泵出。尔后,由于程序控制器程序安排,使得触点8-8T断开,而8—8B接通,6—6B、9-9B也接通。因为洗涤液的泵出,使得L\(_{2}\)高水位的触点21—23断开,21-22接通。这时从ML、分别通过21—22、8-8B、CD、高速绕组C的主副绕组、接点4和18、IP构成通路,使得洗衣筒高速旋转,排水泵同时继续向洗衣机外泵水,直至3-3B、5-5T、8-8B等触点断开,洗衣机停止工作。
八、节能按钮使用时:如果在使用洗衣机前,已将Pg按入,使得Pg的第一组触点断开,第二组触点通,与RR电路串接第三组触点断开。当手动旋转程序控制的刻度盘掷“ 1”的位置,使得触点5-5T、6-6T、9-9T、8-8T分别接通。将洗涤物投入内筒后,关闭前装口玻璃视孔门窗的同时,IP接通,再将按钮开关按入,使得PI接通,此时LS亮,洗衣机开始工作。从ML、分别通过L\(_{2}\)高水位的常闭触点21—22、 Pg的第二组触点,L2低水位的常闭触点11—12、8—8T、EV绕组、PS电机的绕组,再通过接点18和IP构成通路。进水电磁阀阀门打开,洗衣机开始预注水程序。与此同时,程序控制器进入正常工作状态。
待洗衣筒内的水位达到低水位额定高度时,将使L\(_{2}\)低水位常闭触点11—12断开,而常开触点11-13接通,预注水程序终止。这时洗衣筒内的水量比不用节能按钮开关时少3~4升。相应下一个程序对洗涤液加热时间也将缩短,同时由于Pg的第三组触点断开,在洗涤过程的补充加热时间也缩短,因此节约电能。
TEMA831A型不带加热器,只有自动进水、标准洗、轻揉洗、漂洗强控水、脱水和排水过程,本文不再介绍。(吴玉琨)