录象机的供电系统是整个录象机的动力源,供电系统一旦出了故障, 整个录象机将停止工作。在日常维修中,属于供电系统方面的故障占有很大的比重,因此,本文简单介绍一下供电系统的电路及检修要点,帮助读者尽快查找和排除电路故障。
电路分析
NV-450MC录象机的供电系统输出的电压有两类:一类是当录象机的电源插头一接入220V交流市电后,供电系统就将电压输送到有关的电路上, 这类电压不受机面板上VTR ON/OFF电源通断开关的控制,因而称不切换电压。不切换电压主要给录象机的时钟及显示部分提供工作电压,以便定时录象。另一类是当按下面板上VTR ON/OFF电源通断开关接通电源后,供电系统才给有关电路输送的电压,称切换电压。切换电压主要给录象机的亮度、色度、伺服系统及控制系统提供工作电压,下面分别介绍这两类电压:
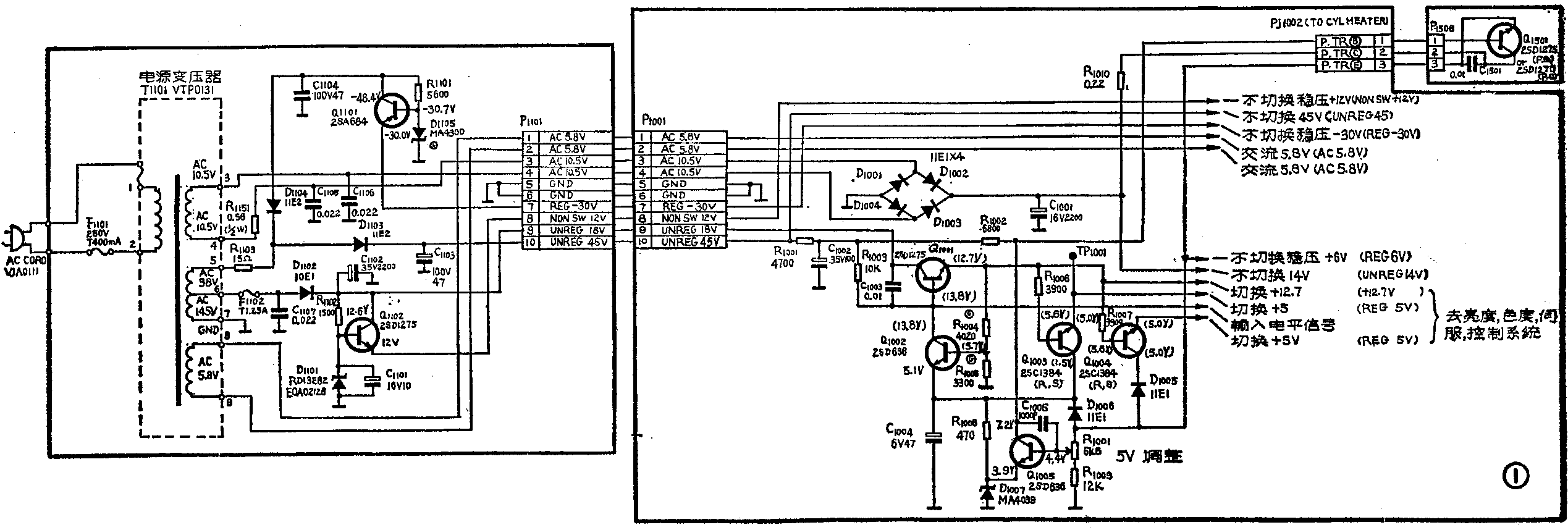
1.不切换电压:图1是NV-450MC供电系统的电路图,T\(_{11}\)01为电源变压器,根据电路的需要,有三个不切换电压: ( 1)一组交流5.8V(AC5.8V)电压,这组交流电压是由T1101的次级绕组⑧⑨,经插接件P\(_{11}\)01的①、②端输出的。(2)脉动14V(UNREG 14V)和45V(UNREG 45V)电压:14V电压是将 T1101次级绕组所得10.5V交流电压, 经插接件P\(_{11}\)01的③、④端后,再经D1001~D\(_{1}\)004进行桥式整流及C1001的滤波而形成的。45V电压是将T\(_{11}\)01的次级绕组⑤⑥所得38V交流电压,经D1103整流及C\(_{11}\)03滤波,由插接件P1101的⑩端输出。(3)稳压+12V(NON SW 12V)、+6V(REG 6V)和-30V(REG-30V)电压:稳压+12V电压是将T\(_{11}\)01的次级绕组⑥⑦的 14.5V交流电压,经D1102整流、C\(_{11}\)02滤波,再经过由Q1102、D\(_{11}\)01和C1101组成的稳压电路进行稳压后,由插接件P\(_{11}\)01的⑧端输出。稳压+6V电压是将 T1101的次级绕组③④上的10.5V交流电压,经插接件P\(_{11}\)01的③、④端后,用D1001~D\(_{1}\)004整流、C1001滤波,再通过PJ1002由Q\(_{1}\)005、D1007RQ\(_{15}\)01等元件组成的稳压电路进行稳压而取得的,详见图2。稳压-30V电压是将T1101次级绕组⑤⑥上的38V交流电压,经D\(_{11}\)04整流、C1104滤波,再通过由Q\(_{11}\)01、D1105和R\(_{11}\)01组成的稳压电路进行稳压,最后由插接件P1101的⑦端输出。


2.切换电压:切换电压由VTR ON/OFF开关控制的,图3是其原理图。在VTR ON/OFF开关未接通时,系统控制部分的微处理器IC\(_{6}\)001的脚、处于高电平H(13.8V)状态,QR6005工作在饱和导通状态,由于QR\(_{6}\)005饱和导通时其集电极电位很低,因此,送入供电系统的输入电平很低,使Q1001、Q\(_{1}\)002、Q1003、Q\(_{1}\)004,都处于截止状态。当VTR ON/OFF开关接通时,IC6001的脚通过开关接地,即呈低电平(0V),则也呈低电平,QR\(_{6}\)005处于截止状态,其集电极电位为高电位,因此,送入供电系统的输入电平为高电平,使Q1001、Q\(_{1}\)002、Q1003、Q\(_{1}\)004开始工作。从图1可以看出, Q1001集电极上的18V电压是由T\(_{11}\)01次级绕组⑥⑦,经D1102整流,C\(_{11}\)02滤波后送来的,当Q1001、Q\(_{1}\)002开始工作,由于Q1001和Q\(_{1}\)002等其它元件所组成的电路具有稳压作用,所以,在Q1001的发射极输出稳定的+12.7V电压。同理,由于Q\(_{1}\)003、 Q1004的基极偏置恢复,在 Q1001、Q1004的发射极分别输出+5V的电压。反之,当VTR ON/OFF开关断开时,微处理器IC\(_{6}\)001的脚因开关不通呈高电平,也随着呈现高电平,导致QR6005饱和导通,使其集电极出现低电平,使Q\(_{1}\)001的基极电位接近零伏,因而Q1001截止,发射极无电压输出,同理,两个+5V电压也因Q\(_{1}\)003、Q1004基极无偏置而消失。

故障检修
当电源插头接入交流220V市电后,面板显示窗无显示或虽有显示但按下 VTR ON/OFF开关后指示灯不亮,均可判断为供电系统出故障。
当显示窗无显示时,首先检查电源变压器T\(_{11}\)01初、次极两个保险丝F1101(400mA)、F\(_{11}\)02(1.25A)是否烧断,如果保险丝没有断,再检查几个不切换电压是否正常,发现有不正常的电压,就应重点检查与该电压有关的主要元件。例如:当发现不切换稳压+12V电压无输出时,应重点检查T1101次级绕组⑥⑦上的AC14.5V是否正常,保险丝F\(_{11}\)02是否完好,整流二极管D1102是否有约+18V的电压输出,以及电压调整管是否正常工作,这样逐步缩小故障范围,就能很快找到故障元件。
当按下VTR ON/OFF开关后,指示灯不亮,应首先检查Q\(_{1}\)001的基极电压是否为高电平(约13.8V),如果是高电平,应重点检查Q1001、Q\(_{1}\)002两管是否工作正常,如果不是高电平,则故障就在系统控制板上,在系统控制板上,先检查QR6005管,若QR\(_{6}\)005基极为低电平,集电极不为高电平,则可能是QR6005集射极间短路,若QR\(_{6}\)005正常,并且VTR开关也正常,则可能是微处理器MH153421VGI损坏。
在检修时还有几点应该注意:
(1)图1中各管子所标的电压为接入市电后立即出现的电压,括弧内的电压为VTR ON/OFF开关启动后出现的正常电压。
(2)图1中凡是标有三角符号的元件对于机器的安全保护有重要的作用,标有三角符号的电阻称为保险丝电阻,当电流超过该电阻本身规定值时就会烧断,烧断的保险丝电阻,从外表看与好的没有两样(没有过热与烧焦现象),但焊下来一测其阻值为无穷大。在实际检修中,当发现哪路电压无输出时,最好先看一下与该路有关的保险丝电阻是否烧断,因为录象机在遇到偶然性故障(如:加载、卸载过重或带盒装入、弹出受阻等)时最容易烧断保险丝电阻。在替换保险丝电阻时,如果找不到原规格的,可用其电流值与原保险丝电阻上的允许电流值相同的保险丝来代替,禁止用阻值与原保险丝电阻阻值相等的普通电阻代替,因为普通电阻起不到保险作用。
(3)Q\(_{11}\)01(2SA684)很容易损坏。在检修时,如找不到原型号管,可用国产管CK77B代替,也可找参数为PCM=1W,I\(_{CM}\)=1.5A,BVCEO=60V的PNP型硅管代替。(周振福)