在生肖龙年,佩带一枚金光闪闪的龙纪念章,别有风趣,本文介绍的金色电子闪光龙的外形见题头,体积为50×14×5(单位毫米)。此金色龙的底板上有一别针,兼作电源开关用。当把金龙佩戴胸前时,龙的两个眼珠会闪闪交替发光;当把金龙拿下,电源开关切断,闪光停止。
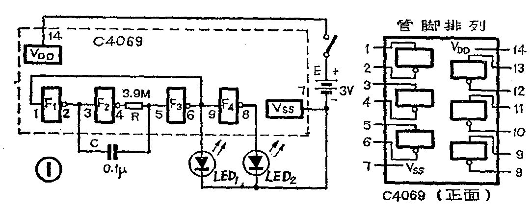
金龙的闪光电路见图1,图中采用集成电路C4069(六反相器),其中F\(_{1}\)、F2、F\(_{3}\)构成一个振荡器,由F1、F\(_{3}\)头尾环接起来形成无稳态状态;振荡周期f=0.455/RC,图中R为3.9MΩ, C为0.lμ,求得f≈1.15Hz。D1、D\(_{2}\)分别接在F3与F\(_{4}\)的输出端,D1、D\(_{2}\)又反相连接。电路起振后,D1、D\(_{2}\)交替发光,组成电子闪光电路。

电路中E用1.5V、AG3型钮扣电池两节。接上电源,图1电路正常工作电流为0.7mA左右,两只发光管会交替发光。若无光,需检查F\(_{4}\)两端有否2.5V电压,若有电压则是发光管损坏或接反了。若有光亮,但不变化,则是电路没有起振,可查R、C有否损坏,否则是F4两端击穿。由于整机电流较小,因此很省电。
金色电子闪光龙电路也可采用C4011或C066(4—2与非门电路)集成电路,如图2所示。(郑祥泰)
