问:一台东芝C-2020F型20英寸彩电在使用中突然图象消失,屏幕上只留下一条水平亮线,过一会连亮线也没有了。经检查发现集成块TA7698AP的2脚电压降至8V左右,电源滤波电阻(47Ω)严重发热,其余外围元器件则均无异常。这是否说明TA7698AP已损坏,有否可代换该集成块的国产器件?
答:TA7698AP系日本东芝公司的产品,其功能包括视频信号处理、色信号解码及行、场扫描等,是一种能取代TA7193AP(色信号解码)和TA7609P(行、场扫描)全部功能并有所扩展的彩电专用集成电路。TA7698AP的2脚为V\(_{CC}\)(电源)脚,正常电压应为12V左右。若2脚电压降至8~9V以下,同时47Ω电阻发烫,并在供电回路无严重漏电或短路的情况下,便可判定集成块损坏。引起损坏的原因大都是被瞬态脉冲高压击穿或集成块内部存在缺陷。TA7698AP相应的同型号国产品目前已有,是由无锡江南无线电器材厂生产的。(王德沅)
问:有一台东芝牌C—16312型彩色电视机,荧光屏上出现肋条状竖道;左侧比较严重(面向荧光屏看),向右程度略有减轻,有图象时图象略有拖尾,问这样的故障应如何检修?
答:图象拖尾是由于低频成分不能顺利通过,时延增大造成的。肋条状的竖黑道是行频中的振铃成分没有很好的被滤除造成的,因此,故障出在显象管视频电路和行扫描电路中。在C-16312型电视机中,此故障一般发生在给末级矩阵输出电路供电的190V电路中,经常是其滤波电容器C\(_{447}\)(10μF,250V)容量减少、失效、内部被腐蚀断线等情况造成的。在检修中发现,C447容量减少的程度不同,表现出来的故障现象也有差异,当容量减少不多时,190V电压变化不明显,当容量减少太多或断线时,则190V电压应有所下降,这时应更换一个新的10μF、250V的电解电容器。
如果在更换新电容器后,图象拖尾消失了,肋条状的黑竖道有明显的减轻,可在显象管的尾板上190V电压的输入端并一只10μF、250V的电容器。这样肋条状黑竖道有可能完全消除。(李福祥)
问:一台飞跃牌19D1型19英寸黑白电视机,开机一段时间后,图象变模糊并向右边施尾,经检查显象管灯丝与阴极之间漏电,更换新的显象管成本太高,有无其它解决办法?
答:当显象管灯丝与阴极漏电时,阴极上的视频信号中的高频成分被电源变压器上灯丝绕组与其它绕组、铁心之间的寄生电容旁路衰减(见附图),因此出现图象模糊和拖尾现象。如果不想更换新的显象管,可用以下办法使旧显象管起死回生。在行输出变压器无绕组一侧的磁铁柱上包绕两层绝缘纸,然后用2VS0.5m\(^{2}\)的线绕一个4~5匝的小线圈,这样即可获得一个6.3伏左右电压,用这个电压来取代电源变压器上的灯丝绕组给显象管供电,可使显象管恢复正常。改动后如果屏幕上有长短不齐的水平亮线,可改变绕组在磁铁柱上的上下位置或调整线圈的匝距及穿绕松紧等。

其它型号的黑白电视机,如果发生上述故障也可按此方法处理,只是穿绕的小线圈匝数要有所不同,但应注意不能使行输出级负载增加过多。(杨德印)
问:显象管老化后,要想提高图象的亮度,是提高加速极电压好?还是提高屏幕电压好?
答:显象管老化后,图象的亮度、对比度、清晰度都明显地下降,为了让管子能继续使用,可提高加速极电压或屏幕电压。一般来说,提高屏幕电压比较好,因为屏幕亮度与电子束撞击荧光屏的动能成正比,而电子束的动能取决于屏幕电压,因此,提高屏幕电压能十分有效地提高图象的亮度。提高加速极电压,即增大电子束电流,也能提高屏幕的亮度,但增大束电流后,会加大电子束打在屏幕上的尺寸,使图象的清晰度变差,并缩短显象管的阴极寿命。
在采用提高屏幕电压时,还需要调节一下聚焦极电压,这样能使图象清晰度有所提高,由于管内静电场较强,如果调整时电极之间发生打火现象,应降低屏幕电压,采用提高加速极电压的方法提高图象的亮度。(山风)
问:我的一台录象机只损坏了一个视频磁头,请问能否只更换一个视频磁头?
答:录象机的视频磁头通常不能单独更换,即使是一个视频磁头失效,也必须更换整个上磁鼓组件,其原因有四个:(1)安装上磁鼓的两磁头必须在同一平面旋转;(2)两磁头的安装角度要严格保证为180°;(3)两磁头的旋转中心必须与磁鼓电机的轴心准确重合;(4)两磁头的电参数必须一致。由于以上这四个条件,业余条件下单独更换视频磁头时很难达到要求,因此,一般视频磁头损坏时,必须连上磁鼓一起更换。(靳连生)
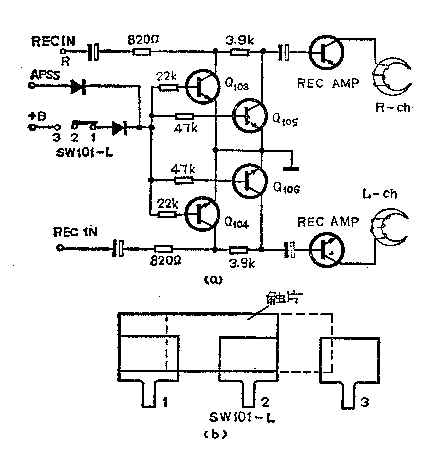
问:SHARPGF-7772收录机电路中的组合开关,其中一组SW101—L如图a所示。请问这组开关有何作用?
答:这种电路比较特殊。开关SW101—L和Q\(_{1}\)03~Q106在电路中的作用是:抑制拨动录放开关时产生的咔嚓噪声。SW101—L的结构如图b所示。当开关拨动时,由于触片面积较大,触片在未脱离1端时已和3端接触。这时电路中Q\(_{1}\)03~Q106同时导通,将开关拨动的噪声信号短路。抑制了噪声进入录放磁头。当开关拨到位后1端和3端脱离Q\(_{1}\)03~Q106截止,音频信号可顺利进入录放磁头。(郭明木)

问:按贵刊去年的介绍,组装了一台PC-81微计算机,一次组装成功。但发现该机有点不足之处。即利用录音机作为外存储器时,程序很难录到磁带上。请问有何办法改进?
答:通过实测发现,PC-81机MIC插口的信号很微弱,而且又是高内阻输出,一般录音机的MIC插口都为低阻输入。由于阻抗不匹配,造成大部分信号消耗在机内的电阻上。从PC——81机电路图上可以看出:MIC输出的信号与监视器输出的信号都从C4005的第35脚送出,但监视器后面还加了一级射级跟随器。因此监视器插口实际上是一个低内阻信号源。这样就和录音机低阻输入相匹配了。按附图电路做一条转录线。将一端莲花插头接监视器插口,另一端普通两芯插头接录音机MIC插口。这样转录程序的效果很好。(李东平)

问:一台声宝900汉卡收录机其中一卡电机损坏,请问代换时应注意哪些问题?
答:声宝900双卡收录机,具有双速复录功能,代换时应使用双速电机。这种电机不但具有单速电机所具备的稳速电路,而且还有外接常速/倍速控制电路和相应的调速电路。另外根据电机安装位置不同,即正面安装还是反面安装来决定用正转电机(顺时针旋转)还是反转电机(逆时针旋转)。当原电机为反转电机而误用正转电机时,为了保证与原来旋转方向一致,如将正负电源反接,则原调速电路将失去作用,转速会明显变快,不能正常放音。
一般双速电机总有四个接线端用“AB、+-”符号表示。+-为电源电压的正负极。A、B为双速控制端。不能把电源错接到双速控制端,否则不但不能调速和变速而且原有稳速电路也将受损。再者每种双速电机都有它的额定工作电压,常见有9V、12V、15三种,额定转速有:1400(2800)转/分、 1600(3200)转/分两种。
所以双速电机代换时要注意:(1)电机体积和安装孔是否相同。(2)电机的转动方向是正转(CW型)还是反转(CCW型)。(3)电机额定工作电压、额定转速是否合适。(4)双速控制端不能接错。代换后还要调整转速,先调高速档再调低速档。(彭贤礼)
问:一盒磁带在放唱中夹杂了不少杂音,杂音起象开关电源时的那种脉冲声,且声音很响,请问是何原因?
答:原先好的磁带放唱时夹杂了杂音,可能是由下述原因造成:①收录机的放音前置电路有故障存在;②磁带存放中与强磁场环境有过接触;③磁带在录放过程中带电。这是由于磁带的带基是用聚酯绝缘体制成,它在运行中与磁头表面、导带轮、磁带离合器及带盒中的润滑片摩擦而带上静电,当电荷数聚积到一定数量以上时就会产生放电现象,被磁带记录下来。
将有杂音磁带放进一架好的录音机中放音,若噪声消失,说明原来的录音机有问题,若仍有噪声,则说明磁带有毛病。(张国华)
问:一台GF-6060X型收录机放音或收音时右声道声音发抖,杂音很大。但用立体声耳机收听时,左右声道均正常。检查扬声器及引线未见故障。不知故障出在哪里?
答:故障很可能出在扬声器引线与线路板相联的接线柱上。因为该机引线以插接方式与线路板相联。接线柱直接焊在线路板上。若在以前的维修中拆装扬声器线时稍不注意,很可能使接线柱与线路板脱焊,造成接触不良,应将接线重新焊牢。(凯歌)
问:一合双卡收录机,A卡放音走调,但几分钟后自动复恢正常,停机一会后再放音又出现上述现象。如何修理?
答:由于电源输出端至A卡电机输入端之间的连接部分接触不良,修理时应仔细检查这一部分的焊点有没有电焊,微型插座和多股导线连接是否良好。(张朝凤)