编者按:随着高保真立体声录放及调频立体声广播技术的发展,特别是近年来数字化音响技术日趋成熟,PCM数字磁带机、激光唱机已成为商品大量倾销。这些性能极高的信号源,迫切地需要高保真度的功率放大器与之相配套。为此,我们选登了外刊近期的一篇短文,供广大读者参考。
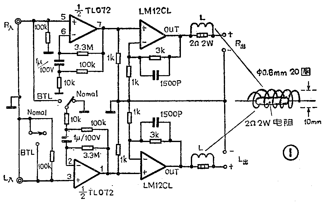
图1和图2是一台使用LM12CL制作的高保真立体声音频功率放大器的电路图。这种放大器输出功率为100W+100W(6Ω负载立体声)或300W(8Ω负载BTL单声道)。电子电路中使用了LM12CL作末级输出,所以电路十分简单。图1中的TL072运放提供10倍增益,LM12CL提供4倍增益,电路总增益为32dB,满功率输出时,输入电压约需0.6V。


LM12CL是美国国家半导体公司新近推出的大功率运算放大器。它采用普通的TO—3型金属封装(体积与国产3DD15一样大小),额定输出功率150W,最大供电电压80V,最大输出电流10A。功率运算放大器不同于普通的大功率音频功放集成电路,它是一种精度很高的放大器,用它装制的音频功率放大器,保真度很高。图1和图2电路就是为配接激光唱机而设计的。(邮购LM12CL见48页,随赠详细资料)。(张雯 编译)