在对EPROM芯片编程写入时,需加25V编程电压,由于芯片质量或操作上的原因,很容易发生芯片烧坏现象。采用本文介绍的电路为EPROM供电,可以有效地保护编程工作时的EPROM芯片。
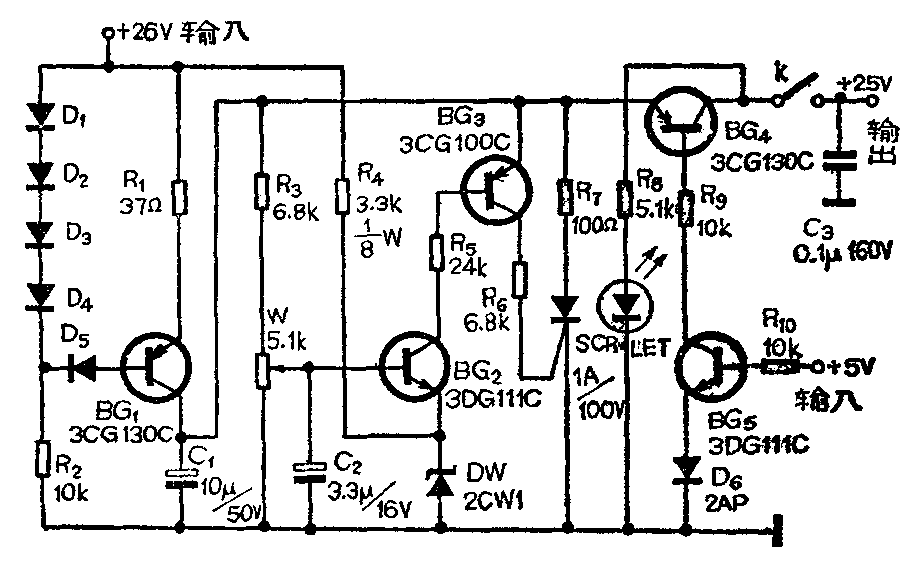
电路如附图所示。该电路由限流保护、过压保护等部分组成。

限流电路是由BG\(_{1}\)、D1~D\(_{5}\)等元件组成。D1~D\(_{4}\)组成稳压器,给BG1基极提供基准电压。R\(_{1}\)为发射极电阻,起电流负反馈作用,其参数选择使限流电路输出额定电流限制在35mA左右,当输出电流低于额定电流时,R1上压降增大,使BG\(_{1}\)发射极电位下降,BG1脱离饱和区,使输出电压下降,从而限制了编程时流进EPROM芯片的脉冲电流,防止芯片损坏。二极管D\(_{5}\)是BG1集电结保护二极管,电容器C\(_{1}\)为积分电容器,用来抑制编程电压的突变。
过电压保护电路由BG\(_{2}\)、BG3、SCR等元件组成。BG\(_{2}\)的发射极电位为基准电位,其数值的大小由稳压管DW的稳压值决定。BG2基极电位的高低反映了编程电压的高低,当基极电位高于发射极电位时,BG\(_{2}\) 发射结正向偏置,该管导通。然后使BG3饱和导通,BG\(_{3}\)的集电极电流又使SCR导通,将输出电压短路,使用时应调整电位器W,使电压大于25.5V时可控硅导通。上述过压保护电路由于采用了比较放大环节,因此灵敏度较高,能够有效地防止超过25V的电压加到EPROM芯片上。
BG\(_{4}\)、BG5等元件组成了5V电压连锁电路。5V电压是EPROM的工作电压,在EPROM编程时,必须先接通5V电源后才能接通25V编程电压,编程结束后须先关断25V电压,然后再关断5V电源、否则会损坏EPROM芯片。为了防止在无5V工作电压下接通25V编程电压,用BG\(_{4}\)、BG5组成了软开关来控制编程电压输出。图中5V电压通过电阻R\(_{1}\)0加至BG5的基极上,使BG\(_{5}\)饱和导通,BG5又使BG\(_{4}\)饱和导通,允许输出编程电压。如果5V电压消失,则BG4、BG\(_{5}\)截止,编程电压不能送出,从而达到使5V工作电压与编程电压联锁的目的,防止因操作失误而损坏EPROM芯片。(张德群)