本文以莫托洛拉的MC14541为例介绍其电路工作原理、使用方法及应用实例,供读者参考。对于其它同类型号的电路如RCA的CD4541,SGS的HCF4541及东芝的TC4541等与MC14541的结构和功能完全相同,可以互换使用。
这种CMOS可编程定时电路的特点是功能齐全,外围元件少,用较小数值的阻容元件可获得几天以上的延时,如果级连使用,甚至可以延时一年以上。
电路工作原理
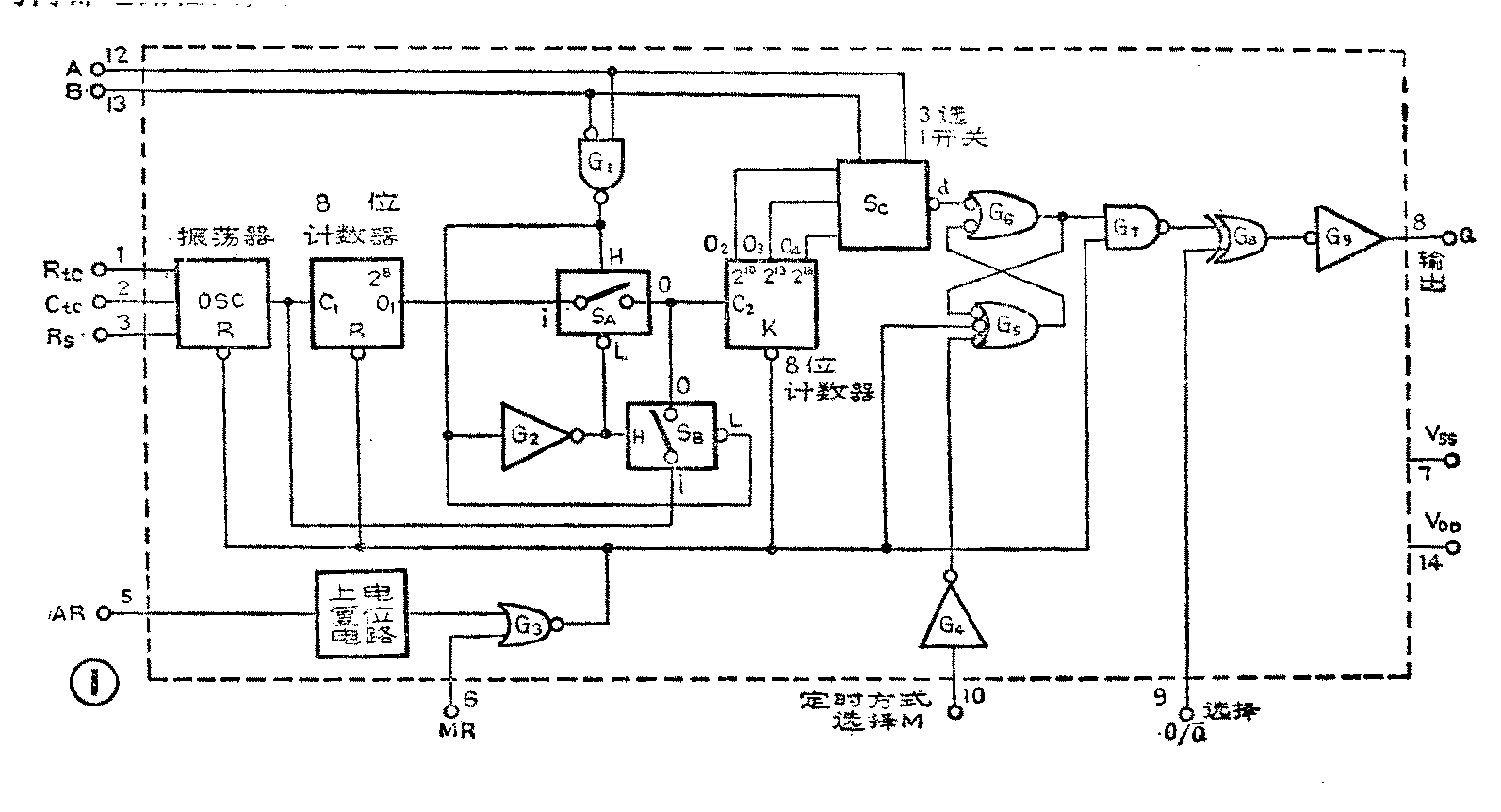
MC14541的内部电路框图如图1所示,包括十六级二进制计数器、振荡器(振荡频率由外接阻容元件或时钟频率确定)、自动和手动复位电路、计数器级数设定电路和输出状态的逻辑控制电路等。当外接阻容元件R\(_{tc}\)、Ctc的数值确定后,即确定了振荡器的振荡频率f.f≈(1/2.3R\(_{tc}\)Ctc(如果是外加时钟,则f就等于时钟颇率)。这里时间常数是2\(^{n-1}\),它由A、B的组合状态决定。当A=1,B=1时,电路可以获得最大的延时常数:2n-1=2\(^{16-1}\)=32768,则总延迟时间t\(_{延时}\)≈216-1×2.3RtcC\(_{tc}\),引脚5是自动复位端AR,当AR设定为低电平时,电路在通电时会自动复位,使各级计数器清零。引脚6是手动复位端MR,在电路工作期间,如MR出现上升沿脉冲时,各级计数器被清零。引脚10是“单定时/循环输出”方式选择端M,所谓单定时是指当延迟时间到,定时输出端Q的电平跳变后始终保持不变,直至下次复位信号的到来。循环输出方式是指Q端电平将按设定的时间做周期性跳变,对于大多数情况则取单定时方式。引脚9是输出端Q/Q-选择,在应用电路中,可以人为地根据负载要求的常开或常闭控制,来设定输出端Q的初始电平状态。它的管脚图见图2。


由内部电路可以看出,在两组八级计数器中间加入了“计数器级数设定电路”,它包括与非门G\(_{1}\)和受其控制的两个模拟开关SA、S\(_{B}\)及一个3选1开关数据选择器SC。当A=1,B=0时,与非门G\(_{1}\)输出为0,反相器G2输出为1,不满足S\(_{A}\)的i端与0端的接通条件(接通条件是H端为高电平且L端为低电平),第一组计数器的O1输出不能接通下一级计数器的输入端C\(_{2}\)。而KB具备接通条件,振荡器输出经S\(_{B}\)进入C2端。与此同时,A、B还选通控制着S\(_{C}\),使其输出端d与O4接通,电路的延时t\(_{延时}\)≈2\(^{8-1}\)×2.3RtcC\(_{tc}\)。当A=1,B=1时,SB关断,S\(_{A}\)被连通,O1输出进入C\(_{2}\),同时SC选择d与O\(_{4}\)连通,延时t延时≈216-1×2.3R\(_{tc}\)Ctc。同理可以分析A,B另外两种状态下的工作情况。G\(_{5}\)、C6构成R\(_{S}\)触发器,G7~G\(_{9}\)是普通门电路,其工作逻辑限于篇幅不再赘述。
对于电路振荡频率f≈1/2.3R\(_{tc}\)Ctc的适用条件为:1kHz≤f≤100kHz,且R\(_{S}\)≥10kΩ,RS≥2R\(_{tc}\)。电路的实际工作电压范围在8.5~18V之间(低于8.5V时不能确保电路自动复位),推荐的VDD=10V。
应用举例
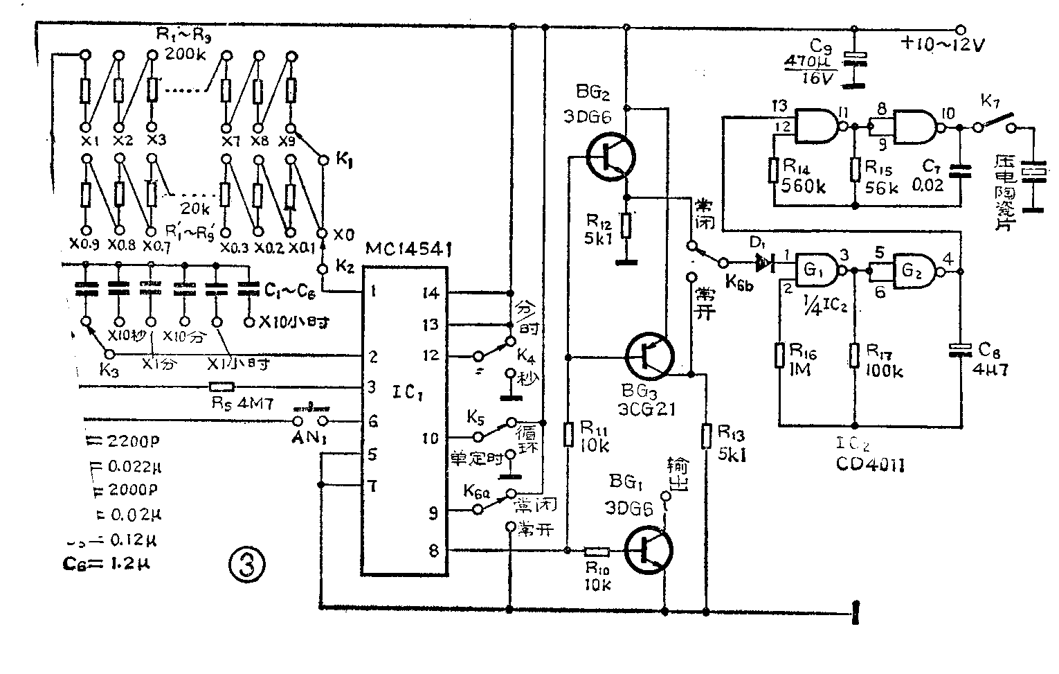
为了充分说明并利用CMOS4541的编程功能,笔者设计了一种多功能定时器,具体电路如图3所示。电路定时从1秒到99小时分六档,具有负载通断状态的常开/常闭选择,单定时/循环工作方式选择,自动/手动复位,音响指示等多种功能。

电路中K\(_{1}\)~K3是时间调节开关,按时间单位可分为:秒/10秒/分/10分/小时/10小时档,每档又分为×1~9×9和×0.1~×0.9,可以构成1.0×9.9秒,10~99秒,……,10~99小时共六个时间档次。R\(_{1}\)~R9、和R'\(_{l}\)~R'9及C\(_{1}\)~C6是阻容定时网络(图中定时电阻数值有误,应加倍)。为了提高振荡频率的精度,减少短时间定时误差,设置一个开关K\(_{4}\)用以改变分频器的级数。IC2是CMOS四与非门,构成两个音频振荡器,G\(_{1}\)、G2组成频率为1Hz振荡器,G\(_{3}\)、G4组成频率为400Hz的振荡器,G\(_{2}\)的输出端控制400Hz振荡器的起振与否,压电陶瓷片SP做为发声元件。例如,当开关K6被设置为常闭状态,同时K\(_{7}\)闭合,此时IC1的输出Q为高电平,BG\(_{2}\)导通,发射极电位为高,通过隔离二极管D1使音频振荡器停振。当达到定时时间时,Q端跳为低电平,BG\(_{2}\)发射极电位为0,G1不受控,G\(_{1}\)、G2产生的1Hz信号控制400Hz振荡器,使压电陶瓷片发出每秒1次的400Hz间歇音响,提示定时时间已到。如果还需增加灯光指示,可以在BG\(_{1}\)集电极与正电源之间串入发光二极管和限流电阻。
印刷电路板图见图4。晶体管BG\(_{1}\)的输出可接继电器或触发可控硅。为提高频率稳定性,在阻容网络中。应选择误差小,温度稳定性好的金属膜电阻和涤纶电容,同时应采用稳压电源。电路的调整很简单,只需调整阻容网络中的RC数值。

如果需要几个月甚至更长时间的延时,可以用两级以上的级连电路构成。这时将前级的输出端接至后级14541的引脚3上,同时取消后级的R\(_{tc}\)、Ctc及R\(_{S}\),读者可自行设计,将电路板作适当的改动,重新制作后无需调整即可使用。(周伟都)