“固态继电器(SSR)”是一种全部由固态电子元件组成的新型无触点开关器件。它利用电子元件(如三极管、双向可控硅管等半导体器件)的开关特性,可达到无触点无火花地接通和断开电路的目的,因此,又被称为“无触点开关”。它问世于七十年代初,由于它优异的“无触点”工作特性,使它的生产、研究和应用都已得到很快的发展。
固态继电器的原理和结构
固态继电器(下文均用缩写“SSR”表示)按使用场合可以分为交流型和直流型两大类。它们分别在交流或直流电源上做负载的开关,不能混用。
下面以交流型的SSR为例来说明它的工作原理。图1是工作原理框图。图1中部件①~④构成交流SSR的本体。从整体上看,SSR只有两个输入端(A和B)及两个输出端(C和D),是一种四端器件。工作时只要在A、B上加上一定的控制信号,就可以控制C、D两端之间的“通”和“断”,实现“开关”的功能。其中耦合电路的功能是为A、B端输入的控制信号提供一个输入/输出端之间的通道、但又在电气上断开SSR中输入端和输出端之间的(电)联接,以防止输出端对输入端的影响。耦合电路用的元件是“光耦合器”,它动作灵敏、响应速度高。输入/输出端间的绝缘(耐压)等级高;由于输入端的负载是发光二极管,这使SSR的输入端很容易做到与输入信号电平相匹配,在使有中可直接与计算机输出口相接,即受“1”与“0”的逻辑电平控制。触发电路的功能是产生合乎要求的触发信号,驱动开关电路④工作。但由于开关电路在不加特殊控制电路时,将产生射频干扰并以高次谐波或尖峰等污染电网,为此特设“过零控制电路”。以保证触发电路在有输入信号和开关器件两端电源电压值过零的瞬间触发开关器件实现通、断动作,杜绝了开关器件带电(压)动作所产生的干扰和污染。吸收电路是为防止从电源中传来的尖峰、涌浪(电压)对开关器件双向可控硅管的冲击和干扰(甚至误动作)而设的,一般是用“R—C”串联吸收电路或非线性电阻(压敏电阻器)。

直流型的SSR与交流型SSR相比,无过零控制电路,也不必设置吸收电路,开关器件一般用大功率开关三极管,其它工作原理相同。图2是一典型的交流型SSR的由原理图。现已有如图3电原理图的国产SSR,其全部元件灌封在42×30×16.5mm\(^{3}\)的体积内,额定工作电流和电压可分别达(AC)2A,290V,采用焊接式引线,能直接在印刷电路板上焊接安装。


固态继电器的特性
SSR成功地实现了弱信号(Vsr)对强电(输出端负载电压)的控制。由于光耦合器的应用,使控制信号所需的功率极低(约十余毫瓦就可正常工作),而且Vsr所需的工作电平与TTL、HTL、CMOS等常用集成电路兼容,可以实现直接联接。这使SSR在数控和自控设备等方面得到广泛应用。在相当程度上可取代传统的“线圈——簧片触点式”继电器(简称“MER”)。
SSR由于是由全固态电子元件组成,与MER相比,它没有任何可动的机械部件,工作中也没有任何机械动作;SSR由电路的工作状态变换实现“通”和“断”的开关功能,没有电接触点。所以它有一系列MER不具备的优点,即工作高可靠、长寿命(有资料表明SSR的开关次数可达10\(^{8}\)~109次,比一般MER的10\(^{6}\)高几百倍);无动作噪声;耐振耐(机械)冲击;安装位置无限制;很容易用绝缘防水材料灌封做成全密封形式,而且具有良好的防潮防霉防腐蚀性能;在防爆和防止臭氧污染方面的性能也极佳。这些特点使SSR可在军事(如飞行器、火炮、舰船、车载武器系统)、化工、采煤井下和各种工业民用电控设备的应用中大显身手。具有超越MER的技术优势。
交流型SSR由于采用过零触发技术,因而可以使SSR安全地用在计算机输出接口上,不必为在接口上采用MER而产生的一系列对计算机的干扰而烦恼。
此外,SSR还有能承受在数值上可达额定电流十倍左右的浪涌电流的特点。
为确保SSR在电气设备中正常工作,SSR的制造单位都给出其产品的主要参数。表1列出交流型和直流型SSR的主要参数及其典型数值(表中SSR的耦合件采用光耦合器),供使用时参考。据了解,国产的SSR基本上已能达到表1列的指标,这些指标基本上已和本刊1987年第三期“国外点滴”栏中介绍的美国产“DP2610型固体继电器”的指标持平。

表2给出了全灌封密闭式SSR的典型使用环境条件。

SSR的命名方法尚未统一,国外均是由制造方自行规定。不论命名方法如何。一般都在型号中给出“交流/直流型、工作电压、工作电流、外型特征(接插方法)和特殊性能(如过零控制型)”的信息等参数以供选用。
图3给出几种国内、外常见的SSR的外型。其中(a)和(b)均为全绝缘灌封插入焊接式。不带散热片,可直接焊在印刷电路板上。额定工作电流(最大)均为2A;(a)型有塑料外壳,它的引线抗振抗折性好,但安装面积稍大,(b)型无外壳,它的引线抗振抗折性不如(a),但安装面积比(a)小。(c)为全绝缘灌封紧固接线式,塑料外壳上带有散热片,额定工作电流为3~5A。(d)为全绝缘灌封紧固/焊接接线式。全金属外壳兼作散热片用(有时还规定要借用金属安装固定面做散热片以扩大散热面积),额定工作电流最大为16A。额定工作电流等级再高(如25A),就要采用绝缘灌封紧固接线式、外加规定散热片的SSR。
固态继电器的应用
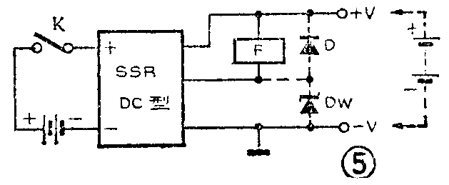
图4所示是SSR应用的基本方法:K合上相当Vsr为有效,此时SSR输出呈通态;负载与电源接通;K分开则反之。(这里以使用AC电源为例SSB为AC型的。若使用DC电源,SSR要用DC型的,详见图5,这时吸收电路即R—C串联件和压敏电阻都不必用。)


图5为直流型SSR的基本接线方法。直流型SSR的输出端有三条引线,分别按图连接+V、负载(F)和地。D提供当F为感性负载时的反向放电通道如F为纯阻性负载,D可省略。另外直流型的SSR工作时要求SSR的(设计)工作电压和实际工作电压(+V)对应,如前者高于后者,SSR将不能正常工作;若前者低于后者,会造成SSR输出端误导通,这时可用接入稳压管Dw来补救,Dw的稳压值Uw与SSR的设计工作电压相等就可以。
如今,SSR在各种自动化控制设备,计算机接口:各种医疗仪器、光学仪器、分析仪器、测试设备;各类通信信号设备,大屏幕广告牌,闪烁器,灯光变换控制装置;煤矿井下设备及电气照明设施、油田和化工厂电气控制设备;航天航空器、车辆、舰船、火炮及各种移动式武器系统的电控部分;空调致冷设备、复印机乃至电冰箱、自动洗衣机等家用电器中都可得到应用,收到满意的效果。(梁建宁)