大家知道,用传统方法来测试电子电路中的电流及电阻等参数时,大都需要断开某个元器件、某条线路或某块印制板等,这样作既麻烦又容易损坏元器件。随着电子技术的发展,在线测试技术的应用日趋广泛。利用这种测试技术,不但能实现对电阻及电流的在线测试,而且还可在线测试二极管、晶体管及电感电容等。另外还能快速测出象印制线路中的电流分布情况等一些难以用传统方法测试的项目。本文以常用的几个测试项目为例,来谈谈在线测试技术的基本原理及应用问题。
在线电阻测试
1.测试基本原理:要准确测量出电路中的某一电阻的阻值,就必须消除其它电阻等元器件对该电阻的分流影响。常规的方法是焊下(或切断)被测电阻的一条腿或与其并联的分流支路的一端,而在线测试技术则主要采用电隔离分流元件法。电隔离方法的基本原理在于,不管实际电路有多么复杂,通常总可把被测电阻R\(_{X}\)两端的分流元件等效地看成与它并联的两个互相串联的电阻R1和R\(_{2}\),即看成为图1所示的三角形电阻网络。而在测量时,设法让R1(或R\(_{2}\))两端的电位相等,也就是说使R1(或R\(_{2}\))两端的压降为零。这样,R1(或R\(_{2}\))中因没有电流通过,如同断路一样,故对RX的测试也就不存在分流作用了,从而为在线测试排除了障碍。

由此可见,在线电阻测试的关键是使R\(_{1}\)(或R2)两端的电位相等。要达到这个目的,可采用的方法很多。下面我们介绍应用范围最为广泛、测量范围较大及灵敏度较高的OP(运算放大器)在线测试法。

图2示出一种常用的测试原理电路图。为便于说明问题,图中将恒流源内阻单独画出,并用虚线框出。图中的OP被连接成反相输入比例放大器形式。被测电阻R\(_{X}\)作为反馈电阻接入电路,R1、R\(_{2}\)系RX两端的等效分流电阻。分析这个电路,可从两方面来看:首先,由于OP的开环电压增益很高,因此它的正、反相输入端间的电压很小,两输入端电位近似相等。例如,OP的开环电压增益为10\(^{5}\),放大器输出电压为1V,则两输入端的压差为10μV。由于现在OP的正相输入端接地,所以反相输入端为“虚地”电位。这样,通过R\(_{1}\)的电流极微而可忽略不计、即R1两端电位近似相等,于是就将R\(_{1}\)、R2分流支路与R\(_{X}\)电隔离开来。其次,如果OP的输入电阻很高(大多数OP都具有这一特性),则从恒流源流出的电流基本上都流向了RX,进入OP的电流极小,完全可以忽略。这样,根据OP反相比例放大器的闭环增益A\(_{VF}\)=-RX/R\(_{r}\),可得出UO=A\(_{VF}\)·IRr=-IR\(_{r}\),也可写成RX=-U\(_{O}\)/I。只要知道了恒流源的输出电流I及OP的输出电压UO,R\(_{X}\)也就被测出了(式中的负号,仅表示OP的UO与输入电压反相,在分析原理时可不作考虑,直接看成R\(_{X}\)=UO/I)。
图2电路中是用电压表来指示输出电压的,若将其刻度改画成电阻刻度,则可直接指示出被测电阻的阻值。因OP的输出电压范围有限,为适应多量程测试的需要,实际应用电路中的恒流源输出电流要随电阻量程的不同而改变。事实上恒流源只是相对于R\(_{X}\)而言的,一般只要使恒流源内阻Rr(也是OP反相比比例放大器的输入端电阻)大于R\(_{X}\)约10倍以上即可。
2.引起测试误差的主要原因及解决:
(1)OP的开环电压增益并非无穷大:尽管一般OP的A\(_{VD}\)都很大,但并非无穷大,因此使它的两个输入端电位具有微小差异。这样R1两端的电位就不完全相等,从而对R\(_{X}\)仍存在一定的分流影响,使测试产生相应的误差。显然,OP的AVD愈大,测试误差就愈小。所以通常应选A\(_{VD}\)大的OP来组成在线电阻测试电路。
(2)OP的输入电流的影响:无论OP的输入电阻有多大,它总会对恒流源输出的电流产生分流作用,只不过在输出电流较大的情况下,这种微小的分流影响可以忽略不计罢了。然而当被测R\(_{X}\)较大,即恒流源输出电流较小或OP的输入电阻较小时,因OP的输入分流会使RX中的电流明显地减小,且减小的程度随R\(_{X}\)的阻值大小而变化,这样RX中的电流也就不是恒定的了,测试误差由此而明显变大。可见,图2电路的最大测试阻值将直接受到OP输入电阻的限制。若要适应测试较大R\(_{X}\)的需要,必须选用输入电阻高或输入偏置电流微小的OP,同时由于输入电流和恒流电流的减小,对OP的漂移性能也应予以考虑,选用输入失调电压尽量小的器件为好。
(3)测试笔线路上的压降:当图2中的测试笔线路,即AB段和CD段导线中流过较大电流时,就会产生比较明显的压降。这样尽管OP的两输入端电位近似相等,但由于这种压降的存在(U\(_{AB}\)与UCD不相等),致使R\(_{1}\)两端电位出现较明显的差异,从而产生分流而影响测试的准确度。解决这个问题的办法是采用单针双线式测试笔,使恒流源输出的大电流与OP输入端的微电流分开“行进”,见图3。在测试笔线路中,由于OP的电流极小,故在测试笔线路中形成的压降极微,从而保证了R1两端电位与OP两输入端电位相等,上述的测试误差也就可以避免了。

3.测试电路实例简介:图4所示是一在线电阻测试仪的实际电路。它采用了低功耗OP5G26,工作电源电压为±6V,可用电池供电,以便于携带。该电路与图2所示电路的基本工作原理类似。主要区别在于:为了多量程测试的实际需要,图4电路对不同量程采用了不同的恒流电流供电,测试量程共分四档,满度值分别为 100Ω、1kΩ、10kΩ、100kΩ。量程转换通过开关K来实现,主要是改变恒流源的内阻,即对R\(_{3}\)~R6进行选择。恒流源由-6V电源供电,串上阻值远大于实测R\(_{X}\)的R3~R\(_{6}\)中的一个,即具备了恒流特性。在OP的输出端设置了由BG等组成的射极跟随器,以扩展OP的输出电流,满足低阻测试时输出大电流的需要。

电路中的D\(_{1}\)~D7均是保护二极管,其作用是防止异常电压损坏OP、BG及电流表。C\(_{1}\)用来旁路输入端的高频干扰信号。C2是防止OP自激的相位补偿电容。W\(_{1}\)是调零电位器。这些元器件的作用与一般的放大器相似。
由于5G26的静态功耗P\(_{D}\)≤6mW,开环电压增益AVD≥110dB,输入偏置电流I\(_{IB}\)<0.2μA,输入失调电压VI0< 2mV,因此能使该测试仪获得较好的性能指标。在R\(_{x}\)/R1不大于2000的情况下,测试误差可小于2%。该仪器最大测试阻值为100kΩ,若挑选性能较优的5G26用于电路,则可测到500kΩ左右。
在线电流测试
在电子电路中,任一条线路都存在或大或小的内阻,当电流通过它们时将会产生相应的压降。若知道内阻的大小,并测出内阻上的压降值,则电流也就可以知道了。但事实上并非如此简单,由于很小电阻上的微弱的压降用普通的仪表是难以准确测试的,故我们应用其中的基本原理,由相应的电子电路来测试导线上的压降,并直接转换成电流值指示出来,这就是常用的“抵消电流测试法”。

用“抵消电流测试法”的在线电流测试电路如图5所示。它也是借助OP来达到测试目的的。图中,AB段导线上流过的电流为I\(_{O}\)。由IO在AB段内阻R\(_{O}\)上产生的压降UAB被OP反相放大后,在输出端产生方向与I\(_{O}\)相反的电流I1,I\(_{1}\)即抵消电流。由于OP的电压放大倍数KV=I\(_{1}\)(Rm+R\(_{O}\))/(IO-I\(_{1}\))RO,故有I\(_{1}\)=IOK\(_{V}\)RO/(K\(_{V}\)RO+R\(_{o}\)+Rm)(推导从略)。式中,R\(_{m}\)为电流表的内阻。由于OP的KV一般都很大,而R\(_{o}\)和Rm均很小,即有K\(_{V}\)RO》R\(_{o}\)+Rm,所以I\(_{1}\)极接近于IO,可以看成I\(_{1}\)=IO。这样,电流表所指示的电流就是AB段导线中通过的电流,从而实现了在线电流的测试。

由上面分析不难看出,若要提高测试精度,无疑应选用电压增益大、漂移小的OP,同时还要注意选用低内阻的电流表。除此而外,测试笔与导线间的接触电阻也不容忽视,见图6。因为接触电阻R\(_{J}\)的存在将使I1在它上面产生一个极性与OP输入电压极性相反的电压,尽管其幅值一般不大,但因这里OP的输入电压也是极微小的,所以会引起OP的输入电流减小,导致测试产生较大误差。要减小以至避免这种误差,可采用图7所示的双线测试笔电路,以分开I\(_{1}\)和OP输入电流的流径,使I1在R\(_{J}\)上的压降不致对OP的输入电压产生明显影响。

在实际应用的测试电路中,为适应多电流量程需要,常在OP输出端设置与图4中类似的电流扩展射极跟随器,同时在电流表两端按不同量程并联相应的分流电阻,并通过转换开关予以选择。
使用在线电流测试仪,可在不需断开被测电路中任何一点的情况下,十分容易地测出印制板等线路中的电流,便于及时发现短路或严重漏电的元器件。对于寻找数字装置中某个输入电流过大的门电路等类调试或检修工作,应用在线电流测试技术更能显示出它的优越性。
在线二极管和晶体管的测试

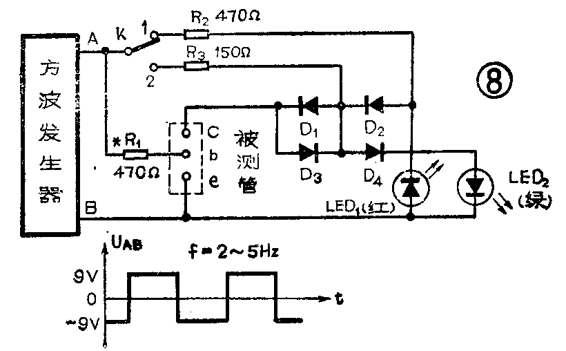
对在线二极管和晶体管的测试,通常只要求判别好坏,而不对它们的各项参数作测量。用作在线晶体管测试的电路有好几种,这里仅介绍一种实用的多功能快速测试电路,见图8。图中,由方波发生器的A、B输出端送出极性相反、频率为2~5Hz的方波电压,使测试电路得到极性定时改变的电源电压。在未接被测管时,两只发光二极管LED\(_{1}\)和LED2通过R\(_{2}\)获得方波电压而交替发出闪光。在接上一只好的PNP型管后,当A端为正,B端为负时,被测管不工作,此时LED2发光;当A端为负B端为正时,被测管基极通过R\(_{1}\)获得正向偏置而导通,因管子的c、e极间的压降很小,致使LED1两端的电压下降到不足以使它发光的程度,故LED\(_{1}\)不亮。这样,随着方波的不断变化,LED2相应发出闪闪绿光,而LED\(_{1}\)始终不发光。若被测管为好的NPN型管,则情况正好相反,LED1发出闪闪红光,而LED\(_{2}\)始终不亮。若被测管是坏的,则不论是PNP还是NPN型管,当它们的be结断路或ce结断路或be结短路时,LED1和LED\(_{2}\)均发光,当它们的ce结短路时,LED1和LED\(_{2}\)均不发光。
电路中四只二极管D\(_{1}\)~D4的作用是可防止误测。因为在被测管be结或bc结短路,或极间接有小阻值电阻的情况下。它的另一个PN结就相当于一个二极管,其正向压降为0.7V(硅管)或0.3V(锗管)左右,因此在方波电源的一个半周内就会导致某一对应的LED熄灭(LED的发光电压为1.7V~2V左右),从而造成误测。设置了D\(_{1}\)~D4后,LED两端的电压就被增大,以上的误测现象就可避免。
图8电路还可用于测试二极管。此时将K置于“2”位置,被测二极管接在c、e之间。若二极管是好的,则两只LED中有一只发光,若二极管短路,两只发光管均不发光,若二极管开路,则两只LED均发光。为了避免被测二极管两端因接有小电阻而产生误测。电路中用较小的R\(_{3}\)(为R2的三分之一左右)对测试电路馈电。
该测试电路允许被测管极间接有不小于50Ω左右的电阻。
由上可见,图8电路实质上是利用D\(_{1}\)~D4和被测管串联压降与LED管的工作电压之间的差别来实现测试的。因此掌握好各管的压降关系对正确测试极为重要。一般要做到使D\(_{1}\)~D2(或D\(_{3}\)~D4)的正向压降加上被测管的Vces小于LED\(_{1}\)或LED2的工作电压的0.2~0.3V为好。如果被测管为锗管,则为0.1V左右。
方波发生器可用CMOS门电路、555或556时基电路等构成,这方面的实用电路就不多作介绍了。(兰德)