问:一台罗马尼亚244型电视机有声无光,测电源部分输出电压U\(_{2}\)~U9均正常,只是U\(_{1}\)偏低,为145V。反复调节稳压电路中的电位器R608,均不能使U\(_{1}\)升高到175V的正常值,而细查稳压电路中的元器件都没发现问题,这是什么原因?
答:引起这种故障的部位在U\(_{1}\)的负载回路。244型机中U1的正常负载电流应为280~290mA左右,若负载过重,电流太大,就不能使U\(_{1}\)达到175V。U1主要供行输出级(230mA)、行推动级(18 mA)、视放级(10~20mA)和亮度调整(1~.5mA)等电路使用,其中任一电路存在短路或严重超载,均可能使U\(_{1}\)跌落。检修时可分别断开有关电路试验,一般不难找到故障部位。通常比较多见的是行输出级有问题,其中又以行管不良、高压包局部短路、硅堆击穿和逆程电容(C704)漏电或开路等最为常见。另外,当行输出级电流过大时,电阻R\(_{7}\)05往往温升极快,两端压降也大于正常值23V,据此也很易判断。(王德沅)
问:一台三洋83P系列彩色电视机电源部分有三个晶体管2SA1246、2SC2274、2SD1279损坏了,用什么型号管代换?
答:所问几管的特性参数如下表所示。

2SD1279的代换管有:国产管3DD103E、3DD104E(877厂)、3DA581(江苏无锡江南无线电器材厂)、DF104D(上海无线电七厂)、D050K(吉林市半导体厂);进口管2SC1942、2SD784、2SD820、2SD838、2SD869、2SD870、2SD898、2SD929、2SD950、2SD951、2SD1403、2SD1426、2SD1439等。
2SA1246代换管有:国产管3AX85B、3AX91C;进口管2SA1050、2SB642、2SA1015、2SA673A等。
2SC2274的代换管有:国产管3DG84B、3DG211-214;进口管2SC1318、2SC2383、2SC1214、2SD639、2SD789等。 (汪锡明)
问:一台黄山牌AH-6型12英寸黑白电视机,最近发现显象管亮度不足,当开大亮度电位器时,图象变黑,这是什么原因?
答:此故障是显象管衰老所致,当显象管衰老后,如果栅、阴极电压减小,即亮度开大时,显象管的电子束电流I\(_{K}\)则迅速下降,因而造成图象中白色部分变黑,黑色部分变白。维修时可采用以下方法来应急:(1)减小亮度控制电路中的电阻6R25(10k)、6R\(_{28}\)(120k),以降低阴极电路中的压降,使亮度保持适中。(2)将灯丝电压提高到15伏左右,这样可适当提高显象管的阴极发射能力。(梁怀斌)
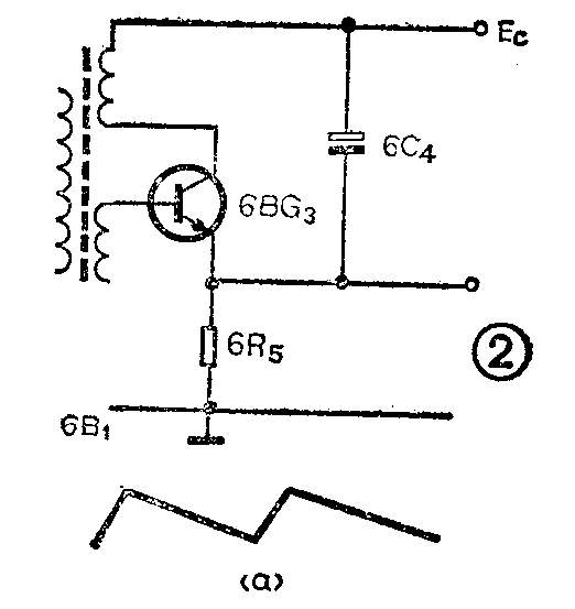
问:一台河北753-1型14英寸黑白电视机,垂直线性不良,光栅如图1所示。图中1和3部分扫描线稀,而且线条粗,而2和4部分扫描线细而密,同时喇叭里有吭吭声。经检查场振荡电路部分工作正常,如何解决?


答:遇到此故障可用示波器观察一下场振荡管6BG\(_{3}\)(见图2)发射极的波形,正常的波形如图3(a)所示,发生上述故障时,出现如图3(b)所示的波形。

因为场扫描锯齿波是在振荡管6BG\(_{3}\)的开关作用下,由Ec对6C\(_{4}\)充放电形成的,所以造成锯齿波异常的原因是电源电路中滤波不良,使得输出的电压纹波系数增大,Ec中混有较大的交流成份,锯齿波形产生畸变。检修时,应仔细检查电源电路中的滤波电容是否有严重的漏电现象。(王福泰)
问:在北京牌827到电视机中,有一种RF—330—1—3.6的元件,它在电路中起什么作用?可用什么元件代换?
答:这种元件叫压敏电阻,它是一种电流随着电压非线性变化的半导体电阻,在RF—130—1—3.6中,RF代表压敏电阻(现在改为RM),330为标称电压值(伏),1表示额定的电流值(安),3.6为非线性系数。在该电视机中,压敏电阻起着稳定行、场的幅度的作用。如果在替换时没有这种压敏电阻的话,可以在接压敏电阻的地方,用一个电阻(几十千欧)和一只电容(几千微微法)并联后来代替。(屈梅)
问:一台安徽AG型275瓦扩大机,输出功率降低。音量电位器开到最大,输出电压仍不足200伏,2×805管屏流在300毫安以下。请问如何修理?
答:如果两只功放管805栅对栅电压在180V以上,说明推动、倒相放大和前置放大各级的工作正常。故障范围可缩小在未级功率放大器。具体检查步骤是:开启高压,首先观察2×805静态屏流是否正常(正常值为180毫安),如果小于70毫安应检查805管屏极电压是否降低(正常值是1600伏),若偏离正常值较远。则可能是高压整流硅堆有一只损坏;若屏压正常屏流仍然小,应检查805管栅极负电压是否正常(正常值为负16到负18伏),若负压大于22伏以上,应调整R\(_{31}\)使负压正常。一般情况下通过上述检查就可排除故障。若仍不能排除故障,应采用拔屏帽法逐个测量805屏流,若发现一只805管屏流80毫安左右,但有信号输入时却无信号输出,这是该管栅极(3脚)与管座开路,因为推挽放大管的一只栅极失去负电压,导至该管屏流增大,但无输出;从而使推挽放大电路单边工作,扩大机输出功率降低,同时伴有声音失真。检修时应注意。(梁怀斌)
问:有一台CONIC8080-2S型立体声收音机,放音时音量一开大声音就走调。这是什么原因?
答:引起这种故障的原因大多是电机稳速部分电路不良。因为把音量开大后,收录机的总电流随之增大,电源电压降低;若电机稳速性能差,则转速将变慢,从而引起声音变调。8080-2S机的电机采用电子稳速,其电路如附图所示。检修时,若测得电机两端电压随音量的增大而明显下降,即可基本断定稳速电路出了故障。一般如没有元器件脱焊或断路等明显问题,则多半是晶体管或二极管损坏所致。查出不良元器件后,可用国产相应的元器件代换,其中三极管和二极管的代换型号已在电路图中标出。(元沅)

问:一台单声道收录机只有当音量电位器开到最大时才有声音,且声音很大,应该如何检修?
答:该故障系由音量电位器损坏引起。检修时首先应将电位器接线焊下,用万用表测量其两端电阻值是否正常。如果发现开路,说明电位器碳片断裂,应更换电位器。如电阻值正常,可检查与碳片接触的滑动簧片是否松动,如松动可用镊子加以适当的调整,使之与碳片保持良好接触。然后检查碳片是否被污染,如果发现碳片很脏,应用酒精或磁头清洗剂清洗。最后用万用表测量一端与中心头之间的电阻值,同时慢慢旋动电位器,如阻值变化平稳,便可重新使用。(凯歌)
问:一台康艺8080立体声收录机最近发现放磁带只有一个声道有声,放音时发出自激一样的啸叫声,敲击机壳时啸叫消失,但不久又发生。请问如何修理?
答:从修理多台康艺8080收录机情况看,上述故障现象在该机经常发生。一般为录放开关接触不良所致。特别是使用环境比较潮湿或家中有煤炉烟气,使机内开关接触簧片锈蚀造成开关刀位接触不良,产生放音时一个声道无声并伴有自激啸叫声出现。彻底解决方法是更换同类型录放开关,故障即能完全排除。若手头没有同类型录放开关可换,也可用“清洗润滑剂”或无水酒精滴入录放开关中,然后反复拨动录放开关多次,接触不良现象也能消失。(彭贤礼)
问:自装一合收录机,录放音均正常,但收音时整个中波段只能收到本地一个电台,调整中周后,又变成只能收到另一个电台信号,但信号软弱。请问是什么原因?
答:这主要是收音部分的本机振荡电路停振,中周严重失谐所引起。因为本振一停振,强功率电台信号,经输入电路及变频管窜入中放级,经失谐的中频放大器放大后检波再送到低放级。所以整个波段都能收听到该电台信号。当调整中周时谐振频率改变,接收的电台也就因中周频率变化而改变,由于这时所收外地电台较远或邻近电台信号比较弱,且又未经混频放大,所以声音很小。本振电路停振的原因有:变频管损坏或工作点太低,振荡线圈断线或受潮漏电,双连振荡连碰片短路,本振电路电容器损坏,电阻开路等原因。维修时先排除本振电路的故障,再重新统调,收音部分就能正常工作了。(梁斌)
问:一台松下RQ-517D便携式收录机,磁头严重磨损,请问用哪种型号的磁头可以更换?改为立体声收录机应使用哪种磁头?
答:松下RQ-517D收录机采用的是直流偏磁录音。可用国产RM-7301型磁头的非标准型#2代换,主要参数为:直流电阻400Ω,交流阻抗2kΩ,偏磁电流75μA,录音电流30μA。如想把该机改成立体声放音机,则要注意以下问题:磁头应采用国产RS-1251非标准型#2磁头。它的直流电阻为215Ω,交流阻抗850Ω,偏磁电流90μA,要用交流偏磁方式;抹音磁头也应更换成国产ME-136X交流抹音磁头。 (张国华)