UM5101的应用电路
UM5101的功能较多,使用也很灵活,为了方便读者开发与应用,以该产品厂家的推荐电路为基础并作一些改进后设计了如图6所示的应用电路供作参考,读者还可依自己的需要加以更改。图7是印刷线路板图。由于原设计的晶体管功放电路输出功率太小(在兼顾失真的情况下只有150mW左右),另外加了一块TBA820(9V,1W)功放集成电路。该电路外围电路简单,且静态电流较小。读者还可依实际需要选取其他适当的电路。图6中,K\(_{1}\)至K5使用的是计算机用5位微型拨动开关(也称打码开关),配合5只下拉电阻R\(_{18}\)至R14,分别用来设定UM5101的5个工作参数,即:存储器容量、放音速度、采样速度、放音次数和工作模式。K\(_{1}\)至K5也可从线路板上方便地接出引线,用普通开关代替。K\(_{6}\)是小型的2×1开关,图6中AN1是放音触发按钮,AN\(_{2}\)是录音触发按钮。三端集成稳压器7808和7805及电容C12、C\(_{13}\)为UM5101和动态存储器4164提供稳定的、滤波良好的+8V和+5V工作电源。由于稳定电流较小,最好使用小电流特性较佳的小功率三端稳压器78L08、78L05(100mA)或78M08、78M05(500mA)。它们采用的是TO—92型封装,和普通塑封小功率晶体管一样大小。引脚排列同7808和7805,见图8。如果电路使用电池供电,7808可省去,以减小功耗。但是7805却不宜去掉或用其它简单的降压方法代替,否则会使录放音噪声增加,弄不好还可能将UM5101或4164烧坏。LED与限流电阻R10组成录音指示电路,录音时LED点亮。由于UM5101第14脚的灌电流能力有限,R\(_{1}\)0的阻值取大一些为好,LED也应选用小电流、高亮度型的。电阻R1决定话筒放大器的增益,阻值越大,增益越高,但不可过大,以免UM5101内部的话筒放大器过载。R\(_{1}\)应和话筒偏压电阻R0配合调节,以放音清晰,灵敏度高为准。制作时,隔直电容C\(_{1}\)和C10的容量不宜随意增大,以免产生不应有的噪声。电阻R\(_{6}\)和R7决定集成块UM5101内部功放的增益,加大R\(_{6}\)或减小R7,输出功率都会增加,但失真也随之加大。由于UM5101采用MOS工艺制造,在其集成块内部不易集成中功率双极型器件,所以,UM5101外加了两只双极型的互补输出管8050(NPN)和8550(PNP)。它们可用其它型号的互补对管代替。



电路的工作原理如下所述:K\(_{1}\)至K6设定UM5101的工作状态。其中K\(_{1}\)决定UM5101内地址计数器的可寻址的存储器容量:合上为64k,断开为128k。K2设定放音速度:合上为半速放音,断开为原速。K\(_{3}\)决定A/D转换电路的采样速率:闭合时,采样速率降低一半。K4是放音次数选择开关:闭合时,每次放音均重复两遍,断开时放一遍。K\(_{5}\)是工作模式选择开关:闭合时,电路自动处于“自动录放”工作状态,断开时,处于“手动录放”工作状态。这里,分析一个典型的工作状态,令K1至K\(_{5}\)全部处于断开状态。这时,UM5101的第5、9、8、12、18脚在下拉电阻R18至R\(_{14}\)的作用下均处于低电平。相应地,UM5101可配接使用的存储器容量为128k。其放音速度与录音速度相同。采样速度较高,放音次数为一次,工作模式选在手动触发方式。接通外接电源后,三端稳压器7808、7805正常工作。这时UM5101的静态电流为数百微安,处于守候状态。如果按下录音触发按钮AN2,UM5101将进入录音工作状态,其14、15、16、28脚变为低电平,LED点亮表明可以录音;话筒负端接地,开始正常工作;BG\(_{3}\)导通,+5V电压加到UM5101和4164的VCC端,它们开始正常工作; UM5101内的功率放大器没有加上偏置电压,不工作。这时,如果对着话筒MIC讲话,话音信号经C\(_{1}\)耦合到UM5101的19脚,送到话筒放大器放大,放大后的信号一路经第20脚反馈回去,另一路在集成块内部直接送到A/D变换部分,经A/D变换后的数字信号经32脚送到存储器4164的数据输入端2脚(参见图6左下脚的M—BUS接线)。同时,UM5101内部地址发生器、控制电路等为4164提供地址和相应的控制信号。录音结束后,UM5101的14、15脚恢复高电平,LED录音指示灯熄灭,话筒断开。电路自动进入保持状态。如果此时按下放音按钮AN1,UM5101将进入放音状态,28脚输出高电平。28脚的电压经R8加到27脚,UM5101内部的功放电路得到偏置电压开始工作。在地址发生器和控制电路的作用下,4164中存储的数字信号从UM5101的第31脚读入,经D/A变换后在第30脚输出。30脚输出的微弱信号自25脚送入UM5101的功放电路,信号放大后再经BG\(_{1}\)、BG2、C\(_{9}\)送到扬声器放音。放音结束后,UM5101重新恢复到保持状态,等待下一次放音或录音。R6、R\(_{7}\)、C10组成功放的反馈网络决定功放的增益。UM5101其余的工作状态与上述工作状态类似,不再一一介绍。
图6所示应用电路在实际装配前除应认真检测元件外,还要仔细检查印刷线路板有无断裂和没腐蚀断的地方。而后,顺序焊接跳接线、集成块插座、开关、阻容元件、晶体管等,否则会焊不下。由于印刷线路板走线细密。焊接时间不宜过长并注意不要搭锡,焊后要仔细检查,否则加电后有可能损坏集成电路。检查无误后加上+10V~+24V电源。检查7808第3端电压是否为+8V。再从C\(_{3}\)向TBA820功放送入音频信号,若TBA820工作不正常,有较大失真或自激,可在其第5脚加一个0.33μ的电解电容到地,参见图6。最后,插上UM5101和4164,无需再调整即可正常工作。
UM5101功能的扩展
UM5101原设计的功能较多,用途也很广泛,但若认真地分析与实验,还可以将它的功能进一步提高和扩展。
1.UM5101第10和第11脚间的外接电阻R\(_{11}\)决定了电路的时钟振荡频率。增大R11的阻值,时钟频率将降低,反之,时钟频率将升高。但是,受外接存储器的限制,时钟频率也不能无限制地提高和降低。4164的刷新周期应该小于2ms,这个时间决定于时钟频率。频率太低,刷新周期超过2ms,会使4164的数据错乱或丢失,放音时听到的将是一片噪声。4164的读写周期依档次不同在250ns~410ns之间,也就是说,其读写速度在2MHz左右。时钟频率升高到这个数量级后也会造成读写错误。同时,时钟频率升高后,录放时间也将大大缩短。改变R\(_{11}\)的阻值可以得到慢录快放,变调录放等功能,适用于电子乐器等。笔者试用过的R11范围是47k至3M,与其对应的录放时间为1秒到10余秒。
2.UM5101第30脚只用了一个0.47μ的电解电容C\(_{2}\)对D/A转换器的输出进行平滑滤波,对放音质量有一定的影响。读者可设计复杂一点的滤波网络来代替。

3.UM5101的寻址能力很有限,最大只能管理128k比特的存储器。典型应用时,可配两片64k比特的动态存储器。所以,尽可能扩大UM5101的寻址能力是很必要的。图9是一种简单的方法,用片选信号CS1至CS\(_{4}\)来选择接入哪一片4164。当然,这种电路还无法实现连续录、放音。若要实现连续录放音,还需要一系列附属电路产生控制信号。扩大存储器时要注意:UM5101的负载能力有限,4164使用的又是TTL逻辑电平,电平允差较小,如果并接的4164较多,应考虑在UM5101的输出脚加接同相缓冲器(如4050),这些引脚是1至4脚及32至40脚。
UM5101和4164的使用注意事项
UM5101是一片集成度很高的大规模CMOS电路,内部功能单元较多,使用时应严格注意以下几点: 1.与印刷线路板连接时最好采用40脚集成电路插座。这样可以防止焊接时芯片因过热或静电而损坏。同时也有利于更换芯片。从插座上起拨芯片时,应从两端均匀用力,以免断裂或内部引线受力折断。
2.电路板调试过程中,如需焊接,应先切断电源,决不能带电操作。电烙铁也要良好接地。
3.UM5101的抗过压能力较差,尤其是开关机时由电源引入的高压脉冲。应尽可能用稳压电源供电。UM5101的第13脚V\(_{CC}\)为+5V±10%,第29脚VDD为+5V至+9V。实际使用时V\(_{DD}\)决不能超过+9V,否则UM5101很容易损坏。为尽可能地提高功放的输出功率,VDD可取+8V。
4.UM5101的管脚保护功能有限,使用中无关的引脚不要相碰或与电源线、地线短路。和其它CMOS芯片的要求一样,UM5101无用的管脚应根据其电平要求分别接到正电源或地,不能悬空。照图10那样连接转换开关是不允许的,应配置上拉或下拉电阻(如图6所示),否则开关转换过程中各输入脚会悬空并引入冲击信号,使UM5101损坏。

5.UM5101各引脚的拉或灌电流能力如下:14脚,指示灯驱动(LEDOUT)为6mA。28脚,偏置驱动(AMPDI)为5mA。15脚,话筒接地(MICG)为1.5mA。16脚,存储器供电(DRAMPD)为2.5mA。其余各引脚均为0.5mA。以上数值是最大值,使用中一旦超过,将导致集成块损坏。所以,实际设计和使用时最好再留30%的余量。

存储器4164使用时,只要电源电压正确,一般不易损坏。要考虑的主要是它的安装问题。两块16脚的4164并接使用时,除第15脚以外,其余各脚均需并联。这里,向读者推荐一种存储器4164的多片并接方法,如图11所示。先将两片(或两片以上)4164叠放在一起,并使各引脚相互对齐。而后用30W左右的烙铁迅速地将各引脚焊在一起。焊接前,烙铁要充分预热,焊接时要拔掉电源插头。两片4164的第15脚不能焊在一起,应将它们向外折弯90°,焊上引线引出,分别接到集成块UM5101的3和4脚。
UM5101的典型应用举例


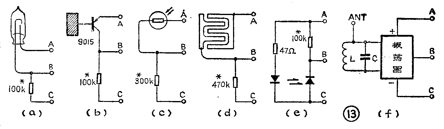
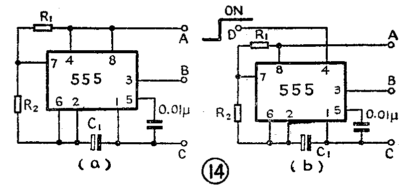
图12是UM5101应用电路的一个实例。图中元件的参数详见图6。图12中的A端接到正电源,C端接到地,B端接到UM5101的第6脚触发输入端(TRIG)。集成块的第18脚接到地,系统的工作模式便自动处于“手动录放”状态(参看上期18页)。这种电路可以广泛地用于各种报警发声的场合。图12的AB端接了一干簧管,它可用于位移报警等。例如可用于水满报警:将磁铁块固定在软木做的浮子上,图使用时先按下AN\(_{2}\),对着话筒讲一句话:“水满了,快开闸放水!”。当水位升到预定高度时,磁铁在浮子的作用下上升到干簧管旁边,干簧管接通,UM5101的6脚变为高电平,触发其进入放音状态。此时,存在4164中的数字信号经UM5101中的D/A转换器变为模拟信号,再经音频功放放大,从扬声器放出原来录进的语音报警信号。图12所示的电路还可配接其它类型的传感器。只要去掉干簧管,将图13中各传感器的A、B、C三端与图12中各端对应接好即可正常工作。图13a是双金属片式温度传感器,用日光灯启辉器中的氖珠改制。当温度达到调定温度时,金属片闭合,触发UM5101放音报警。图13b可用于触摸报警。将晶体管9015的基极接到门锁上,只要有人碰锁或用钥匙开门,B点电位将升高,触发UM5101放音报警。图13c是使用光敏电阻的光线传感器。图13d是叉指电极做成的降雨传感器,同时还可做婴儿报尿用。图13e使用了一对红外线发射和接收对管,两管拉开一定距离,一但有人或物遮断光线,B点变高,触发UM5101放音报警。图13f是一个处于临界状态的高频振荡器,当人体靠近时,吸收了振荡回路的一部分能量从而使振荡器得不到足够的正反馈停振,给出触发报警信号。在一些话语简短,重复率高的放音场合,如商贩推销商品、公共场所播放通知、注意事项等,可采用图14a所示的电路。图中的555时基电路接成典型的无稳态振荡模式。使用时先按图12中的AN2录下所要播放的内容,而后接上图14a所示电路,555时基电路每隔TW秒(其中TW≈2.1×R×C秒,取R\(_{1}\)=R2=R),便向UM51O1的放音触发端6脚送入一个脉冲,使所录内容重放一遍。这种方法比循环录音带放音等方法都简单易行。图14\(_{b}\)是图14a的改进电路,只有当555时基电路的第4脚,即图中D点为高电平时,振荡器才起振向外周期地输出触发信号。如果把这个受控的振荡器接到图12的A、B、C端口上,它会有许多用途。例如:录上一句:“现在是红灯,请您稍候。”,就可以方便地代替现今首都各主要路口使用的音乐路标笛,为盲人服务。每当人行横道是红灯的时候,令D点为高电平,UM5101系统将一遍接一遍地放音,提醒盲人不要过马路。图15所示的传感器较复杂,它只感受某一特定频带内的声频信号,例如小孩的哭声。如果录一段孩子母亲的声音:“喔、喔,好宝宝,别哭了,别哭了。”一旦孩子哭叫,UM5101受触发自动放出母亲的声音。


最后,简单地介绍一台使用UM5101的自动应答式录音电话。一般的应答式录音电话都需要使用双卡录音机和特制的循环磁带,有电话打入时,一卡自动循环播放主人事先录好的内容,另一卡记录对方的讲话。使用集成电路UM5101制成的应答式录音电话很简单,它无需对电话机和录音机做任何改装,其电路如图16所示。平时,继电器J\(_{1}\)释放,其触点断开,电话机不接入市话网。这时,将电话听筒摘下,放在UM5101系统的扬声器和录音机的外接话筒上。扬声器对准听筒的送话器,录音机外接话筒(最好是磁波话筒)对准听筒的受话器。使用时,先按下UM5101系统的录音键,在系统中录两句话,如:“这是录音电话,主人外出,请您讲3分钟。”当有电话打进来时,振铃信号经整流、滤波后加到光电耦合器,光电耦合器的输出再分别触发由555时基电路组成的单稳、晶体管延时电路和UM5101系统。这时,继电器J1吸合,电话机经J\(_{1}\)的接点与外线接通,UM5101系统开始自动播放主人录下的话音。所录内容放完后,UM5101系统自动变成保持状态,停止放音。晶体管延时电路此时开始工作,J2吸合,录音机启动,开始记录对方的讲话。时间到4分钟以后,555单稳动作,继电器J\(_{1}\)和J2均释放,录音机自动停止录音,电话也挂断,等待下一次呼叫。

数字语音集成电路是现代高技术的产物,是语音录放技术的发展方向,我们期待着广大读者去应用和开发。(赵九泷)