本文向大家介绍一种具有双工性能的有线对讲电话,该电路用1.5伏低电压供电,具有耗电省、成本低、灵敏度较高的特点。甲、乙双方之间相距30米, 仍能正常通话。此对讲电话适合家庭中使用。例如,父母与孩子不住在同一个单元时,可以用它来进行联络。
电路简介
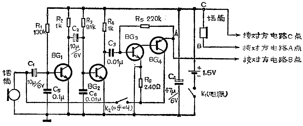
对讲电话电路见图1。它是由具有较高灵敏度的音频放大器以及多谐振荡器组成。需要呼叫对方时,按下开关K\(_{2}\),电路中就有高幅度的振荡信号输出,产生有一定响度的呼叫声。当K2断开后,整个电路恢复成两级共射放大器和一级复合管放大器组成的放大电路。在前两级共射极放大器中,加装电容C\(_{5}\)、C6是起滤波作用,以减少杂音干扰。图1为对讲电话一方的电路,另一方的电路与之完全相同,这里省略没画。

元件选择与调试
电路中主要元件是话筒与听筒,一般采用普通电话用的话筒与听筒,直流电阻约为100欧左右。晶体管BG\(_{1}\)、BG2、BG\(_{3}\)采用3DG6、3DG4等NPN型硅管,BG4采用3AX21、3AX31等PNP型锗管,各级晶体管要求β≥50,对其它元器件无特殊要求。K\(_{2}\)最好用按钮开关。在安装时,C5、C\(_{6}\)的连线应尽量短,最好直接焊在晶体管基极与地之间,连线越短越好,否则易产生杂音干扰。电路安装完毕后,可分别调整R1、R\(_{3}\)、R5,使各级静态电流分别为0.3mA、0.4mA、0.8mA左右,若想改变呼叫频率,可适当调整C\(_{3}\),使其达到呼叫声悦耳为佳。(朱培永)